TOP
|
特許
|
意匠
|
商標
特許ウォッチ
Twitter
他の特許を見る
公開番号
2025168612
公報種別
公開特許公報(A)
公開日
2025-11-10
出願番号
2025107517,2023202514
出願日
2025-06-25,2019-09-06
発明の名称
オーディオ分類を介した動的な音量調整のためのコンピュータ可読媒体、コンピュータにより実施される方法及びコンピューティングデバイス
出願人
グレースノート インコーポレイテッド
代理人
個人
,
個人
,
個人
主分類
H03G
3/20 20060101AFI20251031BHJP(基本電子回路)
要約
【課題】オーディオ信号の分類とリアルタイムの入力オーディオ測定値との組み合わせを利用して、オーディオ信号に適用可能な目標ゲイン値を特定する方法、装置、システム、及び製造品を提供する。
【解決手段】方法は、ニューラルネットワークを使用して第1の音量レベルに関連するオーディオ信号のパラメータを分析してオーディオ信号に関連付けられる分類グループを特定するステップ(406)と、オーディオ信号の入力音量を特定するステップ(408)と、オーディオ信号にゲイン値を適用するステップであって、ゲイン値により第1の音量レベルが第2の音量レベルに修正されるステップ(414)と、オーディオ信号に圧縮値を適用するステップであって、圧縮値により第2の音量レベルが目標音量閾値を満たす第3の音量レベルに修正されるステップ(416)と、を含む。
【選択図】図4
特許請求の範囲
【請求項1】
命令が記憶されている非一時的コンピュータ可読媒体であって、前記命令が、実行された場合に、1つ又は複数のプロセッサに、
ニューラルネットワークを使用して、第1の音量レベルに関連するオーディオ信号のパラメータを分析して、前記オーディオ信号に関連付けられる分類グループを特定することと、
前記オーディオ信号の入力音量を特定することと、
前記分類グループ及び前記入力音量を特定することに応答して、前記オーディオ信号にゲイン値を適用することであって、前記ゲイン値により、前記第1の音量レベルが第2の音量レベルに修正される、適用することと、
前記オーディオ信号に圧縮値を適用することであって、前記圧縮値により、前記第2の音量レベルが、目標音量閾値を満たす第3の音量レベルに修正される、適用することと、
を含む動作のセットを行わせる、非一時的コンピュータ可読媒体。
続きを表示(約 1,600 文字)
【請求項2】
前記オーディオ信号に圧縮値を適用することが、
(i)前記ゲイン値が増加する場合、圧縮値を減少させること、及び
(ii)前記ゲイン値が減少する場合、圧縮値を増加させること、
をさらに含む、請求項1に記載のコンピュータ可読媒体。
【請求項3】
前記動作のセットは、
前記入力オーディオ信号のソースが変化したかを判定すること、
をさらに含む、請求項1に記載の非一時的コンピュータ可読媒体。
【請求項4】
前記入力オーディオ信号の前記ソースが変化したかを判定することが、
(1)前記入力オーディオ信号に関連付けられた現在の圧縮器ゲインと、前記入力オーディオ信号に関連付けられた以前の圧縮器ゲインとの比較、
(2)前記入力オーディオ信号に関連付けられたRMSパワーと、前記入力オーディオ信号に関連付けられた以前のRMSパワーとの比較、及び
(3)前記入力オーディオ信号に関連付けられた現在のオーディオサンプル値と、前記入力オーディオ信号に関連付けられた以前のオーディオサンプル値との比較、
のうちの少なくとも1つに基づく、請求項3に記載の非一時的コンピュータ可読媒体。
【請求項5】
前記分類グループが、
(1)前記入力オーディオ信号によって表される音楽のジャンル、
(2)前記入力オーディオ信号によって表される音楽の期間、及び
(3)前記入力オーディオ信号によって表される音楽における楽器の有無、
のうちの少なくとも1つを含む、請求項1に記載の非一時的コンピュータ可読媒体。
【請求項6】
前記動作のセットが、前記分類グループ及び前記入力音量に基づき分類ゲイン値を特定すること
をさらに含む、請求項1に記載の非一時的コンピュータ可読媒体。
【請求項7】
前記動作のセットが、前記入力音量と前記分類ゲイン値との間の目標ゲイン値を特定することであって、前記目標ゲイン値は、前記入力音量と前記分類ゲイン値に1つ又は複数の重みを適用することによって決定される、特定すること
をさらに含む、請求項6に記載の非一時的コンピュータ可読媒体。
【請求項8】
前記目標ゲイン値は、前記入力音量に第1の重みを適用し、前記分類ゲイン値に第2の重みを適用することによって決定される、請求項7に記載の非一時的コンピュータ可読媒体。
【請求項9】
音量調整のためにコンピュータにより実施される方法であって、
ニューラルネットワークを使用して、第1の音量レベルに関連するオーディオ信号のパラメータを分析して、前記オーディオ信号に関連付けられる分類グループを特定するステップと、
前記オーディオ信号の入力音量を特定するステップと、
前記分類グループ及び前記入力音量を特定するステップに応答して
、前記オーディオ信号にゲイン値を適用するステップであって、前記ゲイン値により、前記第1の音量レベルが第2の音量レベルに修正される、適用するステップと、
前記オーディオ信号に圧縮値を適用するステップであって、前記圧縮値により、前記第2の音量レベルが、目標音量閾値を満たす第3の音量レベルに修正される、適用するステップと、
を含む、方法。
【請求項10】
前記オーディオ信号に圧縮値を適用するステップが、
(i)前記ゲイン値が増加する場合、圧縮値を減少させること、及び
(ii)前記ゲイン値が減少する場合、圧縮値を増加させること、
をさらに含む、請求項9に記載の方法。
(【請求項11】以降は省略されています)
発明の詳細な説明
【関連出願】
【0001】
[0001]本特許は、2018年9月7日に出願された米国特許仮出願第62/728,677号、及び2018年10月12日に出願された米国特許仮出願第62/745,148号の優先権及び利益を主張する。米国特許仮出願第62/702,734号及び米国特許仮出願第62/745,148号は、その全体が引用により本明細書に組み込まれている。
続きを表示(約 1,400 文字)
【開示の分野】
【0002】
[0002]本開示は一般には音量調整に関し、より詳細には、オーディオ分類を介した動的な音量調整のための方法及び装置に関する。
【背景】
【0003】
[0003]近年、様々な特性の多数のメディアが、ますます増加するチャネルを使用して配信されている。これらのメディアは、より従来型のチャネル(たとえば、ラジオ)を使用して、又はより最近開発されたチャネルを使用して、たとえば、インターネットに接続されたストリーミングデバイスを使用するなどして、受信することができる。これらのチャネルが発展するにつれて、複数のソースからの音響(audio、オーディオ)を処理して出力することが可能なシステムも開発されている。たとえば、一部の自動車メディアシステムは、コンパクトディスク(CD)、ブルートゥース(登録商標)接続デバイス、ユニバーサルシリアルバス(USB)接続デバイス、Wi-Fi接続デバイス、補助入力、及び他のソースからメディアを配信することが可能である。
【図面の簡単な説明】
【0004】
[0004]図1は、オーディオ分類を介した動的な音量調整のための本開示の教示に従って構築された例示的なシステムの概略図である。
【0005】
[0005]図2は、図1のメディアユニットのさらなる詳細を示すブロック図である。
【0006】
[0006]図3は、図1及び図2のメディアユニットが使用するための訓練されたモデルを提供することが可能なオーディオ分類エンジンを示すブロック図である。
【0007】
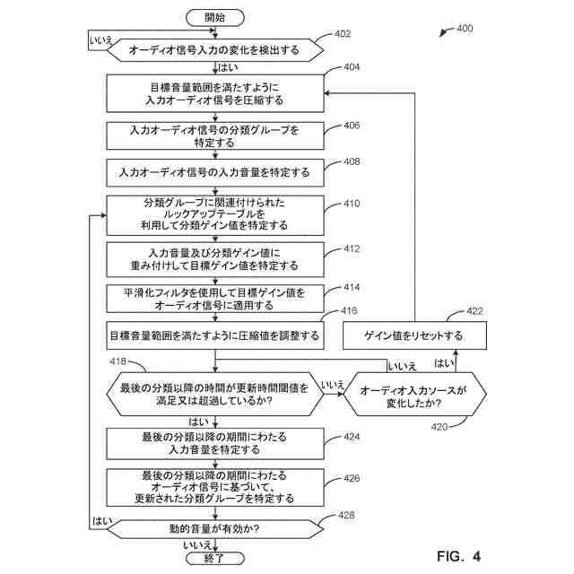
[0007]図4は、図1及び図2のメディアユニット106を実装してオーディオ分類を介した動的な音量調整を実行するために使用することができる例示的な機械可読命令を表すフローチャートである。
[0007]図5は、図1及び図2のメディアユニット106を実装してオーディオ分類を介した動的な音量調整を実行するために使用することができる例示的な機械可読命令を表すフローチャートである。
【0008】
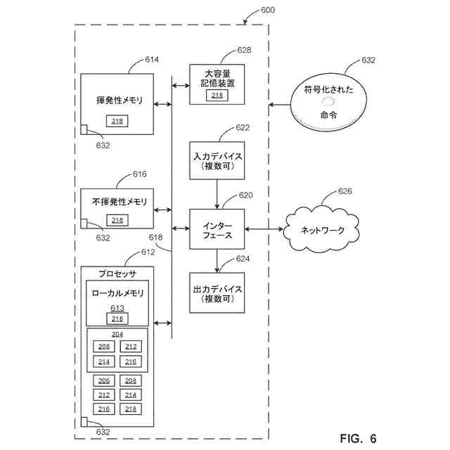
[0008]図6は、図4及び図5の命令を実行して図1及び図2の例示的なメディアユニット106を実装することができる例示的なプロセッサプラットフォームの概略図である。
【0009】
[0009]図は縮尺通りではない。図面(複数可)及び添付の明細書全体を通して、同一又は同様の部分を参照するために、可能な限り同じ参照番号を使用する。
【詳細な説明】
【0010】
[0010]従来のオーディオメディアの実装では、異なるメディアに関連付けられたオーディオ信号は、異なる音量を有する場合がある。たとえば、あるCDのメディアは、他のCDのメディアとは大幅に異なる音量で録音及び/又はマスタリングされる場合がある。同様に、ストリーミングデバイスから取得されるメディアは、異なるデバイスから取得されるメディア、又は同じデバイスから異なるアプリケーションを介して取得されるメディアとは大幅に異なる音量レベルを有する場合がある。ユーザがますます様々な異なるソースからのメディアを聞くようになると、ソース間及び同じソースのメディア間の音量レベルの違いが非常に顕著になり、聴取者を苛立たせる可能性がある。
(【0011】以降は省略されています)
この特許をJ-PlatPat(特許庁公式サイト)で参照する
関連特許
エイブリック株式会社
増幅器
1か月前
エイブリック株式会社
増幅器
1か月前
エイブリック株式会社
増幅回路
1か月前
日本電波工業株式会社
水晶振動子
3日前
日本電波工業株式会社
圧電振動片
1か月前
株式会社大真空
圧電振動デバイス
3か月前
エイブリック株式会社
電圧検出器
2か月前
日本電波工業株式会社
圧電デバイス
3か月前
ローム株式会社
オペアンプ
3か月前
ローム株式会社
オペアンプ
3か月前
ローム株式会社
オペアンプ
3か月前
株式会社トーキン
ノイズフィルタ
2か月前
株式会社半導体エネルギー研究所
駆動回路
1か月前
台灣晶技股ふん有限公司
水晶発振器
11日前
株式会社大真空
恒温槽型圧電発振器
3か月前
三菱電機株式会社
半導体装置
3か月前
株式会社村田製作所
増幅回路
2か月前
個人
誤り訂正装置及び誤り訂正方法
2か月前
ローム株式会社
半導体集積回路
3か月前
TDK株式会社
電子部品
1か月前
ローム株式会社
半導体集積回路
3か月前
ローム株式会社
オペアンプ回路
3か月前
ローム株式会社
オペアンプ回路
3か月前
ローム株式会社
オペアンプ回路
3か月前
株式会社村田製作所
高周波回路
2か月前
ローム株式会社
半導体集積回路
2か月前
TDK株式会社
電子部品
1か月前
台灣晶技股ふん有限公司
水晶発振素子
11日前
ローム株式会社
自己診断システム
20日前
株式会社村田製作所
弾性波フィルタ
1か月前
三菱電機株式会社
高周波増幅器モジュール
14日前
住友電気工業株式会社
高周波増幅器
1か月前
国立大学法人東北大学
弾性表面波デバイス
3日前
京セラ株式会社
弾性波装置、分波器及び通信装置
3か月前
ローム株式会社
A/Dコンバータ回路
2か月前
日清紡マイクロデバイス株式会社
演算増幅器
1か月前
続きを見る
他の特許を見る