TOP
|
特許
|
意匠
|
商標
特許ウォッチ
Twitter
他の特許を見る
10個以上の画像は省略されています。
公開番号
2025163403
公報種別
公開特許公報(A)
公開日
2025-10-29
出願番号
2024066598
出願日
2024-04-17
発明の名称
構築物の出入り用開口部構成装置
出願人
山金工業株式会社
代理人
個人
主分類
E06B
1/60 20060101AFI20251022BHJP(戸,窓,シャッタまたはローラブラインド一般;はしご)
要約
【課題】生産性向上と施工性向上を図り得る構築物の出入り用開口部構成装置を提供する。
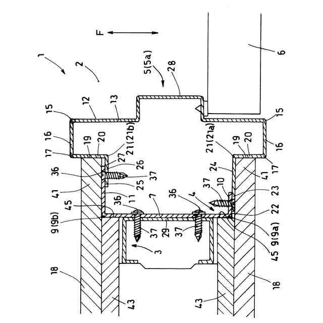
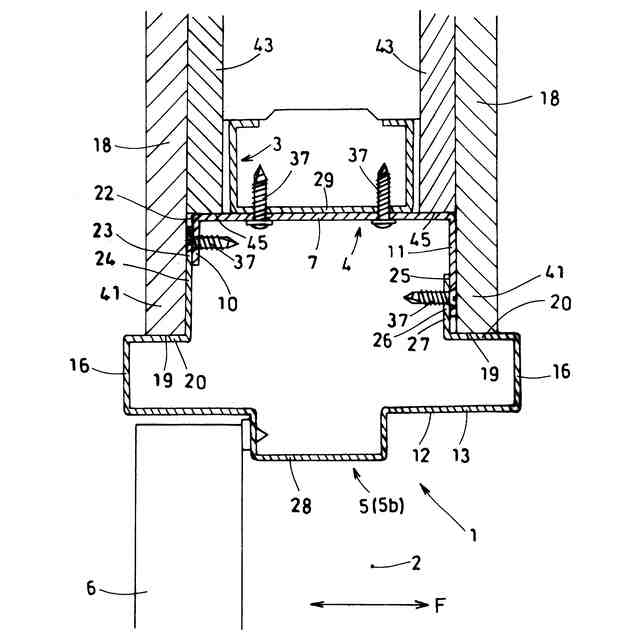
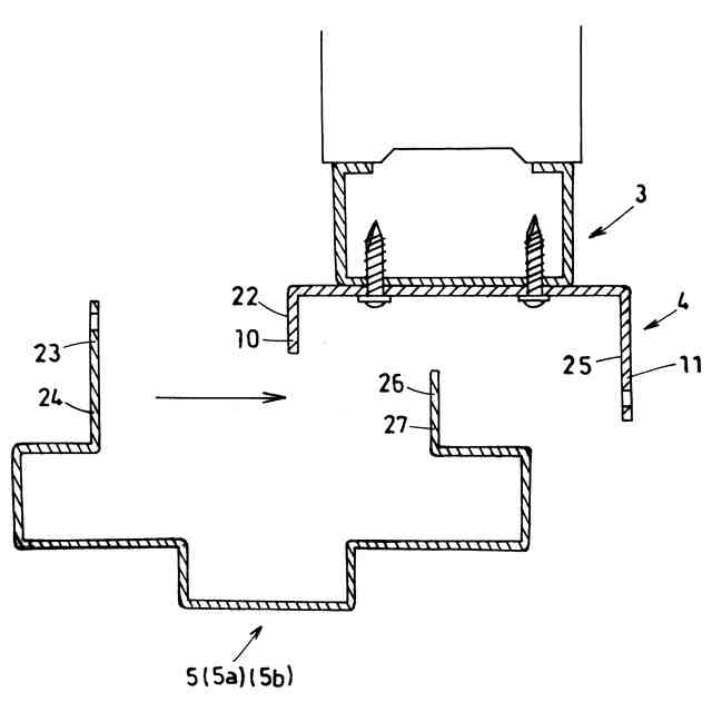
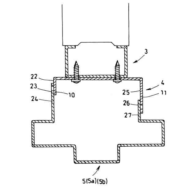
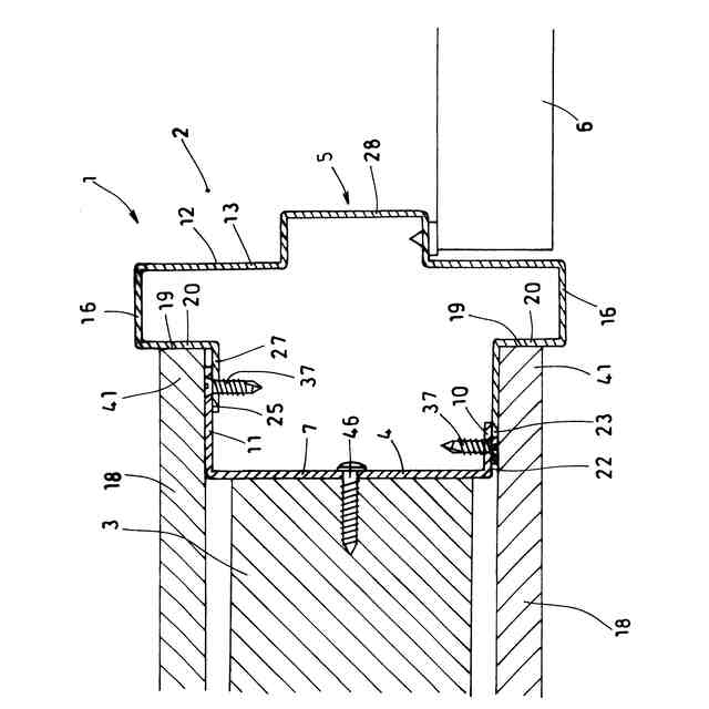
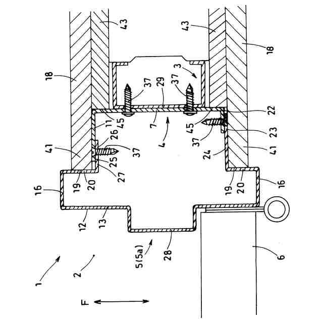
【解決手段】出入り用開口部2の下地材3にビス固定される下地部材4と、下地部材4にビス固定される枠部材5を備え、下地部材4と枠部材5は、1枚の金属板を折曲してなる。下地部材4は、下地材3にビス固定される基片7の両側縁に、小長さ第1連結片10と大長さ第1連結片11が突設されている。枠部材5は、枠部材本体13の両側縁に折曲形成された側片16,16の先端縁に内方片20,20が折曲形成され、内方片の先端縁に大長さ第2連結片24と小長さ第2連結片27が折曲形成されている。大長さ第2連結片24の先端側の部分が小長さ第1連結片10の外面に重なり、大長さ第1連結片11の内面に小長さ第2連結片27の先端側の部分が重なる。
【選択図】図2
特許請求の範囲
【請求項1】
構築物の出入り用開口部を構成する構築物の出入り用開口部構成装置であって、
前記出入り用開口部の下地材にビス固定される下地部材と、該下地部材にビス固定される枠部材とを具備し、
前記下地部材は、1枚の金属板を折曲して、同一断面形状で直線状に延長するように構成されており、前記下地材にビス固定される基片の、前記出入り用開口部の出入り方向で見た両側縁の一方の側縁に、前記出入り用開口部側に向けて突出する、突出長さの小なる小長さ第1連結片が設けられ、他方の側縁に、突出長さの大なる大長さ第1連結片が突設されており、
前記枠部材は、1枚の金属板を折曲して、同一断面形状で直線状に延長するように構成されており、
前記出入り用開口部の内側面部を形成する枠部材本体の、前記出入り用開口部の出入り方向で見た両側縁の夫々に、前記下地部材に向けて突出する等長さの側片が折曲形成され、
夫々の該側片の先端縁に、向き合う方向に突出し且つ壁ボードの先端面に当接し得る内方片が等長さで折曲形成され、
両該内方片の先端縁の一方に、前記小長さ第1連結片の外面に先端側の部分で重なる、突出長さの大なる大長さ第2連結片が折曲形成され、その他方に、前記大長さ第1連結片の内面に先端側の部分で重なる、突出長さの小なる小長さ第2連結片が折曲形成され、該小長さ第1連結片と該大長さ第2連結片との重なり部分、及び、該大長さ第1連結片と該小長さ第2連結片との重なり部分が、夫々ビス固定されることを特徴とする構築物の出入り用開口部構成装置。
発明の詳細な説明
【技術分野】
【0001】
本発明は構築物の出入り用開口部構成装置に関するものである。
続きを表示(約 2,000 文字)
【背景技術】
【0002】
建物躯体の開口部を構成する際における枠材の固定構造の一例として、特許文献1が開示する構造が提供されている。以下の背景技術の説明において、図番、符号及び段落番号は、特許文献1に記載されているものである。
【0003】
該構造は、下地材21を介して建物駆体の開口部に鋼板製の枠体を装着するときの枠材11の固定構造であり、下地材21の枠材11側の側面に固定する一対の取付材22a,22aと、下地材21に向けて突出するように形成する枠材の固定リブ11aと、枠材11の下地材21側の開口部分を所定ピッチごとに横切る複数の固定板12にそれぞれ対応する接続プレート23とを備えている。前記固定リブ11aは、前記取付材の一方にねじ止めし、前記各接続プレート23は、対応の前記固定板12に係止させると共に前記取付材の他方にねじ止めするように構成されている。
【0004】
前記枠材11は、前記開口部の内側面部を形成するものであり、該枠材11の一端側の部分をなす前記固定リブは、前記下地材21に向けて折曲形成された固定リブを有し、或いは、別体のアングル材を組み合わせて形成された固定リブを有している。そして、該固定リブを前記取付材の一方に直接ねじ止めするように構成されている。
【0005】
これに対して、前記枠材11の他端側の部分は、これを前記取付材の他方に直接ねじ止めすることとはせず、前記固定板12と、該固定板12にそれぞれ対応する前記接続プレート23とを用い、対応の前記固定板12に係止された前記接続プレート23を前記取付材の他方にねじ止めするように構成されている。
【0006】
そのため、特許文献1に係る前記構成の構造によるときには以下のような問題があった。
(1) 前記枠材11の他端側の部分を、前記取付材の他方に直接ねじ止めすることとはせず、前記固定板12に係止された前記接続プレート23を前記取付材にねじ止めすることとしていた。
そのため、特許文献1の構造によるときは、前記固定板12を、前記枠材11に所定ピッチで横切るように装着しなければならない( 段落0018)ことに加え、対応の該固定板12に前記接続プレート23を係止させる作業を要した。この係止は図5に示すように、対応の固定板12の側端部の所要部位を、該接続プレート23に設けられている係止溝23b(図4)の最深部にまで侵入させて係止させるという、位置合わせ作業と進入・係止作業を要するものであった。(段落0022)。そしてその後に、該接続プレート23を取付板の他方にねじ止めする作業を要した。
かかることから、特許文献1の構造を、例えば間仕切りの出入り用開口部構成のために用いた場合は、前記したように、前記固定板12を前記枠材11の延長方向に所要間隔を置いて複数段(例えば5~6段)に、例えば450mm以下の所要ピッチで溶接しなければならず、且つ、前記接続プレート23の精度のよい位置合わせ作業及び係止作業を要したことから、前記枠材11の他端側の部分を前記取付材の他方にねじ止めするのに多くの手間を要し、現場での作業性が悪い問題があった。又、前記接続プレート23が精度よく位置合わせされずに、前記枠材11の垂直精度や水平精度が狂い易い問題もあった。
【0007】
(2) 又、前記固定板12に前記接続プレート23を係止させる作業を、前記のように、前記固定板12の側端部の所要部位を前記接続プレート23の係止溝23bに侵入させて行う場合は、例えば地震振動によって該係止が緩む恐れがあり出入り用開口部の強度を不安定化させる恐れがあった。
【0008】
(3) 又、特許文献1に係る前記構成の構造によるときには、前記枠材11の他に、少なくとも前記固定板12と前記接続プレート23を要し、部材点数が多かった。そのため、各部材毎の金型製作を要し、又多くの製造手間を要して製造コストの上昇を招く問題があった。又施工現場においては、部材点数が多く、その取扱いに手間を要する問題があった。
【0009】
(4) 加えて、前記出入り用開口部の構成に際しては、特許文献1の図1に示すように、下地材21の前後両面に壁材が装着されるものであるが、前記のように、該壁材の縁部分を裏側から支持する役割も果たす前記接続プレート23は、前記枠材11の長さ方向の全長に亘って装着されてはおらず、その長さ方向に所定ピッチで装着されている。そのため、隣り合う接続プレート23,23間においては該壁材の縁部分が支持されないことになるので、該縁部分の該支持が不安定化する問題があった。
【先行技術文献】
【特許文献】
【0010】
特開2014-218839
【発明の概要】
【発明が解決しようとする課題】
(【0011】以降は省略されています)
この特許をJ-PlatPat(特許庁公式サイト)で参照する
関連特許
山金工業株式会社
構築物の出入り用開口部構成装置
1か月前
株式会社ナカオ
作業台
2か月前
中国電力株式会社
脚立
3か月前
株式会社ニチベイ
遮蔽装置
1か月前
三協立山株式会社
開口部装置
2か月前
三協立山株式会社
開口部装置
2か月前
三協立山株式会社
開口部装置
3か月前
三協立山株式会社
開口部建材
24日前
三協立山株式会社
開口部建材
24日前
三協立山株式会社
開口部装置
1か月前
三協立山株式会社
開口部装置
3か月前
三協立山株式会社
開口部装置
3か月前
ミサワホーム株式会社
水切り材
3か月前
豊田合成株式会社
調光装置
1か月前
文化シヤッター株式会社
止水装置
1か月前
不二サッシ株式会社
引違いサッシ
1か月前
豊田合成株式会社
調光装置
23日前
文化シヤッター株式会社
引戸装置
1か月前
不二サッシ株式会社
引違いサッシ
2か月前
三協立山株式会社
サッシの製造方法
2か月前
株式会社LIXIL
太陽電池ガラス
2か月前
株式会社LIXIL
建具
2か月前
株式会社LIXIL
建具
1か月前
株式会社LIXIL
建具
1か月前
株式会社LIXIL
建具
1か月前
株式会社LIXIL
建具
1か月前
株式会社LIXIL
建具
1か月前
株式会社LIXIL
建具
1か月前
株式会社LIXIL
建具
2か月前
株式会社LIXIL
建具
1か月前
株式会社LIXIL
建具
1か月前
倉敷紡績株式会社
外構ユニット
1か月前
株式会社LIXIL
建具
3か月前
株式会社LIXIL
建具
3か月前
株式会社LIXIL
建具
3か月前
株式会社LIXIL
建具
3か月前
続きを見る
他の特許を見る