TOP
|
特許
|
意匠
|
商標
特許ウォッチ
Twitter
他の特許を見る
10個以上の画像は省略されています。
公開番号
2025163141
公報種別
公開特許公報(A)
公開日
2025-10-28
出願番号
2025128835,2023505637
出願日
2025-07-31,2022-03-10
発明の名称
無機物溶液の製造方法、及び、無機物溶液の製造装置
出願人
国立研究開発法人量子科学技術研究開発機構
代理人
弁理士法人 HARAKENZO WORLD PATENT & TRADEMARK
主分類
C22B
35/00 20060101AFI20251021BHJP(冶金;鉄または非鉄合金;合金の処理または非鉄金属の処理)
要約
【課題】塩基性溶液及び酸性溶液の何れに対しても溶解しにくい無機物の溶液製造方法を提供する。
【解決手段】エネルギー効率が高い新規な製造方法を提供するために、無機物溶液の製造方法(BeCl
2
溶液の製造方法M10)は、無機物の粉末と、水酸化物とを混合した粉末状混合物を誘電加熱することによって、前記無機物を含む液状混合物を得る加熱工程(S13)を含んでいる。
【選択図】図1
特許請求の範囲
【請求項1】
ベリリウム及びリチウムの少なくとも何れかを含んでいる無機物の粉末と、水酸化ナトリウム及び水酸化カリウムの少なくとも何れかである水酸化物とを混合した第1の混合物を誘電加熱する加熱工程と、
前記加熱工程において得られた第2の混合物を常温下で塩酸溶液、硫酸溶液、硝酸溶液、又は水に溶解させることによって、前記無機物の溶液を得る溶解工程と、を含んでいる、
ことを特徴とする無機物溶液の製造方法。
続きを表示(約 840 文字)
【請求項2】
前記加熱工程は、常圧下において前記第1の混合物を誘電加熱する工程である、
ことを特徴とする請求項1に記載の無機物溶液の製造方法。
【請求項3】
前記加熱工程における加熱温度は、前記水酸化物の融点以下である、
ことを特徴とする請求項1又は2に記載の無機物溶液の製造方法。
【請求項4】
ベリリウム及びリチウムの少なくとも何れかを含んでいる無機物の粉末と、水酸化ナトリウム及び水酸化カリウムの少なくとも何れかである水酸化物とを混合することによって、第1の混合物を得る混合部と、
前記第1の混合物を収容する容器と、
前記容器内の前記第1の混合物を誘電加熱して、第2の混合物を得るための電磁波を発生させる電磁波発生部と、
前記容器内に塩酸溶液、硫酸溶液、硝酸溶液、又は水を供給して、前記容器内の前記第2の混合物を常温下で溶解させ、前記無機物の溶液を得るための液体供給部と、を備えている、
ことを特徴とする無機物溶液の製造装置。
【請求項5】
前記電磁波発生部と前記容器との間に介在し、前記電磁波を前記電磁波発生部から前記容器に導波する導波管と、
前記導波管の中途区間に設けられたアイソレータであって、前記容器から前記電磁波発生部に向かって伝搬する電磁波を吸収するアイソレータと、を更に備えている、
ことを特徴とする請求項4に記載の無機物溶液の製造装置。
【請求項6】
前記容器内の温度を測定する温度計と、
前記電磁波発生部の出力を制御する制御部と、を更に備え、
前記温度計は、前記第1の混合物の温度を表す温度信号を前記制御部に出力し、
前記制御部は、前記第1の混合物の温度が前記水酸化物の融点以下になるように、前記電磁波発生部の出力を制御する、
ことを特徴とする請求項4又は5に記載の無機物溶液の製造装置。
発明の詳細な説明
【技術分野】
【0001】
本発明は、無機物の溶液を製造する製造方法及び製造装置に関する。
続きを表示(約 1,300 文字)
【背景技術】
【0002】
ベリリウムは、Be-Si-O系の鉱石、及び、Be-Si-Al-O系の鉱石に含まれていることが知られている。Be-Si-O系の鉱石の例としては、ベルトランダイト及びフェナサイトが挙げられ、Be-Si-Al-O系の鉱石の例としては、ベリル及びクリソベリルが挙げられる。以下では、これらのようにベリリウムを含有する鉱石をベリリウム鉱石と呼ぶ。また、ベリリウム鉱石は、ベリリウム酸化物の一例である。
【0003】
ベリリウム、ベリリウムを含む化合物、及び、ベリリウムを含む合金の何れかを製造する場合、まず、ベリリウム鉱石を溶媒に溶解させることによりベリリウム鉱石からベリリウムを抽出する。しかしながら、ベリリウム鉱石を溶媒に溶解させることは容易ではない。ベリリウム鉱石を溶かしやすい溶媒としては、硫酸などの酸性溶液が知られているが、ベリリウム鉱石は、酸性溶液に対しても溶解しにくい。
【0004】
そのため、非特許文献1には、ベリリウム鉱石に対して焼結処理又は溶融処理などの前処理を施すことによって、ベリリウム鉱石を溶媒に溶解させることができると記載されている。
【先行技術文献】
【非特許文献】
【0005】
"Beryllium"、[online]、Wikipedia、[令和1年6月25日検索]、インターネット〈URL:https://en.wikipedia.org/wiki/Beryllium〉
【発明の概要】
【発明が解決しようとする課題】
【0006】
しかしながら、ベリリウム鉱石を溶媒に溶解させるための前処理には、とても大きなエネルギーを要する。非特許文献1の"Production"の項目によれば、焼結処理を施す場合の温度は、例えば770℃であり、溶融処理を施す場合の温度は、例えば1650℃である。
【0007】
本発明の一態様に係る発明は、上述した課題に鑑みなされたものであり、その目的は、例えばベリリウム鉱石のように塩基性溶液及び酸性溶液の何れに対しても溶解しにくい無機物の溶液を製造する製造方法であって、エネルギー効率が高い新規な製造方法を提供することである。
【課題を解決するための手段】
【0008】
上記の課題を解決するために、本発明の第1の態様に係る無機物溶液の製造方法は、無機物の粉末と、水酸化物とを混合した粉末状混合物を誘電加熱することによって、前記無機物を含む液状混合物を得る加熱工程を含んでいる。
【0009】
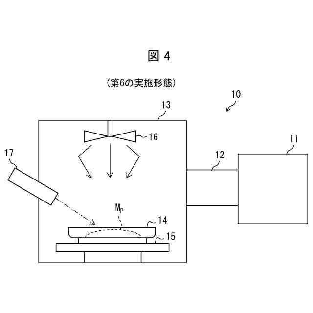
上記の課題を解決するために、本発明の第6の態様に係る無機物溶液の製造装置は、無機物の粉末と、水酸化物とを混合することによって、無機物及び水酸化物の粉末状混合物を得る混合部と、前記粉末状混合物を収容する容器と、誘電加熱するための電磁波を発生させる電磁波発生部と、を備えている。
【発明の効果】
【0010】
本発明の一態様によれば、例えばベリリウム鉱石のように塩基性溶液及び酸性溶液の何れに対しても溶解しにくい無機物の溶液を製造することができる。
【図面の簡単な説明】
(【0011】以降は省略されています)
この特許をJ-PlatPat(特許庁公式サイト)で参照する
関連特許
個人
銅鉄合金の製造
3か月前
株式会社プロテリアル
焼結体
9か月前
個人
高強度せん断補強筋用の鋼材
7か月前
宏幸株式会社
金属回収方法
7か月前
株式会社神戸製鋼所
鋼材
6か月前
JX金属株式会社
鉛の回収方法
1か月前
JX金属株式会社
鉛の回収方法
1か月前
古河電気工業株式会社
銅線
1か月前
株式会社神戸製鋼所
銅合金
13日前
三菱マテリアル株式会社
切削工具
1か月前
株式会社クボタ
比重分離装置
7か月前
株式会社クボタ
比重分離装置
7か月前
株式会社クボタ
比重分離装置
7か月前
株式会社神戸製鋼所
銅合金板
2か月前
日本製鉄株式会社
鋼材
7か月前
日本製鉄株式会社
鋼材
3か月前
住友金属鉱山株式会社
金属の抽出方法
1か月前
日本製鉄株式会社
鋼材
7か月前
日本製鉄株式会社
鋼材
3か月前
日本製鉄株式会社
鋼材
3か月前
日本製鉄株式会社
鋼材
3か月前
日本製鉄株式会社
鋼線
4か月前
株式会社神戸製鋼所
ボルト用鋼
1か月前
日本製鉄株式会社
鋼材
3か月前
日本製鉄株式会社
鋼材
7か月前
日本製鉄株式会社
線材
4か月前
日本製鉄株式会社
鋼材
5か月前
日本製鉄株式会社
鋼材
7か月前
日本製鉄株式会社
ボルト
2か月前
株式会社神戸製鋼所
浸炭窒化鋼材
1か月前
日本製鉄株式会社
鋼部品
1か月前
大同特殊鋼株式会社
鋼材及び金型
3か月前
日本製鉄株式会社
ボルト
1か月前
日本製鉄株式会社
鋼部品
1か月前
大同メタル工業株式会社
摺動材料
3か月前
日本製鉄株式会社
鋼材
9か月前
続きを見る
他の特許を見る