TOP
|
特許
|
意匠
|
商標
特許ウォッチ
Twitter
他の特許を見る
10個以上の画像は省略されています。
公開番号
2025162359
公報種別
公開特許公報(A)
公開日
2025-10-27
出願番号
2024065614
出願日
2024-04-15
発明の名称
光電変換装置および機器
出願人
キヤノン株式会社
代理人
弁理士法人大塚国際特許事務所
主分類
H04N
25/79 20230101AFI20251020BHJP(電気通信技術)
要約
【課題】グローバル電子シャッタ機能を実現しつつ、撮像性能の向上に有利な技術を提供する。
【解決手段】複数の画素と前記複数の画素から読み出される信号を処理する処理回路とを備え、複数の半導体基板が積層され、各画素は、光電変換素子と前記光電変換素子からの信号を増幅する増幅部と前記増幅部の出力を保持する保持容量とを含み、前記増幅部を動作させるためのバイアス電位を前記増幅部に供給するバイアス生成部をさらに備え、前記複数の半導体基板は、前記光電変換素子が配された第1半導体基板と、前記保持容量が配された第2半導体基板と、前記処理回路が配された第3半導体基板と、を含み、前記第1半導体基板と前記第3半導体基板との間に前記第2半導体基板が配され、前記増幅部は、前記第1半導体基板に配された素子および前記第2半導体基板に配された素子を含み、前記バイアス生成部は、前記第3半導体基板に配されている。
【選択図】図20
特許請求の範囲
【請求項1】
複数の画素と前記複数の画素から読み出される信号を処理する処理回路とを備え、複数の半導体基板が積層された光電変換装置であって、
前記複数の画素のそれぞれは、光電変換素子と、前記光電変換素子からの信号を増幅する増幅部と、前記増幅部の出力を保持する保持容量と、を含み、
前記光電変換装置は、前記増幅部を動作させるためのバイアス電位を前記増幅部に供給するバイアス生成部をさらに備え、
前記複数の半導体基板は、前記光電変換素子が配された第1半導体基板と、前記保持容量が配された第2半導体基板と、前記処理回路が配された第3半導体基板と、を含み、前記第1半導体基板と前記第3半導体基板との間に前記第2半導体基板が配され、
前記増幅部は、前記第1半導体基板に配された素子および前記第2半導体基板に配された素子を含み、
前記バイアス生成部は、前記第3半導体基板に配されていることを特徴とする光電変換装置。
続きを表示(約 1,800 文字)
【請求項2】
複数の画素と前記複数の画素から読み出される信号を処理する処理回路とを備え、複数の半導体基板が積層された光電変換装置であって、
前記複数の画素のそれぞれは、光電変換素子と、前記光電変換素子からの信号を増幅する増幅部と、前記増幅部の出力を保持する保持容量と、を含み、
前記光電変換装置は、前記増幅部を動作させるためのバイアス電位を前記増幅部に供給するバイアス生成部をさらに備え、
前記複数の半導体基板は、前記光電変換素子が配された第1半導体基板と、前記保持容量が配された第2半導体基板と、前記処理回路が配された第3半導体基板と、を含み、前記第1半導体基板と前記第3半導体基板との間に前記第2半導体基板が配され、
前記増幅部は、前記第1半導体基板に配された素子および前記第2半導体基板に配された素子を含み、
前記バイアス生成部は、前記第2半導体基板に配されていることを特徴とする光電変換装置。
【請求項3】
複数の画素と前記複数の画素から読み出される信号を処理する処理回路とを備え、複数の半導体基板が積層された光電変換装置であって、
前記複数の画素のそれぞれは、光電変換素子と、前記光電変換素子からの信号を増幅する増幅部と、前記増幅部の出力を保持する保持容量と、を含み、
前記光電変換装置は、前記増幅部を動作させるためのバイアス電位を前記増幅部に供給するバイアス生成部をさらに備え、
前記複数の半導体基板は、前記光電変換素子が配された第1半導体基板と、前記保持容量が配された第2半導体基板と、前記処理回路が配された第3半導体基板と、を含み、前記第1半導体基板と前記第3半導体基板との間に前記第2半導体基板が配され、
前記増幅部は、前記第1半導体基板に配された素子および前記第2半導体基板に配された素子を含み、
前記バイアス生成部は、前記第2半導体基板に配された素子および前記第3半導体基板に配された素子を含むことを特徴とする光電変換装置。
【請求項4】
前記増幅部は、前記第1半導体基板に配され、前記光電変換素子の出力ノードにゲート電極が接続された第1トランジスタと、前記第2半導体基板に配され、前記第1トランジスタとともにソースフォロア回路を構成する電流源としての第2トランジスタと、を含むことを特徴とする請求項1に記載の光電変換装置。
【請求項5】
前記バイアス生成部は、前記第2トランジスタのゲート電極に前記バイアス電位を供給することを特徴とする請求項4に記載の光電変換装置。
【請求項6】
前記増幅部は、前記第1半導体基板に配され、前記光電変換素子の出力ノードにゲート電極が接続された第1トランジスタと、前記第2半導体基板に配され、前記第1トランジスタとともにソースフォロア回路を構成する電流源としての第2トランジスタと、を含み、
前記バイアス生成部は、前記第2トランジスタのゲート電極に前記バイアス電位を供給するために、前記第2トランジスタとカレントミラーを構成する第3トランジスタを含み、
前記第3トランジスタは、前記第2半導体基板に配されることを特徴とする請求項3に記載の光電変換装置。
【請求項7】
前記増幅部および前記バイアス生成部は、共通の電源ラインから電力が供給されることを特徴とする請求項1に記載の光電変換装置。
【請求項8】
前記処理回路は、AD変換回路を含むことを特徴とする請求項1に記載の光電変換装置。
【請求項9】
前記増幅部と前記AD変換回路とは、互いに異なる電源ラインから電力が供給されることを特徴とする請求項8に記載の光電変換装置。
【請求項10】
前記増幅部を第1増幅部、前記バイアス生成部を第1バイアス生成部として、
前記処理回路は、前記保持容量から読み出された信号を増幅する第2増幅部を含み、
前記光電変換装置は、前記第2増幅部を動作させるためのバイアス電位を前記第2増幅部に供給する第2バイアス生成部をさらに備えることを特徴とする請求項1に記載の光電変換装置。
(【請求項11】以降は省略されています)
発明の詳細な説明
【技術分野】
【0001】
本発明は、光電変換装置および機器に関する。
続きを表示(約 2,300 文字)
【背景技術】
【0002】
光電変換装置において、複数の画素のそれぞれに配された光電変換素子のリセットや光電変換素子からの電荷の読み出しを同時に行うグローバル電子シャッタ動作を行うことが提案されている。特許文献1には、信号電荷を電圧に変換して保持する電圧保持型のグローバル電子シャッタ機能を備えたイメージセンサが示されている。
【先行技術文献】
【特許文献】
【0003】
特開2022-051548号公報
【発明の概要】
【発明が解決しようとする課題】
【0004】
光電変換装置の撮像性能を向上させるために、複数の半導体基板を積層させ、それぞれの基板に光電変換装置の各構成を分散して配することが考えられる。
【0005】
本発明は、グローバル電子シャッタ機能を実現しつつ、撮像性能の向上に有利な技術を提供することを目的とする。
【課題を解決するための手段】
【0006】
上記課題に鑑みて、本発明の実施形態に係る光電変換装置は、複数の画素と前記複数の画素から読み出される信号を処理する処理回路とを備え、複数の半導体基板が積層された光電変換装置であって、前記複数の画素のそれぞれは、光電変換素子と、前記光電変換素子からの信号を増幅する増幅部と、前記増幅部の出力を保持する保持容量と、を含み、前記光電変換装置は、前記増幅部を動作させるためのバイアス電位を前記増幅部に供給するバイアス生成部をさらに備え、前記複数の半導体基板は、前記光電変換素子が配された第1半導体基板と、前記保持容量が配された第2半導体基板と、前記処理回路が配された第3半導体基板と、を含み、前記第1半導体基板と前記第3半導体基板との間に前記第2半導体基板が配され、前記増幅部は、前記第1半導体基板に配された素子および前記第2半導体基板に配された素子を含み、前記バイアス生成部は、前記第3半導体基板に配されていることを特徴とする。
【発明の効果】
【0007】
本発明によれば、光電変換装置の性能向上に有利な技術を提供することができる。
【図面の簡単な説明】
【0008】
本実施形態の光電変換装置の構成例を示す図。
図1の光電変換装置の画素および処理回路の構成例を示す回路図。
図1の光電変換装置の駆動タイミングを説明する図。
図1の光電変換装置の画素および処理回路の構成例を示す回路図。
図1の光電変換装置の積層構造の構成例を示す図。
図1の光電変換装置の画素および処理回路の構成例を示す回路図。
図1の光電変換装置の積層構造の構成例を示す図。
図1の光電変換装置の画素および処理回路の構成例を示す回路図。
図1の光電変換装置の積層構造の構成例を示す図。
図1の光電変換装置の画素および処理回路の構成例を示す回路図。
図1の光電変換装置の積層構造の構成例を示す図。
図1の光電変換装置の積層構造の構成例を示す図。
図1の光電変換装置の画素および処理回路の構成例を示す回路図。
図1の光電変換装置の積層構造の構成例を示す図。
図1の光電変換装置の積層構造の構成例を示す図。
図1の光電変換装置の画素および処理回路の構成例を示す回路図。
図1の光電変換装置の積層構造の構成例を示す図。
図1の光電変換装置の画素および処理回路の構成例を示す回路図。
図1の光電変換装置の積層構造の構成例を示す図。
図1の光電変換装置の画素および処理回路の構成例を示す回路図。
図1の光電変換装置の積層構造の構成例を示す図。
図1の光電変換装置の画素および処理回路の構成例を示す回路図。
図1の光電変換装置の積層構造の構成例を示す図。
図1の光電変換装置が組み込まれた機器の構成例を示す図。
【発明を実施するための形態】
【0009】
以下、添付図面を参照して実施形態を詳しく説明する。なお、以下の実施形態は特許請求の範囲に係る発明を限定するものではない。実施形態には複数の特徴が記載されているが、これらの複数の特徴の全てが発明に必須のものとは限らず、また、複数の特徴は任意に組み合わせられてもよい。さらに、添付図面においては、同一若しくは同様の構成に同一の参照番号を付し、重複した説明は省略する。
【0010】
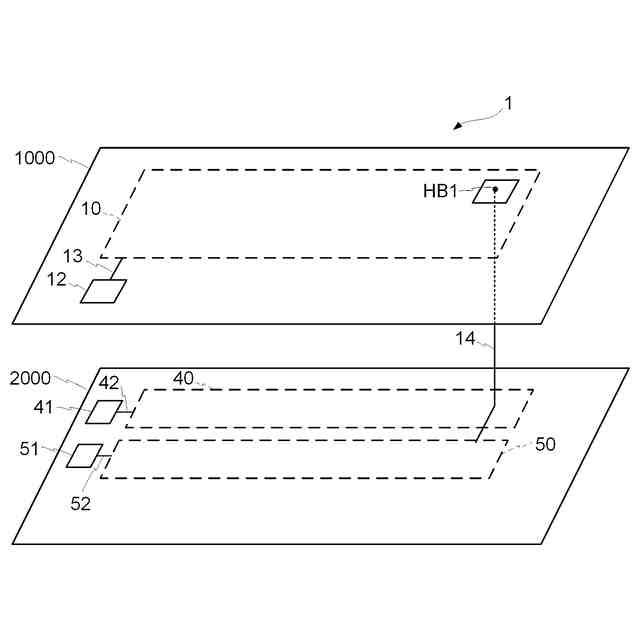
図1~図23を参照して、本開示の実施形態による光電変換装置について説明する。図1は、本実施形態にかかる光電変換装置1の概略構成図である。光電変換装置1は、受光した被写体像を光電変換し、その電気信号をアナログデジタル(AD)変換して、デジタル信号として出力する。光電変換装置1は、画素部10、タイミング生成部20、駆動制御部30、増幅部40、AD変換部50、メモリ部60、読出走査部70、デジタル信号処理部80、出力部90を含む。画素部10は、複数の行および複数の列を構成するように、2次元行列状に配された複数の画素11を備える。画素部10、増幅部40、AD変換部50には、バイアス生成部12、41、51がそれぞれ接続され、画素部10、増幅部40、AD変換部50それぞれの動作のためのバイアス電位が供給される。複数の画素11から読み出される信号、より具体的にはアナログ信号を処理する増幅部40およびAD変換部50を、以下、処理回路と称する場合がある。
(【0011】以降は省略されています)
この特許をJ-PlatPat(特許庁公式サイト)で参照する
関連特許
個人
イヤーマフ
8日前
個人
監視カメラシステム
17日前
個人
店内配信予約システム
3か月前
キーコム株式会社
光伝送線路
18日前
個人
スイッチシステム
2日前
サクサ株式会社
中継装置
24日前
WHISMR合同会社
収音装置
1か月前
個人
スキャン式車載用撮像装置
17日前
サクサ株式会社
中継装置
23日前
サクサ株式会社
中継装置
3か月前
キヤノン株式会社
電子機器
3か月前
アイホン株式会社
電気機器
1か月前
キヤノン株式会社
撮像装置
2か月前
株式会社リコー
画像形成装置
2か月前
キヤノン電子株式会社
画像読取装置
1か月前
キヤノン電子株式会社
モバイル装置
3か月前
ヤマハ株式会社
放音制御装置
2日前
個人
ワイヤレスイヤホン対応耳掛け
1か月前
株式会社リコー
画像形成装置
10日前
サクサ株式会社
無線システム
22日前
株式会社リコー
画像形成装置
2か月前
株式会社リコー
画像形成装置
2か月前
キヤノン電子株式会社
画像読取装置
16日前
個人
映像表示装置、及びARグラス
3日前
キヤノン電子株式会社
画像読取装置
2日前
サクサ株式会社
無線通信装置
23日前
サクサ株式会社
無線通信装置
23日前
日本電気株式会社
海底分岐装置
18日前
ブラザー工業株式会社
読取装置
2か月前
個人
発信機及び発信方法
22日前
キヤノン株式会社
撮像システム
1か月前
株式会社ニコン
撮像装置
3か月前
パテントフレア株式会社
水中電波通信法
2か月前
シャープ株式会社
端末装置
15日前
株式会社NTTドコモ
端末
18日前
有限会社フィデリックス
マイクロフォン
29日前
続きを見る
他の特許を見る