TOP
|
特許
|
意匠
|
商標
特許ウォッチ
Twitter
他の特許を見る
10個以上の画像は省略されています。
公開番号
2025160383
公報種別
公開特許公報(A)
公開日
2025-10-22
出願番号
2025127007,2022548150
出願日
2025-07-30,2021-02-05
発明の名称
翼状カプセル
出願人
エランコ・アニマル・ヘルス・インコーポレイテッド
,
Elanco Animal Health Incorporated
,
エランコ ティーアゲズンタイト アーゲー
代理人
個人
,
個人
,
個人
主分類
A61D
7/00 20060101AFI20251015BHJP(医学または獣医学;衛生学)
要約
【課題】動物に物質を提供するための大きさ及び構成を有する翼状カプセルを提供する。
【解決手段】翼状カプセル10は、底壁および底壁から延びる管状壁を有するカプセルであって、管状壁および底壁は、物質を含むように適合された内部空間を規定し、底壁は、動物に物質を送達するように適合された開口部を有する、カプセルと、カプセルに接続された中央翼部分と、該中央翼部分に接続され、翼面に沿って該中央翼部分から横方向に延びる翼182とを含み、該中央翼部分が最大中央幅WTを有するカプセル保持器18と、を備え、翼の各々は、遠位幅を有する遠位端と、遠位端と中央翼部分との間の中間部分184iとを有し、中間部分は、中央翼部分に隣接する幅から遠位幅Wcまで狭くなる幅を有する。
【選択図】図2
特許請求の範囲
【請求項1】
動物に物質を送達するための翼状カプセルであって、該翼状カプセルは、
底壁および底壁から延びる管状壁を有するカプセルであって、管状壁および底壁は、物質を含むように適合された内部空間を規定し、底壁は、動物に物質を送達するように適合された開口部を有する、カプセルと、
カプセルに接続された中央翼部分と、該中央翼部分に接続され、翼面に沿って該中央翼部分から横方向に延びる翼とを含み、該中央翼部分が最大中央幅を有するカプセル保持器と、
を備え、
前記翼の各々は、遠位幅を有する遠位端と、前記遠位端と前記中央翼部分との間の中間部分とを有し、前記中間部分は、前記中央翼部分に隣接する幅から前記遠位幅まで狭くなる幅を有する、翼状カプセル。
続きを表示(約 660 文字)
【請求項2】
カプセルが、翼の長手方向の範囲に垂直に測定される外側断面幅を有し、最大中心幅が、カプセルの外側断面幅の少なくとも60%である、請求項1に記載の翼状カプセル。
【請求項3】
カプセル保持器が、カプセル保持器の中央翼部分内に局所的な屈曲領域を含む、請求項1に記載の翼状カプセル。
【請求項4】
カプセル保持器が、中央翼部分にある横方向リブと、翼面に沿って横方向リブから遠位に延びる側縁リブと、側縁リブの間の中間縦リブとからなる、請求項1に記載の翼状カプセル。
【請求項5】
側縁リブ及び中間縦リブの少なくとも1つが、中央翼部分内のノッチを構成する、請求項4に記載の翼状カプセル。
【請求項6】
中央翼部分が局所的な屈曲部を構成する、請求項4に記載の翼状カプセル。
【請求項7】
局所的屈曲領域が、側縁リブおよび/または中間縦リブの高さが減少したリブ部分からなる、請求項6に記載の翼状カプセル。
【請求項8】
前記低減された高さのリブ部分はそれぞれ、前記翼の側縁リブまたは中間縦リブの高さよりも小さい高さを有する、請求項7に記載の翼状カプセル。
【請求項9】
減少した高さがゼロに等しい、請求項7に記載の翼状カプセル。
【請求項10】
前記側縁リブおよび前記中間縦リブは、前記局所的屈曲領域から遠位に延びる、請求項6に記載の翼状カプセル。
(【請求項11】以降は省略されています)
発明の詳細な説明
【技術分野】
【0001】
(関連出願との相互参照)
本出願は、2020年6月27日に出願された米国特許出願第63/045,066号および2020年2月7日に出願された米国特許出願第62/971,355号の利益および優先権について主張され、前述の出願はその全体が参照により本明細書に組み込まれるものとする。
続きを表示(約 2,600 文字)
【0002】
本開示は、一般に、低温状態での落下衝撃および曲げ加工時の幾何学的応力によりよく耐えるように改良された翼状カプセル装置に関するものである。
【背景技術】
【0003】
ケックトン(Kexxtone)は、モネンシン(モネンシンナトリウムとして)の制御放出製剤で、保持翼を備えたプラスチックカプセルに含まれている。カプセルの遠位端の開口部からモネンシンをゆっくりと放出し、授乳中の乳牛に投与後、平均95日間有効性を維持する。また、カプセルは他の製剤の分包にも使用でき、その場合、投与期間は短くても長くてもよく、例えば30~180日の範囲であればよい。
【0004】
モネンシン投与は、翼状カプセルの翼をカプセル本体に沿って折り畳み、投与用具にセットして行う。翼状(折りたたみ)カプセルの入った投与具を動物の口に導入し、プランジャーを押して投与具を作動させ、翼状カプセルを動物の咽頭へ排出させる。その後、カプセルは食道を通過して網状膜に入るが、この時、柔軟で弾力性のある翼が拡張して翼状カプセルを網状膜にとどめ、動物による翼状カプセル膜の逆戻りを防ぐ。
【0005】
翼は柔軟性と弾力性を持ち、挿入と自己拡張を可能にし、カプセルの位置を維持すると同時に、組織の損傷を防ぐことができる。カプセルには丸みを帯びた上部またはドームがあり、翼はドームの中心に取り付けられている。翼を横切る平面または折り畳み面に沿ったドームの丸みを帯びた形状は、翼の折り畳みを容易にし、したがって取り付け面または接続部(joint)は、咽頭への挿入に適した小さなプロファイルを維持する。接合部は、翼とドームの表面との間に首部を形成する少量の材料で構成されてもよい。
【0006】
製造後、複数の翼状カプセルを包装材(通常は袋)の中に入れる。翼状カプセルの包装や袋の輸送の過程で、翼が材料の降伏点を超えて接合部付近で曲がり、その時点で機能的な形状を回復できなくなることが判明している。また、曲がった翼が折れてボーラスから分離することもある。さらに、翼状カプセルは、出荷時や取り扱い時に低温条件(例えば、-20℃~0℃)にさらされるため、特に落下衝撃を受けた後に端部破壊を起こす可能性がある。破損した機器は、その内容に照らして適切に処理されるよう注意して廃棄する必要がある。翼状カプセルの破損を防ぎ、廃棄物や処分費用を削減する経済的な解決策が求められている。
【発明の概要】
【0007】
動物に物質を送達するための大きさ及び構成を有する翼状カプセルが本明細書に提供される。ある実施態様では、翼状カプセルは、底壁および底壁から延びる管状壁を有するカプセルであって、管状壁および底壁は、物質を含むように適合された内部空間を規定し、底壁は、動物に物質を送達するように適合された開口部を有する、カプセルと、カプセルに接続された中央翼部分と、該中央翼部分に接続され、翼面に沿って該中央翼部分から横方向に延びる翼とを含み、該中央翼部分が最大中央幅を有するカプセル保持器と、を備え、翼の各々は、遠位幅を有する遠位端と、遠位端と中央翼部分との間の中間部分とを有し、中間部分は、中央翼部分に隣接する幅から遠位幅まで狭くなる幅を有する。
【0008】
ある実施態様では、翼状カプセルは、底壁および底壁から延びる管状壁を有するカプセルであって、管状壁および底壁は、物質を含むように適合された内部空間を規定し、底壁は、動物に物質を送達するように適合された開口部を有する、カプセルと、
中央翼部分に接続され、翼面に沿って該中央翼部分から横方向に延びる翼を有し、カプセルに接続されているカプセル保持器と、を備え、カプセルは、底部に隣接する上部を有し、底部は、底壁を有し、底壁は、開口部を取り囲む平坦な表面を有し、底部は、底壁の半径方向の周縁に隣接し、底壁の厚さよりも大きな厚さを有する補強部を含む。
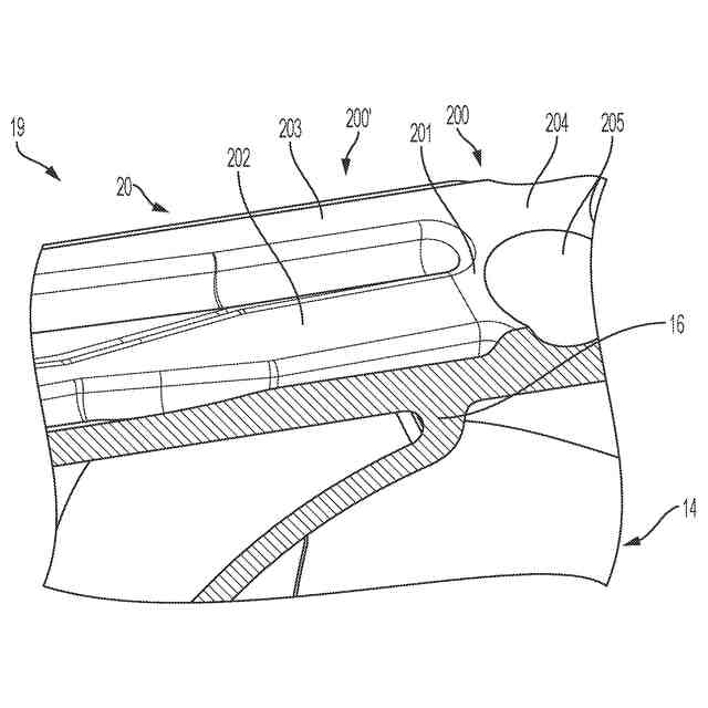
【図面の簡単な説明】
【0009】
翼状カプセルの一実施形態の側面図である。
図1に描かれた翼状カプセルの翼を折り畳んだ状態の上面図である。
図1の翼状カプセルの透視図である。
図1の翼状カプセルの断面透視図である。
翼状カプセルの追加的な実施形態の断面透視図である。
翼状カプセルの追加的な実施形態の断面透視図である。
翼状カプセルのさらに他の実施形態の部分透視図である。
翼状カプセルのさらに他の実施形態の部分透視図である。
図1~図7の実施形態の変形例を表す実施形態の部分透視図である。
図1~図7の実施形態の変形例を表す実施形態の部分透視図である。
図1~図7の実施形態の変形例を表す実施形態の部分透視図である。
図4の翼状カプセルの実施形態を示す側面図である。
翼状カプセルの他の実施形態の側面図、透視図、上面図、および断面図である。
翼状カプセルの他の実施形態の側面図、透視図、上面図、および断面図である。
翼状カプセルの他の実施形態の側面図、透視図、上面図、および断面図である。
翼状カプセルの他の実施形態の側面図、透視図、上面図、および断面図である。
カプセルの底部の一実施形態を示す断面透視図である。
カプセルの底部の一実施形態を示す断面透視図である。
図16及び図17のカプセルの実施形態の変形例を示す断面透視図である。
カプセルの底部の他の実施形態を示す断面透視図である。
【発明を実施するための形態】
【0010】
図面では、対応する参照符号が複数の図を通して対応する部品、機能、および特徴を示している。図面は、本発明による様々な特徴および構成要素の実施形態を表すが、図面は必ずしも縮尺通りではなく、特定の特徴は、本発明をよりよく図示および説明するために誇張されている場合がある。しかしながら、本発明は、図面に示された実施形態の正確な配置及び手段に限定されるものではない。
(【0011】以降は省略されています)
この特許をJ-PlatPat(特許庁公式サイト)で参照する
関連特許
個人
貼付剤
5日前
個人
短下肢装具
3か月前
個人
排尿補助器具
18日前
個人
洗井間専家。
7か月前
個人
前腕誘導装置
3か月前
個人
嚥下鍛錬装置
3か月前
個人
ウォート指圧法
16日前
個人
バッグ式オムツ
4か月前
個人
胸骨圧迫補助具
1か月前
個人
汚れ防止シート
1か月前
個人
矯正椅子
5か月前
個人
歯の修復用材料
4か月前
個人
アイマスク装置
2か月前
個人
ホバーアイロン
6か月前
個人
腰ベルト
8日前
個人
陣痛緩和具
3か月前
個人
シャンプー
6か月前
個人
哺乳瓶冷まし容器
3か月前
個人
歯の保護用シール
5か月前
個人
湿布連続貼り機。
2か月前
個人
治療用酸化防御装置
1か月前
株式会社コーセー
化粧料
15日前
株式会社大野
骨壷
4か月前
株式会社八光
剥離吸引管
5か月前
個人
性行為補助具
3か月前
個人
エア誘導コルセット
2か月前
株式会社ニデック
検眼装置
3か月前
個人
形見の製造方法
4か月前
個人
シリンダ式歩行補助具
3か月前
個人
手指運動ツール
2か月前
株式会社GSユアサ
歩行器
5か月前
株式会社松風
口腔用組成物
3か月前
株式会社ニデック
眼科装置
22日前
株式会社ニデック
眼科装置
4か月前
個人
精力増強キット
1か月前
株式会社ニデック
眼科装置
1か月前
続きを見る
他の特許を見る