TOP
|
特許
|
意匠
|
商標
特許ウォッチ
Twitter
他の特許を見る
10個以上の画像は省略されています。
公開番号
2025160162
公報種別
公開特許公報(A)
公開日
2025-10-22
出願番号
2025103971,2023573677
出願日
2025-06-19,2022-06-03
発明の名称
複数のディスプレイデバイスと相互作用するためのシステム及び方法
出願人
アップル インコーポレイテッド
,
Apple Inc.
代理人
弁理士法人大塚国際特許事務所
主分類
G06F
3/0486 20130101AFI20251015BHJP(計算;計数)
要約
【課題】より容易にユーザが複数のコンピュータディスプレイを接続して同時に操作することを可能にする。
【解決手段】方法は、第2の表示生成構成要素を有する第2のコンピュータシステムと通信する第1の表示生成構成要素を有する第1のコンピュータシステムにおいて実施される。方法は、入力に応じて、表示生成構成要素が第1のモード又は第2のモードで通信しているときに、コンテンツの表現を、第1の表示生成構成要素によって提供された第1の表示領域を横切って、第2の表示生成構成要素によって提供された第2の表示領域に移動させることを含む。方法は、表示生成構成要素が第1のモードで通信しているときに提供される第2の表示領域に、第1の表示領域を横切ってアプリケーションウィンドウを移動させることと、表示生成構成要素が第2のモードで通信しているときに第1の表示領域を横切って第2の表示領域に移動することを防止することと、を含む。
【選択図】なし
特許請求の範囲
【請求項1】
方法であって、
第1の表示生成構成要素を有する第1のコンピュータシステムであって、前記第1のコンピュータシステムが、第1の入力デバイスと、前記第1の表示生成構成要素とは異なる第2の表示生成構成要素を有する第2のコンピュータシステムと、通信する、第1のコンピュータシステムにおいて、
第1の表示領域内の第1のロケーションに第1のユーザインタフェースオブジェクトを表示することを含む、前記第1の表示生成構成要素を介して、前記第1の表示生成構成要素によって提供された前記第1の表示領域内の第1のユーザインタフェースを表示することと、
前記第1の表示生成構成要素によって提供された前記第1の表示領域内の前記第1のユーザインタフェースを表示している間に、第1の入力であって、前記第1の入力が、第1の移動を含み、前記第1の移動の第1の部分に従って、前記第1の表示生成構成要素によって提供された前記第1の表示領域を横切って前記第1のユーザインタフェースオブジェクトをドラッグする要求と、それに続く、前記第1の移動の第2の部分に従って、前記第1の表示生成構成要素によって提供された前記第1の表示領域を越えて前記第2の表示生成構成要素によって提供された第2の表示領域に向かって前記第1のユーザインタフェースオブジェクトをドラッグする要求と、に対応する、第1の入力を、前記第1の入力デバイスを介して検出することと、
前記第1の移動の検出に応じて、
前記第1のユーザインタフェースオブジェクトがコンテンツの表現であり、前記第2の表示生成構成要素が第1のモードで前記第1のコンピュータシステムと通信している間に前記第1の入力が検出されたという判定に従って、
前記第1の移動の前記第1の部分に従って、前記第1の表示生成構成要素によって提供された前記第1の表示領域を横切って前記第1のユーザインタフェースオブジェクトを前記第1のロケーションから前記第1の表示領域内の第2のロケーションに移動させることと、
前記第1の移動の前記第2の部分に従って、前記第2の表示生成構成要素によって提供された前記第2の表示領域を横切って前記第1のユーザインタフェースオブジェクトを移動させることと、
前記第1のユーザインタフェースオブジェクトがコンテンツの表現であり、前記第2の表示生成構成要素が前記第1のモードとは異なる第2のモードで前記第1のコンピュータシステムと通信している間に前記第1の入力が検出されたという判定に従って、
前記第1の移動の前記第1の部分に従って、前記第1の表示生成構成要素によって提供された前記第1の表示領域を横切って前記第1のユーザインタフェースオブジェクトを前記第1のロケーションから前記第1の表示領域内の第2のロケーションに移動させることと、
前記第1の移動の前記第2の部分に従って、前記第2の表示生成構成要素によって提供された前記第2の表示領域を横切って前記第1のユーザインタフェースオブジェクトを移動させることと、
前記第1のユーザインタフェースオブジェクトがアプリケーションウィンドウであり、前記第2の表示生成構成要素が前記第1のモードで前記第1のコンピュータシステムと通信している間に前記第1の入力が検出されたという判定に従って、
前記第1の移動の前記第1の部分に従って、前記第1の表示生成構成要素によって提供された前記第1の表示領域を横切って前記第1のユーザインタフェースオブジェクトを前記第1のロケーションから前記第1の表示領域内の第2のロケーションに移動させることと、
前記第1の移動の前記第2の部分に従って、前記第2の表示生成構成要素によって提供された前記第2の表示領域を横切って前記第1のユーザインタフェースオブジェクトを移動させることと、
前記第1のユーザインタフェースオブジェクトがアプリケーションウィンドウであり、前記第2の表示生成構成要素が前記第2のモードで前記第1のコンピュータシステムと通信している間に前記第1の入力が検出されたという判定に従って、前記第2の表示生成構成要素によって提供された前記第2の表示領域内への前記第1のユーザインタフェースオブジェクトの移動を防止することと、を含む、方法。
続きを表示(約 1,500 文字)
【請求項2】
前記第2の表示領域を横切って前記第1のユーザインタフェースオブジェクトを移動させることが、前記第1のユーザインタフェースオブジェクトを前記第2の表示領域上の第1のロケーションから前記第2の表示領域上の第2のロケーションに移動させることを含み、
前記方法が、第2の入力であって、前記第2の入力が、前記第2のロケーションであって、前記第2の表示領域上の前記第2のロケーションが、前記第2の入力を受信するロケーションの決定に従って決定される、前記第2のロケーションに、前記第1のユーザインタフェースオブジェクトを位置決めするための要求に対応する、第2の入力を、前記第1の入力デバイスを介して検出することを更に含む、
請求項1に記載の方法。
【請求項3】
前記第1のユーザインタフェースオブジェクトがコンテンツの表現であるとき、前記第1のユーザインタフェースオブジェクトが前記第1の表示領域及び前記第2の表示領域を横切って移動されている間に、前記第1のユーザインタフェースオブジェクトの表示を維持すること、
を更に含む、請求項1又は2に記載の方法。
【請求項4】
前記第1のユーザインタフェースオブジェクトがアプリケーションウィンドウであるとき、前記第1のユーザインタフェースオブジェクトが移動されている間に、前記アプリケーションウィンドウの表示をオープンアプリケーションウィンドウとして維持すること、
を更に含む、請求項1~3のいずれか一項に記載の方法。
【請求項5】
前記第1のユーザインタフェースオブジェクトの前記第2の表示領域内への移動を防止することが、前記第1の表示生成構成要素によって提供された前記第1の表示領域を横切って前記第1のユーザインタフェースオブジェクトを前記第2のロケーションから前記第1のロケーションに戻るように自動的に移動させることを含む、請求項1~4のいずれか一項に記載の方法。
【請求項6】
前記第1のユーザインタフェースオブジェクトの前記第2の表示領域内への移動を防止することが、前記第2のロケーションで前記第1のユーザインタフェースオブジェクトの前記移動を一時停止することを含む、請求項1~5のいずれか一項に記載の方法。
【請求項7】
前記第1のコンピュータシステムが、有線接続を介して前記第2のコンピュータシステムと通信する、請求項1~6のいずれか一項に記載の方法。
【請求項8】
前記第1のコンピュータシステムが、無線接続を介して前記第2のコンピュータシステムと通信する、請求項1~7のいずれか一項に記載の方法。
【請求項9】
前記第1の表示生成構成要素を有する前記第1のコンピュータシステムが、前記第1の表示生成構成要素及び前記第2の表示生成構成要素とは異なる第3の表示生成構成要素を有する第3のコンピュータシステムと更に通信する、請求項1~8のいずれか一項に記載の方法。
【請求項10】
前記第1の表示生成構成要素によって提供された前記第1の表示領域を横切って前記第1のユーザインタフェースオブジェクトを移動させている間に、前記第1のユーザインタフェースオブジェクトを前記第1の表示領域から前記第2の表示領域上に移動させることができるという判定に従って、第1の視覚的インジケーションを表示すること、
を更に含む、請求項1~9のいずれか一項に記載の方法。
(【請求項11】以降は省略されています)
発明の詳細な説明
【技術分野】
【0001】
(関連出願)
本出願は、2021年6月4日に出願された米国仮特許出願第63/197,248号及び2021年10月4日に出願された米国仮特許出願第63/252,114号の優先権を主張する、2022年6月2日に出願された米国特許出願第17/831,377号の継続出願である。
(技術分野)
続きを表示(約 5,900 文字)
【0002】
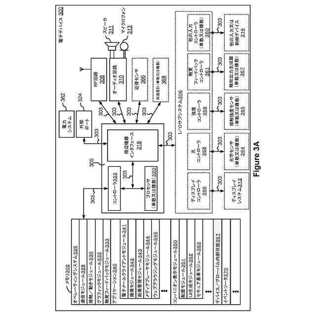
開示される実施形態は、2つ以上の電子デバイスのうちの1つの電子デバイスのみに関連付けられた1つ以上の入力デバイスを使用して、2つ以上の電子デバイス(例えば、第1の電子デバイス及び第2の電子デバイス)と相互作用することに関する。例えば、2つ以上の電子デバイスは、共有入力モード(例えば、第1の電子デバイスのオペレーティングシステムによって生成された第1のユーザインタフェース及び第2の電子デバイスのオペレーティングシステムによって生成された第2のユーザインタフェースが、共有入力デバイスで制御される)及びコンパニオン表示モード(例えば、第1の電子デバイスのオペレーティングシステムによって生成された第1のユーザインタフェースが、第1の電子デバイスのディスプレイ及び第2の電子デバイスのディスプレイの両方にわたって広がる)を含む異なるモードで操作される。
【背景技術】
【0003】
コンピューティングデバイスのユーザは、コンテンツを同時に視覚的に提示するために複数のコンピュータディスプレイを使用することが多い。複数の接続されたディスプレイを使用することで、ユーザは、より多くのユーザインタフェースを開き、より大きいスクリーンエリアにそれらのユーザインタフェースを広げることができるため、ユーザの効率が向上することが多い。しかしながら、複数のコンピュータディスプレイを一緒に接続することは、典型的には、コンピュータのオペレーティングシステム又は他のディスプレイソフトウェアの専門知識を必要とし、コンピューティングデバイス又はディスプレイが移動されるときに再構成を必要とし、その他の場合には、困難で、煩雑で、無駄なプロセスとなる。また、いくつかのコンピューティングデバイス又はディスプレイは、互いに互換性さえなく、コンテンツを同時に表示するために一緒に接続することができない。このように、より容易にユーザが複数のコンピュータディスプレイを接続して同時に操作することを可能にするシステム及び方法が必要とされている。
【0004】
更に、複数のディスプレイとともに動作するデバイスのためのヒューマンマシンインタフェースは、典型的には、非直感的であり、異なる機能を実施するときに視覚的フィードバックを提供することができない。したがって、より直感的なヒューマンマシンインタフェース、特に、複数のディスプレイをより容易かつより効率的に使用することができるヒューマンマシンインタフェースも必要とされている。
【発明の概要】
【0005】
本明細書で説明する実施形態は、複数のディスプレイデバイス間でコンテンツを共有するために互いに通信している複数のディスプレイデバイス(例えば、デスクトップ電子デバイス、ラップトップ電子デバイス、又はタブレット電子デバイス)のディスプレイをユーザが直感的かつ効率的に接続し、操作することを可能にするディスプレイデバイス及び方法を提供することによって、上記の欠点に対処する。かかるデバイス及び方法は、異なるデバイス間の通信を確立し、異なる表示モード(例えば、共有入力モード及びコンパニオン表示モード)間で切り替え、異なるディスプレイ間でコンテンツを共有するため、入力をほとんど必要としない。かかるディスプレイデバイス及び方法はまた、ユーザが異なるディスプレイデバイスを異なる表示モードで動作させることを支援するためのフィードバックを提供する。かかるディスプレイデバイス及び方法はまた、例えば、タッチ感知ディスプレイ上でより認識可能にするために情報を強調することによって、かつユーザの所望の結果を達成するためにユーザからのより少ない相互作用を必要とすることによって、改善されたヒューマンマシンインタフェースを提供する。これらの理由及び以下で説明されることのために、本明細書で説明されるデバイス及び方法は、電子デバイスの電力使用を低減し、バッテリ寿命を改善する。
【0006】
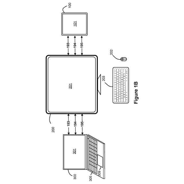
いくつかの実施形態によれば、方法は、第1の表示生成構成要素を有する第1のコンピュータシステムにおいて実施される。第1のコンピュータシステムは、第1の入力デバイスと、第2の表示生成構成要素を有する第2のコンピュータシステムと通信する。方法は、第1の表示生成構成要素を介して、第1の表示領域内の第1のユーザインタフェースオブジェクトを表示することを含む。第1の表示生成構成要素によって提供された第1の表示領域内の第1のユーザインタフェースを表示している間に、第1の入力デバイスを介して第1の移動を含む第1の入力を検出する。入力は、第1の表示領域を横切って第2の表示生成構成要素によって提供された第2の表示領域に第1のユーザインタフェースオブジェクトをドラッグするための要求に対応する。第1の移動を検出したことに応じて、第1のユーザインタフェースオブジェクトがコンテンツの表現であるという判定に従って、第2の表示生成構成要素が第1のモード(例えば、拡張表示モード)又は第2のモード(例えば、共有入力モード)で第1のコンピュータシステムと通信しているときに、第1のユーザインタフェースオブジェクトを第1の表示領域から第2の表示領域に移動させる。第1のユーザインタフェースオブジェクトがアプリケーションウィンドウであり、第2の表示生成構成要素が第1のモード(例えば、拡張表示モード)で第1のコンピュータシステムと通信している間に第1の入力が検出されたという判定に従って、第1のユーザインタフェースオブジェクトを第1の表示領域から第2の表示領域に移動させる。第1のユーザインタフェースオブジェクトがアプリケーションウィンドウであり、第2の表示生成構成要素が第2のモード(例えば、共有入力モード)で第1のコンピュータシステムと通信している間に第1の入力が検出されたという判定に従って、第2の表示生成構成要素によって提供された第2の表示領域内への第1のユーザインタフェースオブジェクトの移動を防止する。いくつかの実施形態では、共有入力モードにおいて、第1のコンピュータシステムは、第1のコンピュータシステムによって制御されるユーザインタフェースを表示し、第2のコンピュータシステムは、第2のコンピュータシステムによって制御されるユーザインタフェースを表示し、第1のコンピュータ及び第2のコンピュータシステムは、入力デバイスを共有する。いくつかの実施形態では、拡張表示モードにおいて、第1の表示生成構成要素及び第2の表示生成構成要素は両方とも、第1のコンピュータシステムによって生成されたユーザインタフェースを表示し、第1のコンピュータ及び第2のコンピュータシステムは、共有入力デバイスを介して入力を受信する。
【0007】
いくつかの実施形態によれば、方法は、第1の表示生成構成要素を有する第1のコンピュータシステムにおいて実施される。第1のコンピュータシステムは、第1の入力デバイスと通信する。方法は、第1の表示生成構成要素によって提供された第1の表示領域内の第1のユーザインタフェースを表示している間に、第1の基準を満たす第1のイベントを検出することを含む。第1の基準を満たす第1のイベントを検出したことに応じて、第2のコンピュータシステムの第2の表示生成構成要素によって生成されたユーザインタフェースの個別の代表的空間ポジションの個別の視覚的インジケーションを表示する。個別の視覚的インジケーションを表示することは、第1のコンピュータシステムが、第2のコンピュータシステムの第2の表示生成構成要素と第1の入力デバイスを共有しており、第2の表示生成構成要素によって生成されたユーザインタフェースが、第1の表示生成構成要素によって生成されたユーザインタフェースの第1の部分を通じてユーザインタフェースオブジェクトをドラッグすることによって到達することができる第1の代表的空間ポジションを有するという判定に従って、第1の表示生成構成要素によって生成されたユーザインタフェースの第1の部分に第1の視覚的インジケーションを表示することを含む。第1のコンピュータシステムが、第2の表示生成構成要素と通信している第2のコンピュータシステムと第1の入力デバイスを共有しており、第2の表示生成構成要素によって生成されたユーザインタフェースが、第1の表示生成構成要素によって生成されたユーザインタフェースの第2の部分を介してユーザインタフェースオブジェクトをドラッグすることによって到達することができる第2の代表的空間ポジションを有するという判定に従って、第1の表示生成構成要素によって生成されたユーザインタフェースの第2の部分に第2の視覚的インジケーションを表示する。第1のコンピュータシステムが第2のコンピュータシステムと第1の入力デバイスを共有している間に、第1の表示領域を横切って第1のユーザインタフェースオブジェクトをドラッグするための要求に対応する第1の入力デバイスを介した第1の入力を検出する。第1の入力を検出したことに応じて、第1の表示生成構成要素によって生成されたユーザインタフェースを横切って第1のユーザインタフェースオブジェクトを移動させ、第2の表示生成構成要素によって生成されたユーザインタフェースが個別の視覚的インジケーションによって表される個別の代表的空間ポジションを有する間に第1の基準を満たす第1のイベントが検出されたときに個別の視覚的インジケーションが表示された第1のユーザインタフェースの部分を横切る移動を第1の入力が含んでいたという判定に従って、第1の入力デバイスを介して検出された第1の移動に従って、第2の表示生成構成要素によって生成されたユーザインタフェースを横切って第1のユーザインタフェースオブジェクトを移動させる。
【0008】
いくつかの実施形態によれば、方法は、第1の表示生成構成要素を有する第1のコンピュータシステムにおいて実施され、第1のコンピュータシステムは、第1の入力デバイスと、第2の表示生成構成要素を有する第2のコンピュータシステムと通信する。方法は、第1の表示生成構成要素を介して、第1の表示領域に、第1の表示生成構成要素によって生成されたユーザインタフェースの代表的空間ポジションの第1の表現と、第2の表示生成構成要素によって生成されたユーザインタフェースの代表的空間ポジションの第2の表現と、を含む構成ユーザインタフェースを表示することを含む。第1のコンピュータシステム及び第2のコンピュータシステムが第1のモードで(例えば、共有入力モードで)接続されているという判定に従って、方法は、第1の表示生成構成要素によって生成されたユーザインタフェースの代表的空間ポジションの第1の表現と、第2の表示生成構成要素によって生成されたユーザインタフェースの代表的空間ポジションの第2の表現とを、第1の視覚的特性を用いて表示することを含む。第1のコンピュータシステム及び第2のコンピュータシステムが第2のモードで接続されているという判定に従って、第1の表示生成構成要素によって生成されたユーザインタフェースの代表的空間ポジションの第1の表現と、第2の表示生成構成要素によって生成されたユーザインタフェースの代表的空間ポジションの第2の表現とを、第1の視覚的特性とは異なる第2の視覚的特性を用いて表示する。
【0009】
いくつかの実施形態によれば、方法は、第1の表示生成構成要素及び入力デバイスを備える第1のコンピュータシステムにおいて実施される。方法は、第1の表示生成構成要素を介して、第1の表示生成構成要素に関連付けられた第1の表示領域と第2の表示生成構成要素に関連付けられた第2の表示領域との間のポータルのロケーションの視覚的インジケーションを表示することを含む。ポータルは、ユーザインタフェースオブジェクトを第1の表示領域と第2の表示領域との間で移動させることができる第1の表示領域の一部分である。ポータルの視覚的インジケーションを表示している間に、方法は、第1の表示領域内の第1の移動に対応する第1の入力を検出することを含む。第1の入力を検出したことに応じて、第1の表示生成構成要素に関連付けられた第1の表示領域と第2の表示生成構成要素に関連付けられた第2の表示領域との間のポータルの視覚的インジケーションのサイズ及び/又はロケーションを変更して、第1の表示生成構成要素に関連付けられた第1の表示領域と第2の表示生成構成要素に関連付けられた第2の表示領域との間のポータルのサイズ及び/又はロケーションに対する変更を示す。
【0010】
いくつかの実施形態によれば、方法は、表示生成構成要素及び1つ以上の入力デバイスを有する第1のコンピュータシステムにおいて実施される。方法は、表示生成構成要素によって提供される表示領域に、複数のアプリケーションにそれぞれ対応する複数のアイコンを含むドックと、分割スクリーン構成で表示される第1の領域及び第2の領域とを同時に表示することを含み、第1の領域は、第1のアプリケーションの第1のユーザインタフェースを表示し、第2の領域は、第2の領域が第1のアプリケーション以外のアプリケーションのユーザインタフェースの配置のために利用可能であることを示すプレースホルダインタフェースを表示する。方法は、ドック、第1の領域内の第1のアプリケーションの第1のユーザインタフェース、及び第2の領域内のプレースホルダインタフェースを同時に表示している間に、第2のアプリケーションに対応するドック内のアイコンの選択に対応する第1のユーザ入力を検出することと、第1のユーザ入力を検出したことに応じて、第2の領域内の第2のアプリケーションの第2のユーザインタフェースを表示することと、を更に含み、第2のアプリケーションの第2のユーザインタフェースは、分割スクリーン構成において第1のアプリケーションの第1のユーザインタフェースとともに表示される。
(【0011】以降は省略されています)
この特許をJ-PlatPat(特許庁公式サイト)で参照する
関連特許
個人
詐欺保険
8日前
個人
縁伊達ポイン
8日前
個人
QRコードの彩色
12日前
個人
地球保全システム
21日前
個人
農作物用途分配システム
7日前
個人
残土処理システム
14日前
個人
表変換編集支援システム
1か月前
個人
タッチパネル操作指代替具
1日前
個人
知的財産出願支援システム
15日前
個人
携帯端末障害問合せシステム
今日
個人
パスワード管理支援システム
1か月前
個人
スケジュール調整プログラム
今日
個人
行動時間管理システム
1か月前
株式会社キーエンス
受発注システム
20日前
個人
海外支援型農作物活用システム
1か月前
個人
AIキャラクター制御システム
1か月前
個人
食品レシピ生成システム
20日前
個人
システム及びプログラム
1か月前
株式会社キーエンス
受発注システム
20日前
株式会社キーエンス
受発注システム
20日前
キヤノン株式会社
表示システム
20日前
エッグス株式会社
情報処理装置
1日前
大同特殊鋼株式会社
疵判定方法
27日前
個人
人格進化型対話応答制御システム
1か月前
個人
音声対話型帳票生成支援システム
1か月前
個人
社会還元・施設向け供給支援構造
1か月前
キヤノン株式会社
印刷システム
今日
サクサ株式会社
中継装置
1か月前
個人
SaaS型勤務調整支援システム
1か月前
個人
音声・通知・再配達UX制御構造
15日前
個人
未来型家系図構築システム
1か月前
個人
帳票自動生成型SaaSシステム
15日前
大同特殊鋼株式会社
棒材計数方法
13日前
フリー株式会社
情報処理システム
27日前
中部電力株式会社
学習装置
1か月前
個人
マーケティング活動支援装置
19日前
続きを見る
他の特許を見る