TOP
|
特許
|
意匠
|
商標
特許ウォッチ
Twitter
他の特許を見る
10個以上の画像は省略されています。
公開番号
2025160155
公報種別
公開特許公報(A)
公開日
2025-10-22
出願番号
2025084637,2024503717
出願日
2025-05-21,2022-07-21
発明の名称
タスク委任制御を含むユーザインターフェースのためのシステムおよび方法
出願人
ヨハナ・エルエルシー
代理人
弁理士法人鈴榮特許綜合事務所
主分類
G06Q
10/101 20230101AFI20251015BHJP(計算;計数)
要約
【課題】メンバーに関連するコンピューティングデバイス上で実行されるユーザインターフェースを通して動的に有効化されるタスク委任制御方法を提供する。
【解決手段】タスク容易化サービスによって選択的に有効化されるタスク委任制御は、コンピュータ実装方法であって、メンバーがタスク容易化サービスによる完了のためにタスクを委任することになる予測された可能性に基づいてメンバーに関連する1つまたは複数のモデル、アルゴリズムなどに基づいて委任制御がメンバーに利用可能にされなければならないのかどうかを決定する。
【選択図】図1
特許請求の範囲
【請求項1】
タスクのための委任制御を有効化するという指示を受信することと、ここにおいて、前記指示は、ユーザに関連するユーザモデルに基づいて生成される、およびここにおいて、前記ユーザモデルは、前記ユーザの過去のタスク委任データを使用して更新される、
前記委任制御が有効化された後にアクティブ化されるとき、前記コンピューティングデバイスが前記タスクのための委任指示を送信するように、前記指示を受信したことに応答して前記委任制御を有効化することと、ここにおいて、タスク容易化サービスによって受信されたとき、前記委任指示は、前記タスク容易化サービスに前記タスクを委任させる、
を備えるコンピュータ実装方法。
続きを表示(約 1,900 文字)
【請求項2】
前記ユーザは、第1のユーザであり、前記指示は、第2のユーザが前記コンピューティングデバイスとは異なるコンピューティングシステムを使用して前記委任制御を選択的に有効化することに応答してさらに生成され、前記第2のユーザは、前記第1のユーザとは異なる、請求項1に記載のコンピュータ実装方法。
【請求項3】
前記委任制御が有効化されることになると決定することは、委任制御モデルにさらに基づき、前記委任制御モデルは、前記ユーザモデルからのデータと前記タスクに関連するデータとの各々に基づいて前記委任制御が有効化されることになると決定する、請求項1に記載のコンピュータ実装方法。
【請求項4】
前記委任制御を有効化することは、グラフィカルユーザインターフェース中に前記委任制御に対応する視覚要素を表示することを含む、請求項1に記載のコンピュータ実装方法。
【請求項5】
前記委任制御を有効化することは、グラフィカルユーザインターフェース中に前記委任制御に対応する視覚要素を表示することを含み、前記視覚要素は、前記委任制御の状態を反映する、請求項1に記載のコンピュータ実装方法。
【請求項6】
前記委任制御を有効化することは、グラフィカルユーザインターフェース中に前記委任制御に対応する視覚要素を表示することを含む、前記方法は、前記グラフィカルユーザインターフェース中に前記タスクに対応するタスクオブジェクトを表示することをさらに備える、ここにおいて、前記視覚要素は、前記タスクオブジェクトに視覚的に関連付けられる、およびここにおいて、前記タスクオブジェクトは、タスクオブジェクトのリスト中に表示される、請求項1に記載のコンピュータ実装方法。
【請求項7】
前記委任制御を有効化することは、グラフィカルユーザインターフェース中に前記委任制御に対応する視覚要素を表示することを含む、前記方法は、前記グラフィカルユーザインターフェース中に前記タスクに対応するタスクオブジェクトを表示することをさらに備える、ここにおいて、前記視覚要素は、前記タスクオブジェクトに視覚的に関連付けられる、およびここにおいて、前記タスクオブジェクトと前記視覚要素との各々は、チャットセッション内に表示される、請求項1に記載のコンピュータ実装方法。
【請求項8】
前記委任制御が有効化された後に前記委任制御がアクティブ化されたと決定することと、
前記コンピューティングデバイスから前記委任制御のアクティブ化を示す委任メッセージを送信することと、ここにおいて、前記委任メッセージが前記タスク容易化サービスによって受信されるとき、前記タスク容易化サービスは、完了のために前記タスクを委任し、前記ユーザモデルを更新するために前記委任メッセージを使用する、
をさらに備える、請求項1に記載のコンピュータ実装方法。
【請求項9】
コンピューティングデバイスであって、
1つまたは複数のデータプロセッサと、
命令を含んでいる非一時的コンピュータ可読記憶媒体と
を備え、前記命令は、前記1つまたは複数のデータプロセッサによって実行されたとき、前記1つまたは複数のデータプロセッサに、
タスクのための委任制御を有効化するという指示を受信することと、ここにおいて、前記指示は、ユーザに関連するユーザモデルに基づいて生成される、およびここにおいて、前記ユーザモデルは、前記ユーザの過去のタスク委任データを使用して更新される、
前記委任制御が有効化された後にアクティブ化されるとき、前記コンピューティングデバイスが前記タスクのための委任指示を送信するように、前記指示を受信したことに応答して前記委任制御を有効化することと、ここにおいて、タスク容易化サービスによって受信されたとき、前記委任指示は、前記タスク容易化サービスに前記タスクを委任させる、
を含む動作を実施させる、コンピューティングデバイス。
【請求項10】
前記ユーザは、第1のユーザであり、前記指示は、第2のユーザが前記コンピューティングデバイスとは異なるコンピューティングシステムを使用して前記委任制御を選択的に有効化することに応答してさらに生成され、前記第2のユーザは、前記第1のユーザとは異なる、請求項9に記載のコンピューティングデバイス。
(【請求項11】以降は省略されています)
発明の詳細な説明
【技術分野】
【0001】
関連出願の相互参照
[0001]本特許出願は、開示が参照により本明細書に組み込まれる2021年7月22日に出願された米国仮特許出願第63/224,435号の優先度利益を主張する。
続きを表示(約 1,600 文字)
【0002】
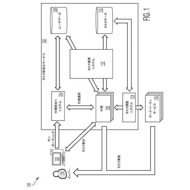
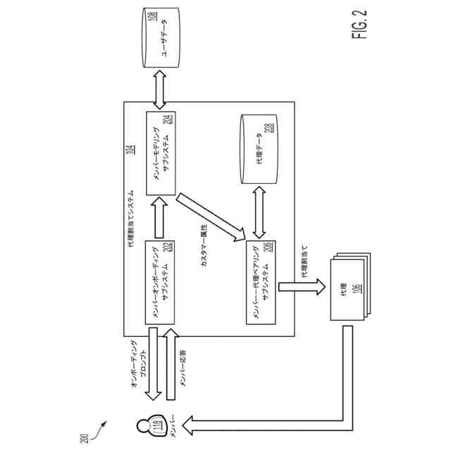
[0002]本開示は、一般に、タスクの決定および委任に関する。一例では、本明細書で説明されるシステムおよび方法は、タスク容易化サービスによる完了のためにメンバーによるタスクの効率的な委任を容易にするためにコンピューティングデバイスにおいて制御を選択的に有効化するために使用され得る。
【発明の概要】
【0003】
[0003]開示する実施形態は、ユーザインターフェースの制御および、特に、タスク容易化サービスのアシスタントまたは代理などの異なる当事者による完了のためにユーザインターフェースの使用によるタスクの完了を委任するための制御を選択的に有効化するための手法を提供し得る。少なくともいくつかの実施形態では、委任制御の有効化は、委任制御が、ユーザの過去の活動と、ユーザに関して知られている情報と、タスク容易化サービスによって収集された他の同様の情報とに基づいて選択的に有効化されるようなユーザのモデルに基づく。
【0004】
[0004]本開示の一態様では、コンピュータ実装方法が提供される。コンピュータ実装方法は、タスクのための委任制御を有効化するという指示を受信することを含む。指示は、ユーザに関連するユーザモデルに基づいて生成され、ここにおいて、ユーザモデルは、ユーザの過去のタスク委任データを使用して更新される。本方法は、委任制御が有効化された後にアクティブ化されるとき、コンピューティングデバイスがタスクのための委任指示を送信するように、指示を受信したことに応答して委任制御を有効化することをさらに含む。タスク容易化サービスによって受信されたとき、委任指示は、タスク容易化サービスにタスクを委任させる。
【0005】
[0005]いくつかの実施形態では、ユーザは、第1のユーザであり、指示は、第1のユーザとは異なる第2のユーザがコンピューティングデバイスとは異なるコンピューティングシステムを使用して委任制御を選択的に有効化することに応答してさらに生成される。
【0006】
[0006]いくつかの実施形態では、委任制御が有効化されることになると決定することは、委任制御モデルにさらに基づき、ここで、委任制御モデルは、ユーザモデルからのデータとタスクに関連するデータとの各々に基づいて委任制御が有効化されることになると決定する。
【0007】
[0007]いくつかの実施形態では、委任制御を有効化することは、グラフィカルユーザインターフェース中に委任制御に対応する視覚要素を表示することを含む。
【0008】
[0008]いくつかの実施形態では、委任制御を有効化することは、グラフィカルユーザインターフェース中に委任制御に対応する視覚要素を表示することを含み、視覚要素は、委任制御の状態を反映し得る。
【0009】
[0009]いくつかの実施形態では、委任制御を有効化することは、グラフィカルユーザインターフェース中に委任制御に対応する視覚要素を表示することを含み、視覚要素は、委任制御の状態を反映し得、本方法は、グラフィカルユーザインターフェース中にタスクに対応するタスクオブジェクトを表示することをさらに含む。視覚要素は、タスクオブジェクトに視覚的に関連付けられ、タスクオブジェクトは、タスクオブジェクトのリスト中に表示される。
【0010】
[0010]いくつかの実施形態では、委任制御を有効化することは、グラフィカルユーザインターフェース中に委任制御に対応する視覚要素を表示することを含み、本方法は、グラフィカルユーザインターフェース中にタスクに対応するタスクオブジェクトを表示することをさらに含む。視覚要素は、タスクオブジェクトに視覚的に関連付けられ得、タスクオブジェクトと視覚要素との各々は、チャットセッション内に表示され得る。
(【0011】以降は省略されています)
この特許をJ-PlatPat(特許庁公式サイト)で参照する
関連特許
ヨハナ・エルエルシー
チャットストリームメッセージの自動化されたタグ付けおよび管理
5か月前
ヨハナ・エルエルシー
タスク委任制御を含むユーザインターフェースのためのシステムおよび方法
今日
個人
詐欺保険
8日前
個人
縁伊達ポイン
8日前
個人
地球保全システム
21日前
個人
QRコードの彩色
12日前
個人
為替ポイント伊達夢貯
1か月前
個人
冷凍食品輸出支援構造
1か月前
個人
農作物用途分配システム
7日前
個人
表変換編集支援システム
1か月前
個人
残土処理システム
14日前
個人
知財出願支援AIシステム
1か月前
個人
知的財産出願支援システム
15日前
個人
タッチパネル操作指代替具
1日前
個人
AIによる情報の売買の仲介
1か月前
個人
スケジュール調整プログラム
今日
個人
行動時間管理システム
1か月前
個人
携帯端末障害問合せシステム
今日
個人
パスワード管理支援システム
1か月前
個人
食品レシピ生成システム
20日前
株式会社キーエンス
受発注システム
20日前
株式会社アジラ
進入判定装置
1か月前
個人
パスポートレス入出国システム
1か月前
個人
AIキャラクター制御システム
1か月前
日本精機株式会社
施工管理システム
1か月前
株式会社キーエンス
受発注システム
20日前
株式会社キーエンス
受発注システム
20日前
個人
海外支援型農作物活用システム
1か月前
個人
システム及びプログラム
1か月前
大同特殊鋼株式会社
疵判定方法
27日前
個人
冷凍加工連携型農場運用システム
1か月前
個人
社会還元・施設向け供給支援構造
1か月前
キヤノン株式会社
印刷システム
今日
サクサ株式会社
中継装置
1か月前
個人
音声・通知・再配達UX制御構造
15日前
個人
食事受注会計処理システム
1か月前
続きを見る
他の特許を見る