TOP
|
特許
|
意匠
|
商標
特許ウォッチ
Twitter
他の特許を見る
10個以上の画像は省略されています。
公開番号
2025160088
公報種別
公開特許公報(A)
公開日
2025-10-22
出願番号
2024174523
出願日
2024-10-03
発明の名称
指導情報の生成方法、指導情報の生成装置、コンピュータプログラム、情報処理方法及び情報処理装置
出願人
Yui Connection株式会社
代理人
個人
,
個人
主分類
G06Q
50/20 20120101AFI20251015BHJP(計算;計数)
要約
【課題】児童生徒の特徴に合った指導情報を作成することができる指導情報の生成方法等を提供する。
【解決手段】指導情報の生成方法は、児童生徒の特徴に関する複数の質問に対する回答を示す回答情報を取得し、言語モデルを用いて、取得した前記回答情報に応じた指導情報を生成する処理をコンピュータが実行する。
【選択図】図1
特許請求の範囲
【請求項1】
児童生徒の特徴に関する複数の質問に対する回答を示す回答情報を取得し、
言語モデルを用いて、取得した前記回答情報に応じた指導情報を生成する
処理をコンピュータが実行する指導情報の生成方法。
続きを表示(約 1,100 文字)
【請求項2】
各質問は複数の領域に分類されており、
各領域に分類された質問に対する回答を示す前記回答情報に応じた指導情報を生成する
請求項1に記載の指導情報の生成方法。
【請求項3】
前記回答情報、及び予め定められた回答情報と指導情報との対応情報を含むプロンプトを作成し、
作成した前記プロンプトを前記言語モデルに与えることにより、前記指導情報を生成する
請求項1又は請求項2に記載の指導情報の生成方法。
【請求項4】
前記回答情報と生成した前記指導情報とに基づいて、前記回答情報と指導情報との対応情報を更新する
請求項3に記載の指導情報の生成方法。
【請求項5】
前記回答情報に応じた児童生徒類型又は注目領域を取得し、
取得した前記児童生徒類型又は注目領域、及び予め定められた児童生徒類型又は注目領域と指導情報との対応情報を含むプロンプトを作成し、
作成した前記プロンプトを前記言語モデルに与えることにより、前記指導情報を生成する
請求項1又は請求項2に記載の指導情報の生成方法。
【請求項6】
予め定められた児童生徒類型又は注目領域と指導情報との対応情報が、取得した前記児童生徒類型又は注目領域に類似する児童生徒類型又は注目領域と指導プランとの対応情報である
請求項5に記載の指導情報の生成方法。
【請求項7】
回答情報と児童生徒類型との対応情報を用いる言語モデルを用いて、前記回答情報に応じた前記児童生徒類型を取得する
請求項5に記載の指導情報の生成方法。
【請求項8】
各領域に分類された質問の回答に基づいて、各領域のうちの注目領域を導出し、
導出した前記注目領域、及び予め定められた注目領域と児童生徒類型との対応情報を含むプロンプトを作成し、
作成した前記プロンプトを言語モデルに与えることにより、前記児童生徒類型を取得する
請求項5に記載の指導情報の生成方法。
【請求項9】
前記児童生徒類型と生成した前記指導情報とに基づいて、前記児童生徒類型と指導情報との対応情報を更新する
請求項5に記載の指導情報の生成方法。
【請求項10】
前記指導情報は児童生徒指導プランを含み、
前記児童生徒指導プランは教科別の児童生徒指導プランを含む
請求項1又は請求項2に記載の指導情報の生成方法。
(【請求項11】以降は省略されています)
発明の詳細な説明
【技術分野】
【0001】
本発明は、指導情報の生成方法、指導情報の生成装置、コンピュータプログラム、情報処理方法及び情報処理装置に関する。
続きを表示(約 1,000 文字)
【背景技術】
【0002】
従来、教育現場における指導者の生徒指導を支援するための技術が提案されている。例えば特許文献1には、実際の授業内容と、その授業で利用された学習指導案で予定されていた内容を比較し、合致度を見ることで、学習指導案の評価を行なうことが可能である情報処理装置が開示されている。
【先行技術文献】
【特許文献】
【0003】
特開2012-173566号公報
【発明の概要】
【発明が解決しようとする課題】
【0004】
しかしながら、特許文献1に記載の技術は、児童生徒の特徴に合った指導情報を生成するものではない。
【0005】
本開示の一側面における目的は、児童生徒の特徴に合った指導情報を生成することができる指導情報の生成方法等を提供することにある。
【課題を解決するための手段】
【0006】
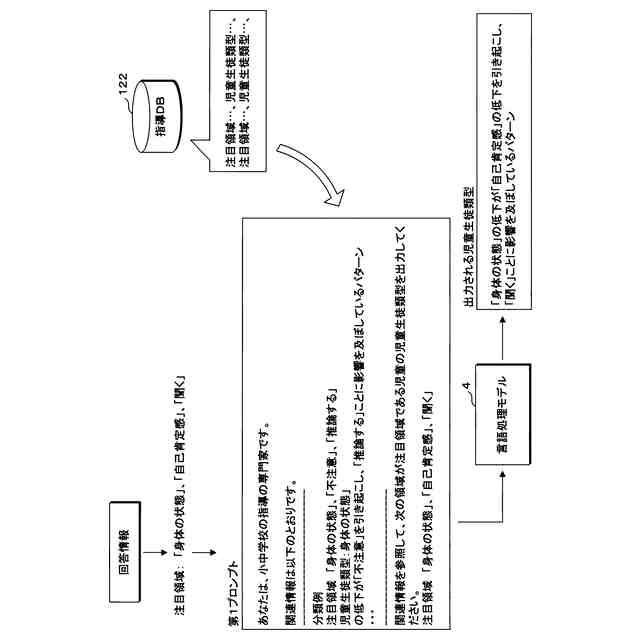
(1)本開示の一態様に係る指導情報の生成方法は、児童生徒の特徴に関する複数の質問に対する回答を示す回答情報を取得し、言語モデルを用いて、取得した前記回答情報に応じた指導情報を生成する処理をコンピュータが実行する。
【0007】
(2)上記(1)に記載の指導情報の生成方法において、各質問は複数の領域に分類されており、各領域に分類された質問に対する回答を示す前記回答情報に応じた指導情報を生成してもよい。
【0008】
(3)上記(1)又は(2)に記載の指導情報の生成方法において、前記回答情報、及び予め定められた回答情報と指導情報との対応情報を含むプロンプトを作成し、作成した前記プロンプトを前記言語モデルに与えることにより、前記指導情報を生成してもよい。
【0009】
(4)上記(1)から(3)のいずれか1つに記載の指導情報の生成方法において、前記回答情報と生成した前記指導情報とに基づいて、前記回答情報と指導情報との対応情報を更新してもよい。
【0010】
(5)上記(1)から(4)のいずれか1つに記載の指導情報の生成方法において、前記回答情報に応じた児童生徒類型又は注目領域を取得し、取得した前記児童生徒類型又は注目領域、及び予め定められた児童生徒類型又は注目領域と指導情報との対応情報を含むプロンプトを作成し、作成した前記プロンプトを前記言語モデルに与えることにより、前記指導情報を生成してもよい。
(【0011】以降は省略されています)
この特許をJ-PlatPat(特許庁公式サイト)で参照する
関連特許
個人
詐欺保険
15日前
個人
縁伊達ポイン
15日前
個人
RFタグシート
2日前
個人
QRコードの彩色
19日前
個人
地球保全システム
28日前
個人
自動調理装置
1日前
個人
為替ポイント伊達夢貯
1か月前
個人
冷凍食品輸出支援構造
1か月前
個人
残土処理システム
21日前
個人
農作物用途分配システム
14日前
個人
表変換編集支援システム
1か月前
個人
知的財産出願支援システム
22日前
個人
知財出願支援AIシステム
1か月前
個人
タッチパネル操作指代替具
8日前
個人
行動時間管理システム
1か月前
個人
AIによる情報の売買の仲介
1か月前
個人
パスワード管理支援システム
1か月前
個人
スケジュール調整プログラム
7日前
個人
携帯端末障害問合せシステム
7日前
株式会社キーエンス
受発注システム
27日前
日本精機株式会社
施工管理システム
1か月前
個人
食品レシピ生成システム
27日前
個人
システム及びプログラム
1か月前
株式会社キーエンス
受発注システム
27日前
株式会社キーエンス
受発注システム
27日前
個人
海外支援型農作物活用システム
1か月前
個人
AIキャラクター制御システム
1か月前
大同特殊鋼株式会社
疵判定方法
1か月前
個人
社会還元・施設向け供給支援構造
1か月前
個人
SaaS型勤務調整支援システム
1か月前
エッグス株式会社
情報処理装置
8日前
個人
音声対話型帳票生成支援システム
1か月前
サクサ株式会社
中継装置
1か月前
個人
音声・通知・再配達UX制御構造
22日前
キヤノン株式会社
表示システム
27日前
個人
冷凍加工連携型農場運用システム
1か月前
続きを見る
他の特許を見る