TOP
|
特許
|
意匠
|
商標
特許ウォッチ
Twitter
他の特許を見る
10個以上の画像は省略されています。
公開番号
2025159916
公報種別
公開特許公報(A)
公開日
2025-10-22
出願番号
2024062776
出願日
2024-04-09
発明の名称
衣類処理サービスシステムおよびその方法
出願人
パナソニックIPマネジメント株式会社
代理人
個人
,
個人
主分類
D06F
58/34 20200101AFI20251015BHJP(繊維または類似のものの処理;洗濯;他に分類されない可とう性材料)
要約
【課題】本開示は、使用者にメンテナンスを実施すべき最適なタイミングを認知させることができる衣類処理サービスシステムおよびその方法を提供する。
【解決手段】本開示の衣類処理サービスシステムは、衣類処理装置と、入力部と、表示部と、衣類処理装置のメンテナンス情報を作成するメンテナンス情報管理部と、を有する衣類処理サービスシステムであり、メンテナンス情報管理部は、衣類処理装置の発売日、購入日、設置日の少なくともいずれかを含む日付及び/又は衣類処理装置の運転回数に基づいてメンテナンス情報を作成し、表示部は、メンテナンス情報管理部が作成したメンテナンス情報を表示する。
【選択図】図15
特許請求の範囲
【請求項1】
衣類処理装置と、入力部と、表示部と、前記衣類処理装置のメンテナンス情報を作成するメンテナンス情報管理部と、を有する衣類処理サービスシステムであり、
前記メンテナンス情報管理部は、前記衣類処理装置の発売日、購入日、設置日の少なくともいずれかを含む日付及び/又は前記衣類処理装置の運転回数に基づいて前記メンテナンス情報を作成し、
前記表示部は、前記メンテナンス情報管理部が作成した前記メンテナンス情報を表示する、衣類処理サービスシステム。
続きを表示(約 1,600 文字)
【請求項2】
衣類処理装置と、表示部を有するユーザ端末装置と、サーバと、を備える衣類処理サービスシステムであって、
前記サーバは、前記衣類処理装置のメンテナンス情報を作成するメンテナンス情報管理部を有し、
前記メンテナンス情報管理部は、前記衣類処理装置の発売日、購入日、設置日の少なくともいずれかを含む日付、及び/又は運転回数に基づいて、前記メンテナンス情報を作成し、
前記サーバは、作成された前記メンテナンス情報を前記ユーザ端末装置へ送信し、
前記ユーザ端末装置は、前記表示部に、受信した前記メンテナンス情報を表示させる、衣類処理サービスシステム。
【請求項3】
前記サーバは、前記日付から第1所定期間が経過すると、前記ユーザ端末装置に前記メンテナンス情報を送信する、請求項2に記載の衣類処理サービスシステム。
【請求項4】
前記サーバは、前記衣類処理装置の運転回数が所定回数を超えると、前記ユーザ端末装置に前記メンテナンス情報を送信する、請求項2に記載の衣類処理サービスシステム。
【請求項5】
前記ユーザ端末装置は入力部を有し、
前記ユーザ端末装置は、前記表示部に前記メンテナンス情報を表示した後に、前記入力部からメンテナンスサービスの申し込みを受け付けると、前記サーバに前記メンテナンスサービスの申し込みに関する情報を送信する、請求項2に記載の衣類処理サービスシステム。
【請求項6】
前記サーバは、前記衣類処理装置の保証に関する保証情報を決定する保証情報管理部を有し、
前記サーバは、前記メンテナンスサービスが実施されると、前記メンテナンスサービスの実施を示すメンテナンス実施情報を受け付け、
前記保証情報管理部は、前記メンテナンス実施情報を前記サーバが受け付けると、前記保証情報を決定し、
前記ユーザ端末装置は、前記表示部に、前記保証情報に関する情報を表示可能とする、請求項5に記載の衣類処理サービスシステム。
【請求項7】
前記保証情報は、前記保証の期間に関する保証期間情報を含み、
前記ユーザ端末装置は、前記表示部に、前記保証期間情報を表示させる、請求項6に記載の衣類処理サービスシステム。
【請求項8】
前記衣類処理装置は、
洗濯物を収容する収容槽と、
前記収容槽内の空気が循環する循環経路と、
冷媒を圧縮する圧縮機と、前記循環経路の空気を除湿および加熱する熱交換器と、を含
むヒートポンプ装置と、を備え、
前記メンテナンス情報は、前記ヒートポンプ装置のメンテナンスに関する情報である、
請求項1~7のいずれか1項に記載の衣類処理サービスシステム。
【請求項9】
衣類処理サービスシステムの方法であって、
メンテナンス情報管理部が、前記衣類処理装置の発売日、購入日、設置日の少なくともいずれかを含む日付、及び/又は運転回数に基づいて、前記メンテナンス情報を作成するステップと、
前記表示部が、前記メンテナンス情報管理部が作成した前記メンテナンス情報を表示するステップと、
を有する衣類処理サービスシステムの方法。
【請求項10】
衣類処理サービスシステムの方法であって、
メンテナンス情報管理部が、前記衣類処理装置の発売日、購入日、設置日の少なくともいずれかを含む日付、及び/又は運転回数に基づいて、前記メンテナンス情報を作成するステップと、
前記メンテナンス情報管理部が作成した前記メンテナンス情報を、サーバから前記ユーザ端末装置へ送信するステップと、
前記ユーザ端末装置の表示部が前記メンテナンス情報を表示するステップと、
を有する衣類処理サービスシステムの方法。
発明の詳細な説明
【技術分野】
【0001】
本開示は、衣類処理サービスシステムおよびその方法に関する。
続きを表示(約 2,600 文字)
【背景技術】
【0002】
特許文献1は、筐体の内部に設けられ衣類を収容する内槽と、空気を除湿して加熱するヒートポンプ装置と、内槽とヒートポンプ装置とを接続した循環流路と、を備え、ヒートポンプ装置は、循環流路に接続される空気入口及び空気出口を形成するケースと、空気を除湿する第1熱交換器と、空気を加熱する第2熱交換器と、を備える衣類乾燥機を開示する。
【先行技術文献】
【特許文献】
【0003】
特開2022-163555号公報
【発明の概要】
【発明が解決しようとする課題】
【0004】
本開示は、使用者にメンテナンスを実施すべき最適なタイミングを認知させることができる衣類処理サービスシステムおよびその方法を提供する。
【課題を解決するための手段】
【0005】
本開示における衣類処理サービスシステムは、衣類処理装置と、入力部と、表示部と、衣類処理装置のメンテナンス情報を作成するメンテナンス情報管理部と、を有する衣類処理サービスシステムであり、メンテナンス情報管理部は、衣類処理装置の発売日、購入日、設置日の少なくともいずれかを含む日付及び/又は衣類処理装置の運転回数に基づいてメンテナンス情報を作成し、表示部は、メンテナンス情報管理部が作成したメンテナンス情報を表示する。
【0006】
本開示における衣類処理サービスシステムは、衣類処理装置と、表示部を有するユーザ端末装置と、サーバと、を備える衣類処理サービスシステムであって、サーバは、衣類処理装置のメンテナンス情報を作成するメンテナンス情報管理部を有し、メンテナンス情報管理部は、衣類処理装置の発売日、購入日、設置日の少なくともいずれかを含む日付、及び/又は運転回数に基づいて、メンテナンス情報を作成し、サーバは、作成されたメンテナンス情報をユーザ端末装置へ送信し、ユーザ端末装置は、表示部に、受信したメンテナンス情報を表示させる。
【0007】
本開示における衣類処理サービスシステムの方法は、メンテナンス情報管理部が、衣類処理装置の発売日、購入日、設置日の少なくともいずれかを含む日付、及び/又は運転回数に基づいて、メンテナンス情報を作成するステップと、表示部が、メンテナンス情報管理部が作成したメンテナンス情報を表示するステップと、を有する。
【0008】
本開示における衣類処理サービスシステムの方法は、メンテナンス情報管理部が、衣類処理装置の発売日、購入日、設置日の少なくともいずれかを含む日付、及び/又は運転回数に関する情報である第1情報に基づいて、メンテナンス情報を作成するステップと、メンテナンス情報管理部が作成したメンテナンス情報を、サーバからユーザ端末装置へ送信するステップと、ユーザ端末装置の表示部がメンテナンス情報を表するステップと、を有する。
【発明の効果】
【0009】
本開示における衣類処理サービスシステムおよびその方法は、使用者にメンテナンスを実施すべき最適なタイミングを認知させることができる。
【図面の簡単な説明】
【0010】
実施の形態1における衣類処理サービスシステムの構成を示すブロック図
実施の形態1における衣類処理装置の模式断面図
実施の形態1における衣類処理装置の天面部を外した状態の斜視図
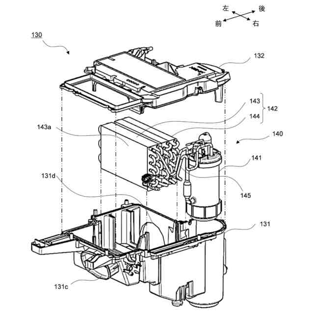
実施の形態1における衣類処理装置のヒートポンプユニットの分解斜視図
実施の形態1における衣類処理装置の構成を示すブロック図
実施の形態1におけるユーザ端末装置の構成を示すブロック図
実施の形態1におけるサーバの構成を示すブロック図
実施の形態1におけるサービス端末装置の構成を示すブロック図
実施の形態1における衣類処理サービスシステムの機器情報登録の動作を示すシーケンス図
実施の形態1における衣類処理サービスシステムのデータベース格納部に格納されるデータベースAのデータ構造を示す図
実施の形態1における衣類処理サービスシステムのデータベース格納部に格納されるデータベースBのデータ構造を示す図
実施の形態1における衣類処理サービスシステムの運転回数登録の動作を示すシーケンス図
実施の形態1における衣類処理サービスシステムのデータベース格納部に格納されるデータベースCのデータ構造を示す図
実施の形態1における衣類処理サービスシステムのメンテナンス管理の動作を示すシーケンス図
実施の形態1における衣類処理サービスシステムのメンテナンス管理の動作を示すフローチャート
実施の形態1における衣類処理サービスシステムのメンテナンス申込の動作を示すシーケンス図
実施の形態1における衣類処理サービスシステムのデータベース格納部に格納されるデータベースD1のデータ構造を示す図
実施の形態1における衣類処理サービスシステムのメンテナンスサービス実施記録の動作を示すシーケンス図
実施の形態1における衣類処理サービスシステムのデータベース格納部に格納されるデータベースD2のデータ構造を示す図
実施の形態1における衣類処理サービスシステムの保証情報決定の動作を示すフローチャート
実施の形態1における衣類処理サービスシステムのデータベース格納部に格納されるデータベースEのデータ構造を示す図
実施の形態1における衣類処理サービスシステムのアプリケーション表示の動作を示すシーケンス図
実施の形態1における衣類処理サービスシステムの衣類処理装置が(a)メンテナンス管理状態である場合と(b)メンテナンス管理状態でない場合のユーザ端末装置における表示画面の一例を示す図
実施の形態1における衣類処理サービスシステムの衣類処理装置に対する(a)延長保証がある場合と(b)延長保証がない場合のユーザ端末装置における表示画面の一例を示す図
実施の形態2における衣類処理サービスシステムのメンテナンス管理の動作を示すフローチャート
【発明を実施するための形態】
(【0011】以降は省略されています)
この特許をJ-PlatPat(特許庁公式サイト)で参照する
関連特許
個人
洗濯装置
2か月前
個人
洗濯物干しハンガー
今日
東レ株式会社
繊維断面の検査方法
1か月前
株式会社青柳
染め加工方法
1か月前
日本バイリーン株式会社
内装用表面材
3か月前
東レ株式会社
樹脂含浸繊維束の製造方法
3か月前
株式会社槌屋
加飾用表皮材
26日前
東レ株式会社
ゴム補強用合成繊維コード
1か月前
東レ株式会社
炭素繊維シートの製造方法
2か月前
有限会社高田紙器製作所
紙製洗濯バサミ
2か月前
花王株式会社
洗浄剤組成物
3か月前
株式会社創和
ボックス状洗濯ネット
1か月前
株式会社大阪ソーダ
撥水撥油性繊維処理剤
2か月前
リンナイ株式会社
衣類乾燥機
20日前
個人
ポリエステル染色物の製造方法
21日前
個人
洗濯用洗剤容器の蓋
2か月前
リンテック株式会社
耐水性基材
25日前
シャープ株式会社
洗濯機
2か月前
株式会社コーワ
フィルター清掃装置及び乾燥機
3か月前
アイリスオーヤマ株式会社
洗濯機
今日
株式会社コーワ
フィルター清掃装置及び乾燥機
3か月前
日本バイリーン株式会社
表皮材とその製造方法
3か月前
松本油脂製薬株式会社
繊維用処理剤及びその利用
2か月前
大阪瓦斯株式会社
衣類乾燥機
2か月前
大阪瓦斯株式会社
衣類乾燥機
2か月前
大阪瓦斯株式会社
衣類乾燥機
2か月前
ダイニック株式会社
ターポリン、及びその製造方法
21日前
個人
開閉角度調整可能な角型折畳みピンチハンガー
2か月前
シャープ株式会社
洗濯機
2か月前
シャープ株式会社
洗濯機
2か月前
株式会社コーワ
フィルター装置及び洗濯機又は乾燥機
3か月前
東芝ライフスタイル株式会社
洗濯機
4か月前
個人
パイプ用係止、固定装置及び洗濯バサミ取り付け具
2か月前
シャープ株式会社
洗濯機
3か月前
東芝ライフスタイル株式会社
洗濯機
2か月前
東レ株式会社
人工皮革およびその製造方法ならびに雑貨
1か月前
続きを見る
他の特許を見る