TOP
|
特許
|
意匠
|
商標
特許ウォッチ
Twitter
他の特許を見る
公開番号
2025159568
公報種別
公開特許公報(A)
公開日
2025-10-21
出願番号
2024062243
出願日
2024-04-08
発明の名称
半導体装置、アプリケーション割り当てシステム、アプリケーション割り当て方法、及び非一時的なコンピュータ可読媒体
出願人
ルネサスエレクトロニクス株式会社
代理人
弁理士法人筒井国際特許事務所
主分類
G06F
9/50 20060101AFI20251014BHJP(計算;計数)
要約
【課題】ユーザインタフェースにおけるレスポンスの悪化などの発生リスクを低減する。
【解決手段】半導体装置10は、アプリケーション割り当て判定部31及びアプリケーション割り当て制御部32を備える。アプリケーション割り当て判定部31は、CPU使用率データとCPU使用率閾値パターンデータとを比較することにより、CPU使用率が閾値を超える状態を予測して、アプリケーション割り当て変更要求を生成する。アプリケーション割り当て制御部32は、アプリケーション割り当て変更要求に基づいて、CPU使用率が閾値を超えると予測されたCPUに割り当てられているアプリケーションの割り当て先を変更する。
【選択図】図2
特許請求の範囲
【請求項1】
複数のアプリケーションのうちの割り当てられたアプリケーションをそれぞれ実行する複数のCPUを備える半導体装置であって、
前記複数のCPUの各々の最新のCPU使用率データとCPU使用率閾値パターンデータとを比較して、アプリケーション割り当て変更要求を生成するアプリケーション割り当て判定部と、
前記アプリケーション割り当て変更要求に基づいて、前記複数のCPUのうちの何れか1つのCPUに割り当てられているアプリケーションの割り当て先を、前記複数のCPUのうちの他のCPUに変更するアプリケーション割り当て制御部と、
を備え、
前記CPU使用率閾値パターンデータは、前記複数のCPUの各々の蓄積されたCPU使用率データを分析することによって生成され、
前記アプリケーション割り当て判定部は、前記何れか1つのCPUの最新のCPU使用率データと前記CPU使用率閾値パターンデータとを比較することにより、前記何れか1つのCPUのCPU使用率が閾値を超える状態を予測して、前記アプリケーション割り当て変更要求を生成する、
半導体装置。
続きを表示(約 2,100 文字)
【請求項2】
請求項1に記載の半導体装置であって、
前記CPU使用率閾値パターンデータは、一定時間あたりの平均CPU使用率の時系列変動パターンデータである、
半導体装置。
【請求項3】
請求項1に記載の半導体装置であって、
前記蓄積されたCPU使用率データは、時系列データ予測モデルを用いたCPU使用率の将来予測を行うことによって分析され、
前記CPU使用率閾値パターンデータは、将来閾値を超えると想定されるCPU使用率の時系列変動パターンデータである、
半導体装置。
【請求項4】
請求項1に記載の半導体装置であって、
前記アプリケーション割り当て判定部は、
前記複数のCPUの各々のCPU使用率データを生成する使用率データ生成部と、
前記CPU使用率閾値パターンデータを格納するパターンデータ格納部と、
前記使用率データ生成部から出力される前記最新のCPU使用率データと前記パターンデータ格納部に格納されている前記CPU使用率閾値パターンデータとを比較するパターンマッチング部と、
を備える、
半導体装置。
【請求項5】
請求項4に記載の半導体装置であって、
前記パターンマッチング部は、前記最新のCPU使用率データと前記CPU使用率閾値パターンデータとを比較した結果が一致し、かつ前記他のCPUが前記何れか1つのCPUに割り当てられたアプリケーションの一部を実行するために必要なCPU使用率の空きを有する場合に、前記アプリケーション割り当て変更要求を生成する、
半導体装置。
【請求項6】
請求項4に記載の半導体装置であって、
前記使用率データ生成部から出力される前記複数のCPUの各々のCPU使用率データを蓄積する使用率データ蓄積部と、
前記使用率データ蓄積部に蓄積されている前記複数のCPUの各々のCPU使用率データを分析して、前記CPU使用率閾値パターンデータを生成するパターン分析部と、
をさらに備える、
半導体装置。
【請求項7】
請求項1に記載のアプリケーション割り当てシステムであって、
請求項1に係る半導体装置と、
前記半導体装置からネットワークを介してアクセスされるサーバと、
を備え、
前記サーバは、
前記半導体装置から送信される前記複数のCPUの各々のCPU使用率データを蓄積する使用率データ蓄積部と、
前記使用率データ蓄積部に蓄積されている前記複数のCPUの各々のCPU使用率データを分析して、前記CPU使用率閾値パターンデータを生成するパターン分析部と、
を備える、
アプリケーション割り当てシステム。
【請求項8】
請求項7に記載のアプリケーション割り当てシステムであって、
前記パターン分析部は、時系列データ予測モデルを用いてCPU使用率の将来予測を行うことにより、前記複数のCPUの各々のCPU使用率データを分析し、将来閾値を超えると想定されるCPU使用率の時系列変動パターンを前記CPU使用率閾値パターンデータとして生成する、
アプリケーション割り当てシステム。
【請求項9】
複数のアプリケーションのうちの割り当てられたアプリケーションをそれぞれ実行する複数のCPUを備える半導体装置において実行されるアプリケーション割り当て方法であって、
前記複数のCPUの各々のCPU使用率データを生成するステップと、
生成された前記複数のCPUの各々のCPU使用率データを蓄積するステップと、
蓄積された前記複数のCPUの各々のCPU使用率データを分析して、CPU使用率閾値パターンデータを生成するステップと、
前記複数のCPUの各々の最新のCPU使用率データと前記CPU使用率閾値パターンデータとを比較して、アプリケーション割り当て変更要求を生成するステップと、
前記アプリケーション割り当て変更要求に基づいて、前記複数のCPUのうちの何れか1つのCPUに割り当てられているアプリケーションの割り当て先を、前記複数のCPUのうちの他のCPUに変更するステップと、
を備え、
前記アプリケーション割り当て変更要求を生成するステップは、前記何れか1つのCPUの最新のCPU使用率データと前記CPU使用率閾値パターンデータとを比較することにより、前記何れか1つのCPUのCPU使用率が閾値を超える状態を予測するステップを含み、
前記アプリケーション割り当て変更要求は、前記予測するステップの実行結果に基づいて生成される、
アプリケーション割り当て方法。
【請求項10】
請求項9に記載のアプリケーション割り当て方法であって、
前記CPU使用率閾値パターンデータは、一定時間あたりの平均CPU使用率の時系列変動パターンデータである、
アプリケーション割り当て方法。
(【請求項11】以降は省略されています)
発明の詳細な説明
【技術分野】
【0001】
本開示は、半導体装置、アプリケーション割り当てシステム、アプリケーション割り当て方法、及びプログラムを格納するための非一時的なコンピュータ可読媒体に関する。
続きを表示(約 1,900 文字)
【背景技術】
【0002】
クラウドシステムには、オーケストレーションという機能がある。オーケストレーションは、クラウドシステムを構成するコンピュータシステムを横断してアプリケーションの設定、管理、及び調整を自動化する機能であり、アプリケーション実行時の効率性を確保することができる。そのため、オーケストレーションは、車載向けなど様々な分野への応用が期待されている。
【0003】
アプリケーション実行時の効率性を確保するための具体的な手法の1つとして、CPU(Central Processing Unit)の負荷状態に依存して、アプリケーションやタスクを実行するCPUを決定する技術がある。例えば、特許文献1は、CPU使用率が基準の使用率(閾値)を超える場合には、性能の高いCPUをタスクの実行先CPUとして決定し、CPU使用率が閾値を超えない場合には、性能の低いCPUをタスクの実行先CPUとして決定する半導体集積回路を開示する。
【先行技術文献】
【特許文献】
【0004】
特開2019-219931号公報
【発明の概要】
【発明が解決しようとする課題】
【0005】
特許文献1に開示の技術では、CPU使用率が閾値を超えたか否かによって、アプリケーションやタスクの割り当て先であるCPUが決定される。すなわち、CPU使用率が閾値を超えてから始めてアプリケーションやタスクの割り当て先を変更するため、アプリケーションやタスクの割り当てが切り替わるまでは、CPUの処理負荷の重い状態が継続することになる。CPUの処理負荷が重い状態では、アプリケーションの実行処理に遅延が生じ易く、例えば、ユーザインタフェースにおけるレスポンスの悪化などの発生リスクが高まる。
【0006】
一方、CPUの処理負荷が重い状態になることを防止するために、閾値を低く設定することも考えられる。しかしながら、閾値を低くすることは、CPU使用率が閾値を超える状況を生じ易くなり、アプリケーションやタスクの割り当て変更を行うための切り替え処理の実行頻度が多くなる。これは、本来のアプリケーションやタスクを実行するためのCPUのリソースを割くことになり、パフォーマンスの低下につながる。
【0007】
その他の課題および新規な特徴は、本明細書の記述および添付図面から明らかになるであろう。
【課題を解決するための手段】
【0008】
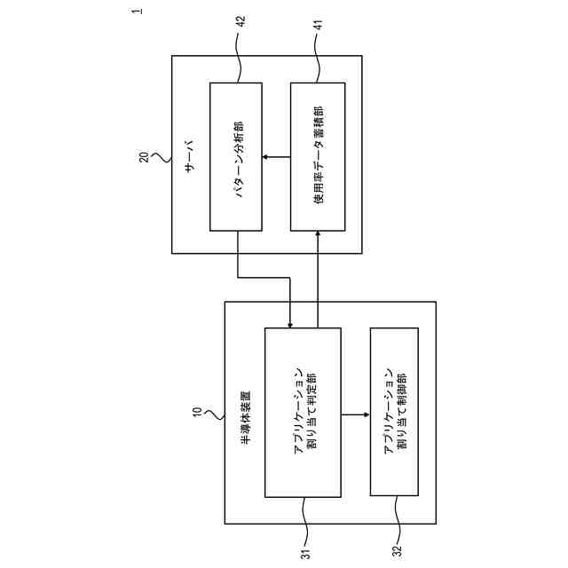
一実施形態に係る半導体装置は、アプリケーション割り当て判定部及びアプリケーション割り当て制御部を備える。アプリケーション割り当て判定部は、複数のCPUのうちの何れか1つのCPUの最新のCPU使用率データとCPU使用率閾値パターンデータとを比較することにより、CPU使用率が閾値を超える状態を予測して、アプリケーション割り当て変更要求を生成する。アプリケーション割り当て制御部は、アプリケーション割り当て変更要求に基づいて、複数のCPUのうちの何れか1つのCPUに割り当てられたアプリケーションの割り当て先を、複数のCPUのうちの他のCPUに変更する。
【発明の効果】
【0009】
本開示によれば、複数のCPUのうちの何れか1つのCPUの使用率が閾値を超える状態を予測することにより、当該CPUに割り当てられたアプリケーションの割り当て先を他のCPUに変更する。これにより、CPU使用率が閾値を超えてしまうことを回避することができるため、ユーザインタフェースにおけるレスポンスの悪化などの発生リスクを低減することができる。また、閾値を低く設定する必要はないため、アプリケーションの割り当て変更のために生じる切り替え処理にCPUのリソースが割かれることを防止することができ、パフォーマンスの維持を図ることができる。
【図面の簡単な説明】
【0010】
図1は、実施形態に係るアプリケーション割り当てシステムのハードウェア構成の一例を示すブロック図である。
図2は、実施形態に係るアプリケーション割り当てシステムの機能的構成の一例を示すブロック図である。
図3は、実施形態に係るアプリケーション割り当て判定部の機能的構成の一例を示すブロック図である。
図4は、パターンマッチングの処理について説明するための図である。
図5は、半導体装置の処理フローの一例を示すフローチャートである。
図6は、サーバの処理フローの一例を示すフローチャートである。
【発明を実施するための形態】
(【0011】以降は省略されています)
この特許をJ-PlatPat(特許庁公式サイト)で参照する
関連特許
個人
詐欺保険
10日前
個人
縁伊達ポイン
10日前
個人
QRコードの彩色
14日前
個人
地球保全システム
23日前
個人
為替ポイント伊達夢貯
1か月前
個人
冷凍食品輸出支援構造
1か月前
個人
農作物用途分配システム
9日前
個人
残土処理システム
16日前
個人
表変換編集支援システム
1か月前
個人
知財出願支援AIシステム
1か月前
個人
知的財産出願支援システム
17日前
個人
タッチパネル操作指代替具
3日前
個人
結婚相手紹介支援システム
2か月前
個人
携帯端末障害問合せシステム
2日前
個人
スケジュール調整プログラム
2日前
個人
行動時間管理システム
1か月前
個人
パスワード管理支援システム
1か月前
個人
AIによる情報の売買の仲介
1か月前
株式会社キーエンス
受発注システム
22日前
株式会社キーエンス
受発注システム
22日前
株式会社キーエンス
受発注システム
22日前
個人
食品レシピ生成システム
22日前
個人
海外支援型農作物活用システム
1か月前
日本精機株式会社
施工管理システム
1か月前
株式会社アジラ
進入判定装置
1か月前
個人
AIキャラクター制御システム
1か月前
個人
システム及びプログラム
1か月前
個人
パスポートレス入出国システム
1か月前
サクサ株式会社
中継装置
1か月前
キヤノン株式会社
印刷システム
2日前
個人
未来型家系図構築システム
1か月前
個人
音声・通知・再配達UX制御構造
17日前
個人
帳票自動生成型SaaSシステム
17日前
大同特殊鋼株式会社
疵判定方法
29日前
個人
食事受注会計処理システム
1か月前
個人
社会還元・施設向け供給支援構造
1か月前
続きを見る
他の特許を見る