TOP
|
特許
|
意匠
|
商標
特許ウォッチ
Twitter
他の特許を見る
公開番号
2025159433
公報種別
公開特許公報(A)
公開日
2025-10-21
出願番号
2024061978
出願日
2024-04-08
発明の名称
カプセル商品販売機、カプセル商品販売管理システム及びカプセル商品販売機における払出し検知方法
出願人
FKR株式会社
代理人
個人
,
個人
,
個人
主分類
G07F
11/54 20060101AFI20251014BHJP(チェック装置)
要約
【課題】カプセル商品の販売において、払出しトレイの回転角度の検出に当たり、余分な加速度が付加されにくいようにし、より大きな回転角度を対象として検出するようにして、回転角度の検出の精度を向上させたカプセル商品販売機を提供する。
【解決手段】
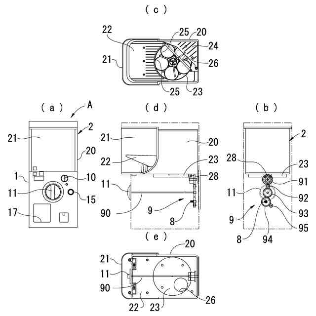
カプセル商品販売機Aは、カプセル商品を収納する商品収納部2と、購入時のコイン投入により操作可能となるハンドル11と、商品収納部2とつながり伝動部9を介してハンドル11と連動してカプセル商品の払出し動作が可能な払出しトレイ23と、カプセル商品の払出しの際に、所定の回転角度で動く伝動部9の検知用歯車94に取り付けられ、1軸方向において位置が固定された加速度センサを有し、カプセル商品との関連付けが可能かつ払出しトレイ23が動いてカプセル商品を払い出したことを検知可能で、管理サーバに接続される情報集計用端末と通信可能な払出し検知器8とを備えている。
【選択図】図2
特許請求の範囲
【請求項1】
カプセル商品を収納する商品収納部と、
購入時のコイン投入により操作可能となる操作部と、
前記操作部と伝動部を介して連動して、前記商品収納部に収納された前記カプセル商品の払出し動作が可能な払出し部と、
前記払出し部と共に所定の回転角度で動く可動体に取り付けられ、1軸方向において位置が固定された3軸加速度センサを有し、前記払出し部が動いて前記カプセル商品を払い出したことを検知可能で、管理サーバに接続される情報集計用端末と通信可能な払出し検知部と、を備える
カプセル商品販売機。
続きを表示(約 1,100 文字)
【請求項2】
前記可動体は、前記伝動部を構成する歯車である
請求項1記載のカプセル商品販売機。
【請求項3】
前記3軸加速度センサは、前記可動体の回転中心と同軸上に配置してある
請求項1又は2記載のカプセル商品販売機。
【請求項4】
前記3軸加速度センサは、一回の払出しにつき一回転する前記可動体に取り付けられている
請求項1又は2記載のカプセル商品販売機。
【請求項5】
ネットワークと、
カプセル商品を収納する商品収納部、購入時のコイン投入により操作可能となる操作部、前記操作部と伝動部を介して連動して、前記商品収納部に収納された前記カプセル商品の払出し動作が可能な払出し部、前記払出し部と共に所定の回転角度で動く可動体に取り付けられ、1軸方向において位置が固定された3軸加速度センサを有し、前記払出し部が動いて前記カプセル商品を払い出したことを検知可能で、管理サーバに接続される情報集計用端末と通信可能な払出し検知部を有するカプセル商品販売機と、
前記商品収納部、前記払出し検知部、及びカプセル商品を相互に関連付ける登録端末と、
前記商品販売機から送られる販売情報を集計する情報集計用端末と、
前記登録端末、及び前記情報集計用端末が前記ネットワークを介して接続される管理サーバとを備え、
前記登録端末により前記商品収納部、前記検知器、及びカプセル商品を相互に関連付け、前記商品販売機で販売された商品の販売数量の情報を前記情報集計用端末へ送信し、前記ネットワークを介し前記管理サーバへ送信して商品の販売数量の情報を収集し、商品の売上管理、在庫管理、発注管理、及び商品の前記商品収納部毎の商品補充の管理を行う
カプセル商品販売管理システム。
【請求項6】
前記可動体は、前記伝動部を構成する歯車であり、
前記3軸加速度センサは、一回の払い出しにつき一回転する前記歯車の回転中心と同軸上に配置してある
請求項5記載のカプセル商品販売管理システム。
【請求項7】
所定の払出し部がカプセル商品を払い出すに当たり、前記払出し部と共に所定の回転角度で動く可動体に、1軸方向において位置を固定して取り付けた3軸加速度センサが、2軸の加速度を検出することにより、前記可動体の操作時の回転のデータを一回の払出しの際の前記払出し部の回転による前記可動体の回転のデータと照合してカプセル商品の払出しを検知する
カプセル商品販売機における払出し検知方法。
発明の詳細な説明
【技術分野】
【0001】
本発明は、カプセル商品販売機、カプセル商品販売機によって販売されたカプセル商品の数量や残量等の管理を行うカプセル商品販売管理システム及びカプセル商品販売機における払出し検知方法に関するものである。
続きを表示(約 1,400 文字)
【背景技術】
【0002】
ゲームセンター、遊園地やホテルのゲームコーナー、デパートやスーパーマーケットの玩具売り場、或いは階段の踊り場等に設置されているカプセル商品販売機は、各種の商品(玩具等)を封入したプラスチック製カプセル等の容器を多数格納しておき、硬貨やメダルなどのコインを投入した後、ハンドルを回すことによって内部のドラムを回転させ、カプセル商品を保持している容器を落とし穴の上部に移動させることにより、商品排出口に排出するものである。
【0003】
一方で、カプセルトイには、多種多様な商品があり、販売に当たっては、これらの商品の売れ筋を的確に把握し、人気のトレンドに乗って、売上管理や発注管理、或いは在庫管理等を効率的に行うことが重要である。
【0004】
そこで、そのような管理を行うために有用であり、外部電源のない場所に設置された複数台のカプセル商品販売機それぞれの販売数量を自動的に収集して商品管理を行うことができるものとして、例えば特許文献1に開示された「商品販売装置及び商品販売管理システム」がある。
【0005】
従来の商品販売装置は、商品収納カセットに付け外し可能であり、払出しトレイが所定の回転角度で動いたことを検知可能で、管理サーバに接続される情報集計用端末と通信可能な検知器を有し、カプセル商品を管理するようになっている。そして、その検知器が加速度センサを有しており、商品販売管理システムもその検知器を利用している。
【0006】
これによれば、加速度センサが、検知器自身の動きを、購入者による操作部の操作による動きなのか、或いはそれ以外の事象、例えば購入者等が商品販売装置を叩いたことによる衝撃や揺れによる動きなのかを区別できる。したがって、操作部の操作による動きのみを商品の払い出しと検知して、他は払い出しとしないことで、商品販売装置において、より正確な商品の払い出しの検知が可能になる。
【先行技術文献】
【特許文献】
【0007】
特開2022―80216号公報
【発明の概要】
【発明が解決しようとする課題】
【0008】
しかしながら、特許文献1に記載の商品販売装置及び商品販売管理システムには、次のような問題があった。すなわち、検知器である加速度センサは、自身が回転移動する際の回転角度を検知することが可能であるが、この際、3軸(X軸、Y軸、Z軸)での検出を行うようになっている。
【0009】
このため、加速度センサが検出する加速度には、加速度センサが回転しながら移動することにより発生する遠心力で付加される加速度、或いは販売機自体が受ける外的要因(例えば、使用者による揺さぶり、衝撃、移動など)により付加される加速度、によって、余分な加速度が付加されて正しく検出できない可能性があり、様々な補正手段を用いて、回転を正確に検知する必要があった。
【0010】
また、検出の際に、3軸同時にプログラム上で監視する必要があるために、プログラムへの負荷が必然的に大きくなり、この負荷がバッテリーの消耗を早め、延いてはバッテリーの寿命にも悪影響を及ぼしてしまう問題があった。
(【0011】以降は省略されています)
この特許をJ-PlatPat(特許庁公式サイト)で参照する
関連特許
FKR株式会社
カプセル商品販売機、カプセル商品販売管理システム及びカプセル商品販売機における払出し検知方法
7日前
株式会社イシダ
商品処理装置
27日前
富士電機株式会社
通貨識別装置
3か月前
沖電気工業株式会社
紙幣処理装置
2か月前
沖電気工業株式会社
媒体処理装置
2か月前
沖電気工業株式会社
媒体処理装置
2か月前
沖電気工業株式会社
媒体処理装置
1か月前
沖電気工業株式会社
施錠開閉装置
20日前
富士電機株式会社
自動販売機
2か月前
株式会社ライト
情報処理装置
3か月前
株式会社ライト
情報処理装置
2か月前
株式会社ライト
情報処理装置
2か月前
富士電機株式会社
金銭処理装置
2か月前
株式会社デンソー
車載器
25日前
グローリー株式会社
物品投出装置
1か月前
株式会社寺岡精工
商品登録システム
11日前
日本金銭機械株式会社
硬貨処理装置
29日前
株式会社トイスピリッツ
景品提供システム
2か月前
日本金銭機械株式会社
硬貨処理装置
29日前
ユニティガードシステム株式会社
入館監視システム
2か月前
株式会社寺岡精工
販売データ処理装置
6日前
沖電気工業株式会社
現金処理装置及び印字装置
1か月前
沖電気工業株式会社
媒体処理装置
1か月前
沖電気工業株式会社
現金処理装置
2か月前
旭精工株式会社
紙葉類処理装置および紙葉類処理方法
1か月前
沖電気工業株式会社
棒金収納装置
2か月前
沖電気工業株式会社
棒金収納装置
26日前
中井銘鈑株式会社
商品見本取付け構造
2か月前
独立行政法人 国立印刷局
画像観察装置及び画像観察方法
1か月前
沖電気工業株式会社
硬貨処理装置及び貨幣取扱装置
2か月前
株式会社東芝
ドア構造
2か月前
株式会社バンダイ
物品供給装置、及び物品供給装置セット
20日前
沖電気工業株式会社
媒体識別装置及び媒体処理装置
1か月前
沖電気工業株式会社
紙葉類取扱装置及び現金処理装置
4日前
グローリー株式会社
取引システム及び取引方法
18日前
三菱電機株式会社
人流情報取得システム
今日
続きを見る
他の特許を見る