TOP
|
特許
|
意匠
|
商標
特許ウォッチ
Twitter
他の特許を見る
公開番号
2025159245
公報種別
公開特許公報(A)
公開日
2025-10-17
出願番号
2025139552,2023001710
出願日
2025-08-25,2023-01-10
発明の名称
ワーク保持具
出願人
株式会社ラインワークス
代理人
個人
,
個人
主分類
B23B
15/00 20060101AFI20251009BHJP(工作機械;他に分類されない金属加工)
要約
【課題】 従来のワーク保持具に比べて、各嵌合体の取付け位置の調整が容易なワーク保持具を提供する。
【解決手段】 本発明のワーク保持具は、ワーク側治具とマスタ側治具を備えている。ワーク側治具はマスタ側治具に対向する面にワーク側嵌合体を備え、マスタ側治具は、ワーク側治具に対向する面にワーク側嵌合体に嵌合するマスタ側嵌合体と、マスタ側嵌合体に嵌合したワーク側嵌合体に当接してワーク側嵌合体をマスタ側治具側に押圧する押圧体と、押圧体を動作させるアクチュエータを備えている。押圧体は嵌合する一組のワーク側嵌合体及びマスタ側嵌合体毎に設けられている。アクチュエータによって押圧体が動作すると、押圧体がワーク側嵌合体に当接して、ワーク側嵌合体がマスタ側治具側に押圧される。
【選択図】図1
特許請求の範囲
【請求項1】
ワーク側治具とマスタ側治具を備えたワーク保持具において、
前記ワーク側治具は、前記マスタ側治具に対向する面にワーク側嵌合体を備え、
前記マスタ側治具は、前記ワーク側治具に対向する面に前記ワーク側嵌合体に嵌合するマスタ側嵌合体と、当該マスタ側嵌合体に嵌合したワーク側嵌合体に当接して当該ワーク側嵌合体をマスタ側治具側に押圧する押圧体と、当該押圧体を動作させるアクチュエータを備え、
前記押圧体が嵌合する一組のワーク側嵌合体及びマスタ側嵌合体毎に設けられ、
前記アクチュエータによって押圧体が動作すると、当該押圧体が前記ワーク側嵌合体に当接して、当該ワーク側嵌合体がマスタ側治具側に押圧される、
ことを特徴とするワーク保持具。
続きを表示(約 370 文字)
【請求項2】
請求項1記載のワーク保持具において、
嵌合するマスタ側嵌合体及びワーク側嵌合体が二組以上設けられ、
押圧体が嵌合する一組のマスタ側嵌合体及びワーク側嵌合体毎に設けられた、
ことを特徴とするワーク保持具。
【請求項3】
請求項2記載のワーク保持具において、
二以上の押圧体が異なる向きに設けられた、
ことを特徴とするワーク保持具。
【請求項4】
請求項1記載のワーク保持具において、
アクチュエータが、押圧体を押圧位置で保持するロック機構を備えた、
ことを特徴とするワーク保持具。
【請求項5】
請求項1記載のワーク保持具において、
押圧体をガイドするガイドブロックを備えた、
ことを特徴とするワーク保持具。
発明の詳細な説明
【技術分野】
【0001】
本発明は、溶接機械や工作機械、組立機械といった各種機械(以下、これらをまとめて「加工機械」という)でのワークの加工に際し、加工対象であるワークを当該加工機械に着脱するのに用いるワーク保持具に関する。
続きを表示(約 1,300 文字)
【背景技術】
【0002】
ワークに対して、溶接や孔開け、切削、組立等の各種加工(作業)を行う場合、各種加工機械が用いられる。例えば、大型のワークの加工に際しては、加工対象物であるワークを保持して所定位置に位置決めすることのできるポジショナーが用いられる。従来、ポジショナーへのワークの着脱に用いる装置として、本件出願人が開発したワーク保持具がある(特許文献1)。
【0003】
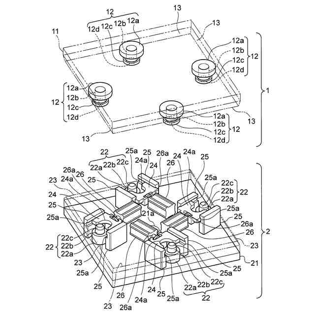
前記ワーク保持具は、加工機械でのワークの加工に際し、ワークを加工機械に着脱するのに用いる装置であって、ワークが固定されるワーク側治具と、加工機械側に固定されるマスタ側治具を備えている。
【0004】
ワーク側治具にはマスタ側治具に対向する面にワーク側嵌合体が、マスタ側治具にはワーク側治具に対向する面にワーク側嵌合体に嵌合するマスタ側嵌合体と、マスタ側嵌合体に嵌合したワーク側嵌合体に当接してワーク側嵌合体をマスタ側治具側に押圧する回転押圧体と、回転押圧体を回転させる回転駆動源が設けられている。
【0005】
前記ワーク保持具は、回転駆動源によって回転押圧体が回転すると、回転押圧体がワーク側嵌合体に当接して、ワーク側嵌合体がマスタ側治具側に押圧されるように構成されている。
【先行技術文献】
【特許文献】
【0006】
特開2020-124777号公報
【発明の概要】
【発明が解決しようとする課題】
【0007】
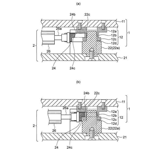
前記ワーク保持具は、一つの回転押圧体で複数のワーク側嵌合体を押圧する構造であり、複数のワーク側嵌合体の高さが揃わないと回転押圧体がうまく嵌らないため、各嵌合体の取付け位置の調整が難しく、この点に改善の余地があった。
【0008】
本発明は前記事情に鑑みてなされたものであり、その解決課題は、従来のワーク保持具に比べて、各嵌合体の取付け位置の調整が容易なワーク保持具を提供することにある。
【課題を解決するための手段】
【0009】
本発明のワーク保持具は、ワーク側治具とマスタ側治具を備えている。ワーク側治具はマスタ側治具に対向する面にワーク側嵌合体を備え、マスタ側治具は、ワーク側治具に対向する面にワーク側嵌合体に嵌合するマスタ側嵌合体と、マスタ側嵌合体に嵌合したワーク側嵌合体に当接してワーク側嵌合体をマスタ側治具側に押圧する押圧体と、押圧体を動作させるアクチュエータを備えている。押圧体は嵌合する一組のワーク側嵌合体及びマスタ側嵌合体毎に設けられている。アクチュエータによって押圧体が動作すると、押圧体がワーク側嵌合体に当接して、ワーク側嵌合体がマスタ側治具側に押圧される。
【発明の効果】
【0010】
本発明のワーク保持具は、嵌合する一組のワーク側嵌合体及びマスタ側嵌合体毎に押圧体が設けられているため、他のワーク側嵌合体やマスタ側嵌合体との位置調整の必要がなく、従来のワーク保持具に比べて各嵌合体の取付け位置の調整が容易である。
【図面の簡単な説明】
(【0011】以降は省略されています)
この特許をJ-PlatPat(特許庁公式サイト)で参照する
関連特許
個人
タップ
5か月前
個人
フライス盤
1か月前
個人
加工機
5か月前
麗豊実業股フン有限公司
ラクトバチルス・パラカセイNB23菌株及びそれを筋肉量の増加や抗メタボリック症候群に用いる用途
5か月前
日東精工株式会社
ねじ締め機
2か月前
日東精工株式会社
ねじ締め機
1か月前
株式会社不二越
ドリル
5か月前
日東精工株式会社
ねじ締め機
12日前
日東精工株式会社
ねじ締め機
4か月前
株式会社北川鉄工所
回転装置
4か月前
株式会社ダイヘン
溶接電源装置
2か月前
株式会社ダイヘン
溶接電源装置
2か月前
日東精工株式会社
ねじ締め装置
1か月前
株式会社ダイヘン
溶接電源装置
3か月前
日東精工株式会社
ねじ締め装置
3か月前
株式会社FUJI
工作機械
3か月前
株式会社FUJI
工作機械
11日前
株式会社FUJI
工作機械
3か月前
個人
切削油供給装置
1か月前
株式会社FUJI
工作機械
18日前
株式会社アンド
半田付け方法
5か月前
キヤノン電子株式会社
加工システム
2か月前
中国電力株式会社
養生シート
5日前
個人
型枠製造装置のフレーム
22日前
株式会社アンド
半田付け方法
1か月前
株式会社アンド
半田付け方法
5か月前
株式会社トヨコー
被膜除去方法
4か月前
村田機械株式会社
レーザ加工機
4か月前
大見工業株式会社
ドリル
2か月前
村田機械株式会社
レーザ加工機
4か月前
株式会社ツガミ
工作機械
1か月前
株式会社不二越
ブローチ盤
1か月前
株式会社不二越
ブローチ盤
2か月前
株式会社ダイヘン
溶接装置
3か月前
トヨタ自動車株式会社
溶接マスク
3か月前
トヨタ自動車株式会社
溶接ヘッド
4か月前
続きを見る
他の特許を見る