TOP
|
特許
|
意匠
|
商標
特許ウォッチ
Twitter
他の特許を見る
10個以上の画像は省略されています。
公開番号
2025158870
公報種別
公開特許公報(A)
公開日
2025-10-17
出願番号
2024061808
出願日
2024-04-05
発明の名称
シートパッド
出願人
株式会社イノアックコーポレーション
代理人
個人
,
個人
主分類
B60N
2/64 20060101AFI20251009BHJP(車両一般)
要約
【課題】従来のシートパッドでは、サイドサポート部が外側に倒れ易いという問題が生じ得るため、補強対策が求められている。
【解決手段】発明の一態様は、シートパッドの側部で表側に突出したサイドサポート部に、板状補強部材が埋設されているシートパッドであって、前記サイドサポート部の長手方向又は幅方向で前記板状補強部材を挟む2位置に成形され、前記サイドサポート部の裏面から前記サイドサポート部の内部まで、前記板状補強部材に隣接して延びる1対の穴を備えるシートパッドである。
【選択図】図4
特許請求の範囲
【請求項1】
シートパッドの側部で表側に突出したサイドサポート部に、板状補強部材が埋設されているシートパッドであって、
前記サイドサポート部の長手方向又は幅方向で前記板状補強部材を挟む2位置に成形され、前記サイドサポート部の裏面から前記サイドサポート部の内部まで、前記板状補強部材に隣接して延びる1対の穴を備えるシートパッド。
続きを表示(約 480 文字)
【請求項2】
前記板状補強部材に取り付けられて、前記板状補強部材における前記サイドサポート部の長手方向の両側に配置され、前記1対の穴が内側に設けられる1対の筒状部を備える請求項1に記載のシートパッド。
【請求項3】
前記板状補強部材を収容する袋部と、前記サイドサポート部の長手方向で前記袋部の両側に配置され、前記1対の穴が内側に設けられる1対の筒状部と、を一体に備える袋部材を備える請求項1に記載のシートパッド。
【請求項4】
前記サイドサポート部の裏面と一体になった裏面材を備え、
前記袋部材は、前記裏面材から延設されている請求項3に記載のシートパッド。
【請求項5】
前記板状補強部材は、プレスフェルトである請求項1又は2に記載のシートパッド。
【請求項6】
前記袋部材には、前記板状補強部材の側面と重なる位置に貫通孔が形成され、
前記板状補強部材のうち前記貫通孔との対向部分に前記サイドサポート部を構成する樹脂が含浸している請求項3又は4に記載のシートパッド。
発明の詳細な説明
【技術分野】
【0001】
本開示は、シートパッドに関する。
続きを表示(約 2,200 文字)
【背景技術】
【0002】
従来のシートパッドとして、側部に表側に突出して着座者を側方から支持するサイドサポート部を備えるものが知られている(例えば、特許文献1参照)。
【先行技術文献】
【特許文献】
【0003】
特開2016-94072(図2等)
【発明の概要】
【発明が解決しようとする課題】
【0004】
上述した従来のシートパッドでは、サイドサポート部が外側に倒れ易いという問題が生じ得るため、補強対策が求められている。特に、サイドサポート部の厚み(幅方向の厚み)が薄いデザインのシートパッドでは、サイドサポート部が外側へ倒れ易くなるため、対策が求められる。
【課題を解決するための手段】
【0005】
発明の一態様は、シートパッドの側部で表側に突出したサイドサポート部に、板状補強部材が埋設されているシートパッドであって、前記サイドサポート部の長手方向又は幅方向で前記板状補強部材を挟む2位置に成形され、前記サイドサポート部の裏面から前記サイドサポート部の内部まで、前記板状補強部材に隣接して延びる1対の穴を備えるシートパッドである。
【図面の簡単な説明】
【0006】
図1は、シートパッドが備えられるシートの前方斜視図
図2は、シートバッドの平断面図
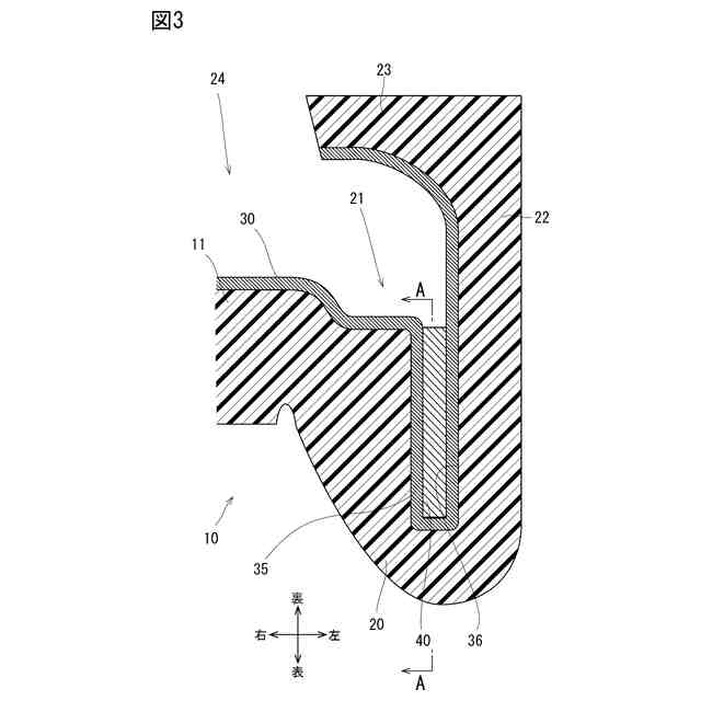
図3は、シートパッドの板状補強部材付近の拡大平断面図
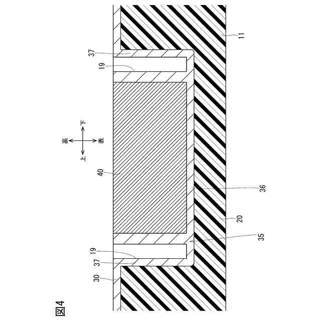
図4は、シートパッドの図3におけるA-A断面図
図5は、裏面材の袋部材の一部破断斜視図
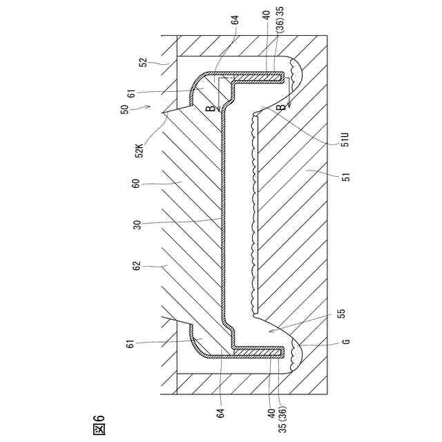
図6は、型閉じ状態の成形金型の断面図
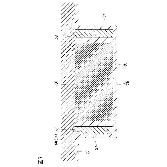
図7は、袋部材の図6におけるB-B断面図
図8は、上型に取り付けられた中型の断面図
図9は、中型の図8におけるC-C断面図
図10は、筒状部に支持体が挿通されて中型にセットされる袋部材の断面図
図11は、成形金型内で発泡成形されたシートパッドの断面図
図12は、成形金型内でシートパッドの発泡成形が行われたときの板状部材と袋部材の断面図
図13は、シートパッドが中型から外されるときに支持体が筒状部から引き抜かれる袋部材の断面図
図14は、他の例のシートパッドの平断面図
図15は、他の方法におけるシートパッドの製造用の成形金型にセットされた板状補強部材の断面図
図16は、他の実施形態のシートパッドに用いられる袋部材の一部破断斜視図
【発明を実施するための形態】
【0007】
[第1実施形態]
図1及び図2に示すように、本実施形態のシートパッド10は、シート90の背もたれ部92(シートバック)に用いられる、バックパッドである。本実施形態の例では、シート90は、車両の前席用のものであるが、後席用のものであってもよい。シートパッド10が適用されるシート90は、車両以外の乗り物用であってもよいし、建物用であってもよい。なお、例えば、背もたれ部92は、シートパッド10がカバー93で覆われた構成になっている。
【0008】
シートパッド10の側縁部は、表側に突出して、着座者を側方から支持するサイドサポート部20になっている。本実施形態の例では、サイドサポート部20は、シートパッド10の幅方向の両方の側縁部に設けられている。なお、以下では、シートパッド10のうち、着座者側を表側、その反対側を裏側、と適宜呼び、左右方向を、シートパッドの幅方向(サイドサポート部20の幅方向)と適宜呼ぶ。また、シートパッド10のうちサイドサポート部20が設けられた側縁部が延びる方向を、サイドサポート部20の長手方向と呼ぶ(長手方向は、背もたれ部92が鉛直上方に起立したときに上下方向となる)。
【0009】
シートパッド10の裏面(図2における上面)のうち、サイドサポート部20の裏面には、裏側凹部21が形成されている。シートパッド10の裏面(サイドサポート部20の裏面)のうち裏側凹部21よりも外側の縁部には、後側に突出する裏側張出部22が形成されている。裏側張出部22の張り出し先端部には、内側に(裏側から見て内側に)折れ曲がって裏側凹部21に裏側から対向するフランジ部23が形成されている。そして、シートパッド10の裏面のうち、シートパッド10の幅方向の両側の裏側張出部22同士の間の部分と、裏側凹部21とによって、シートパッド10を支持するバックフレームが受容されるフレーム受容部24が形成されている。
【0010】
図2に示すように、本実施形態の例では、シートパッド10には、弾性樹脂成形体(例えば発泡樹脂成形体)でありサイドサポート部20を側縁部に備えるシートパッド本体部11と、シートパッド本体部11の裏面に積層されて一体化した裏面材30と、が備えられている。本実施形態の例では、裏面材30は、シートパッド10の裏面のうち、フレーム受容部24の内面に配置されている(即ち、サイドサポート部の裏面にも積層されて一体になっている)。裏面材30は、本実施形態の例では、不織布で構成されるが、これに限定されるものではなく、樹脂フィルム等であってもよい。
(【0011】以降は省略されています)
この特許をJ-PlatPat(特許庁公式サイト)で参照する
関連特許
個人
カーテント
5か月前
個人
タイヤレバー
3か月前
個人
前輪キャスター
2か月前
個人
上部一体型自動車
28日前
個人
タイヤ脱落防止構造
2か月前
個人
ホイルのボルト締結
4か月前
個人
空間形成装置
1日前
個人
ルーフ付きトライク
2か月前
個人
マスタシリンダ
1か月前
個人
車両通過構造物
3か月前
日本精機株式会社
表示装置
3か月前
日本精機株式会社
表示装置
3か月前
井関農機株式会社
作業車両
4か月前
日本精機株式会社
表示装置
2か月前
日本精機株式会社
表示装置
3か月前
井関農機株式会社
作業車両
4か月前
個人
キャンピングトライク
4か月前
個人
乗合路線バスの客室装置
3か月前
個人
車両用スリップ防止装置
4か月前
個人
キャンピングトレーラー
4か月前
個人
アクセルのソフトウェア
4か月前
個人
常設収納型サンバイザー
7日前
個人
円湾曲ホイール及び球体輪
3か月前
個人
車載小物入れ兼雨傘収納具
4か月前
日本精機株式会社
車載表示装置
2日前
日本精機株式会社
車室演出装置
2か月前
個人
音声ガイド、音声サービス
3か月前
株式会社ニフコ
照明装置
2か月前
株式会社ニフコ
保持装置
4か月前
日本精機株式会社
車載表示装置
4日前
日本精機株式会社
車載表示装置
1か月前
個人
回転窓ワイパー装置
1日前
日本精機株式会社
車載表示装置
9日前
日本精機株式会社
車載表示装置
4か月前
株式会社豊田自動織機
産業車両
2か月前
株式会社ニフコ
収納装置
1か月前
続きを見る
他の特許を見る