TOP
|
特許
|
意匠
|
商標
特許ウォッチ
Twitter
他の特許を見る
公開番号
2025158293
公報種別
公開特許公報(A)
公開日
2025-10-17
出願番号
2024060689
出願日
2024-04-04
発明の名称
蓄電モジュール
出願人
トヨタ自動車株式会社
代理人
個人
主分類
H01M
50/342 20210101AFI20251009BHJP(基本的電気素子)
要約
【課題】本開示により、積層体の高温化により発生したガスを外部に排出可能な蓄電モジュールを提供すること。
【解決手段】本開示に係る蓄電モジュールは、複数の電極が積層された積層体10と、積層体10の側面の少なくとも一部に、蓄電モジュール1の天面部Uから底面部Lまで電極の積層方向に沿って設けられた樹脂部30と、積層体10の側面と樹脂部30とを囲むように設けられた封止体20と、を備え、樹脂部30の融点は、封止体20の融点より低い。
【選択図】図1
特許請求の範囲
【請求項1】
複数の電極が積層された積層体と、
前記積層体の側面の少なくとも一部に、蓄電モジュールの天面部から底面部まで前記電極の積層方向に沿って設けられた樹脂部と、
前記積層体の側面と前記樹脂部とを囲むように設けられた封止体と、を備え、
前記樹脂部の融点は、前記封止体の融点より低い、
蓄電モジュール。
発明の詳細な説明
【技術分野】
【0001】
本開示は、蓄電モジュールに関する。
続きを表示(約 1,300 文字)
【背景技術】
【0002】
例えば特許文献1に開示されているように、複数の電極が積層された積層体を備える蓄電モジュールを1又は複数備える蓄電装置が知られている。蓄電モジュールは、セパレータを介して複数のバイポーラ電極が積層された積層体を備えている。そして、積層体は、シール材やポッティング材などの封止体により、周囲を封止及び固定されている。
【先行技術文献】
【特許文献】
【0003】
特開2021-108243号公報
【発明の概要】
【発明が解決しようとする課題】
【0004】
特許文献1に開示された蓄電装置に関し、発明者は以下の問題点を見出した。積層体が熱暴走を起こした際、積層体からガスが発生する。しかし、積層体は封止体に覆われているため、発生したガスの逃げ場がない。よって、蓄電モジュール内部の熱が放熱されず、蓄電装置が破損する虞がある。
【0005】
本開示は、このような課題を解決するためになされたものであり、積層体の高温化により発生したガスを外部に排出可能な蓄電モジュールを提供する。
【課題を解決するための手段】
【0006】
本開示に係る蓄電モジュールは、複数の電極が積層された積層体と、前記積層体の側面の少なくとも一部に、蓄電モジュールの天面部から底面部まで前記電極の積層方向に沿って設けられた樹脂部と、前記積層体の側面と前記樹脂部とを囲むように設けられた封止体と、を備え、前記樹脂部の融点は、前記封止体の融点より低い。
【発明の効果】
【0007】
本開示により、積層体の高温化により発生したガスを外部に排出可能な蓄電モジュールを提供できる。
【図面の簡単な説明】
【0008】
図1は、本開示に係る蓄電モジュールの断面図である。
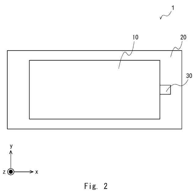
図2は、本開示に係る蓄電モジュールの平面図ある。
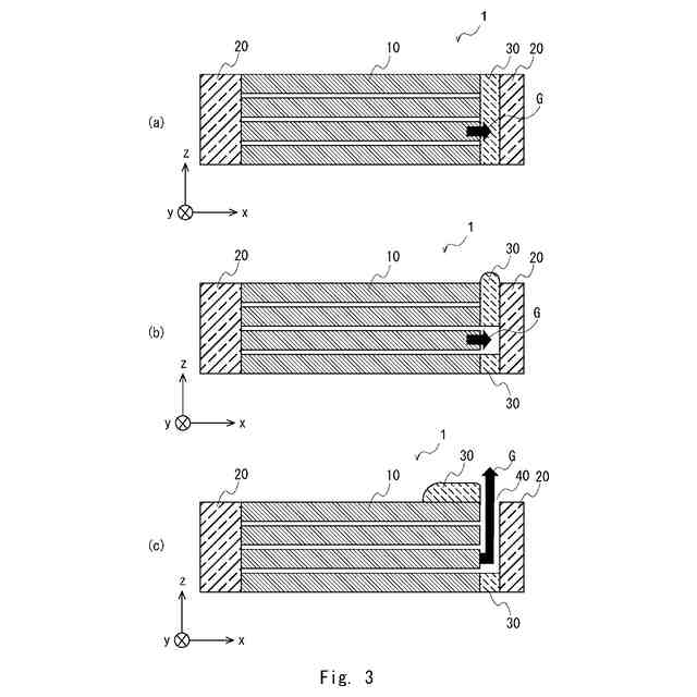
図3は、本開示に係る蓄電モジュールが熱暴走した際の説明図である。図3(a)は、熱暴走発生直後の状態、図3(b)は、樹脂部の溶け始めの状態、図3(c)は、樹脂部が蓄電モジュール外へ流れ出てガスの排出通路が形成された状態を示す。
【発明を実施するための形態】
【0009】
以下、発明の実施の形態を通じて本発明を説明するが、特許請求の範囲に係る発明を以下の実施形態に限定するものではない。また、実施形態で説明する構成の全てが課題を解決するための手段として必須であるとは限らない。説明の明確化のため、以下の記載及び図面は、適宜、省略、及び簡略化がなされている。各図面において、同一の要素には同一の符号が付されており、必要に応じて重複説明は省略されている。
【0010】
実施の形態1
<蓄電モジュール>
図1及び図2を参照して、本開示に係る蓄電モジュールの構成について説明する。図1は、本開示に係る蓄電モジュールの断面図である。図2は、本開示に係る蓄電モジュールの平面図ある。
(【0011】以降は省略されています)
この特許をJ-PlatPat(特許庁公式サイト)で参照する
関連特許
日機装株式会社
加圧装置
3日前
日新イオン機器株式会社
イオン源
3日前
個人
電源ボックス及び電子機器
3日前
株式会社東芝
電子源
3日前
株式会社トクミ
ケーブル
4日前
トヨタ自動車株式会社
蓄電装置構造
4日前
日本特殊陶業株式会社
アンテナ装置
5日前
日本航空電子工業株式会社
コネクタ
3日前
日本特殊陶業株式会社
アンテナ装置
5日前
三菱電機株式会社
半導体装置
3日前
日本特殊陶業株式会社
アンテナ装置
5日前
TDK株式会社
電子部品
5日前
株式会社ダイヘン
電圧調整装置
5日前
株式会社興電舎
励磁突入電流抑制方法
3日前
矢崎総業株式会社
接合装置
3日前
住友電気工業株式会社
半導体装置
4日前
新光電気工業株式会社
半導体装置
3日前
矢崎総業株式会社
コネクタ
4日前
矢崎総業株式会社
コネクタ
4日前
Astemo株式会社
電子制御装置
3日前
矢崎総業株式会社
ヒューズ接続端子
4日前
矢崎総業株式会社
端子防水構造
4日前
矢崎総業株式会社
電線固定構造
3日前
矢崎総業株式会社
端子防水構造
4日前
日本バイリーン株式会社
電気化学素子用セパレータ
4日前
矢崎総業株式会社
コネクタ
3日前
矢崎総業株式会社
コネクタ嵌合体
4日前
キヤノン電子管デバイス株式会社
電子管
4日前
富士電機株式会社
半導体装置
3日前
キヤノン株式会社
二次電池
5日前
ソフトバンク株式会社
ベースプレート
3日前
矢崎総業株式会社
端子付き電線
3日前
矢崎総業株式会社
コネクタ構造
3日前
TOTO株式会社
静電チャック
3日前
TOTO株式会社
静電チャック
4日前
矢崎総業株式会社
端子間接続構造
3日前
続きを見る
他の特許を見る