TOP
|
特許
|
意匠
|
商標
特許ウォッチ
Twitter
他の特許を見る
10個以上の画像は省略されています。
公開番号
2025157282
公報種別
公開特許公報(A)
公開日
2025-10-15
出願番号
2025110111,2022548256
出願日
2025-06-30,2021-08-30
発明の名称
表示装置
出願人
株式会社半導体エネルギー研究所
代理人
主分類
G09F
9/30 20060101AFI20251007BHJP(教育;暗号方法;表示;広告;シール)
要約
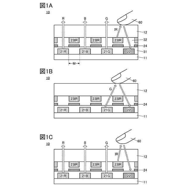
【課題】タッチ検出機能と指紋または静脈形状の撮像機能を兼ね備えた表示装置を提供する。
【解決手段】表示装置は、第1の発光素子と、第2の発光素子と、受光素子と、遮光層を有する。第1の発光素子と、受光素子とは、同一面上に並べて配置される。遮光層は、第1の発光素子及び受光素子よりも上部に設けられる。第2の発光素子は、遮光層よりも上部に設けられる。第1の発光素子は、上方に可視光を発する機能を有する。第2の発光素子は、上方に不可視光を発する機能を有する。受光素子は、可視光及び不可視光に感度を有する光電変換素子である。また、平面視において、遮光層は、第1の発光素子と受光素子の間に位置する部分を有する、また、平面視において、第2の発光素子は、遮光層と重なり、且つ、遮光層の輪郭よりも内側に位置する。
【選択図】図1
特許請求の範囲
【請求項1】
第1の発光素子と、第2の発光素子と、受光素子と、遮光層を有し、
前記第1の発光素子と、前記受光素子とは、同一面上に並べて配置され、
前記遮光層は、前記第1の発光素子及び前記受光素子よりも上部に設けられ、
前記第2の発光素子は、前記遮光層よりも上部に設けられ、
前記第1の発光素子は、上方に可視光を発する機能を有し、
前記第2の発光素子は、上方に不可視光を発する機能を有し、
前記受光素子は、前記可視光及び前記不可視光に感度を有する光電変換素子であり、
平面視において、
前記遮光層は、前記第1の発光素子と前記受光素子の間に位置する部分を有し、
前記第2の発光素子は、前記遮光層と重なり、且つ、前記遮光層の輪郭よりも内側に位置する、
表示装置。
発明の詳細な説明
【技術分野】
【0001】
本発明の一態様は、表示装置に関する。本発明の一態様は、撮像装置に関する。本発明の一態様は、タッチパネルに関する。
続きを表示(約 1,500 文字)
【0002】
なお、本発明の一態様は、上記の技術分野に限定されない。本明細書等で開示する本発明の一態様の技術分野としては、半導体装置、表示装置、発光装置、蓄電装置、記憶装置、電子機器、照明装置、入力装置、入出力装置、それらの駆動方法、又はそれらの製造方法、を一例として挙げることができる。半導体装置は、半導体特性を利用することで機能しうる装置全般を指す。
【背景技術】
【0003】
近年、スマートフォンなどの携帯電話、タブレット型情報端末、ノート型PC(パーソナルコンピュータ)などの情報端末機器が広く普及している。このような情報端末機器は個人情報が含まれることが多く、不正な利用を防止するための様々な認証技術が開発されている。
【0004】
例えば、特許文献1には、プッシュボタンスイッチ部に、指紋センサを備える電子機器が開示されている。
【先行技術文献】
【特許文献】
【0005】
米国特許出願公開第2014/0056493号明細書
【発明の概要】
【発明が解決しようとする課題】
【0006】
携帯情報端末機器として機能する電子機器に、指紋認証などの認証機能を付加する場合、指紋などを撮像するためのモジュールを電子機器に実装する必要がある。そのため、部品点数の増加に伴い、電子機器のコストが増大してしまう。
【0007】
本発明の一態様は、認証機能を有する電子機器のコストを低減することを課題の一とする。または、電子機器の部品点数を削減することを課題の一とする。または、指紋または静脈形状等を撮像することのできる表示装置を提供することを課題の一とする。または、タッチ検出機能と指紋または静脈形状の撮像機能を兼ね備えた表示装置を提供することを課題の一とする。または、指紋認証機能などの生体認証機能を備え、且つ画面占有率の高い電子機器を提供することを課題の一とする。または、可視光と赤外光の両方を発することのできる表示装置を提供することを課題の一とする。または、可視光と赤外光の両方を光源として撮像することのできる撮像装置を提供することを課題の一とする。
【0008】
本発明の一態様は、新規な構成を有する表示装置、撮像装置、または電子機器等を提供することを課題の一とする。本発明の一態様は、先行技術の問題点の少なくとも一を少なくとも軽減することを課題の一とする。
【0009】
なお、これらの課題の記載は、他の課題の存在を妨げるものではない。なお、本発明の一態様は、これらの課題の全てを解決する必要はないものとする。なお、これら以外の課題は、明細書、図面、請求項などの記載から抽出することが可能である。
【課題を解決するための手段】
【0010】
本発明の一態様は、第1の発光素子と、第2の発光素子と、受光素子と、遮光層を有する表示装置である。第1の発光素子と、受光素子とは、同一面上に並べて配置される。遮光層は、第1の発光素子及び受光素子よりも上部に設けられる。第2の発光素子は、遮光層よりも上部に設けられる。第1の発光素子は、上方に可視光を発する機能を有する。第2の発光素子は、上方に不可視光を発する機能を有する。受光素子は、可視光及び不可視光に感度を有する光電変換素子である。また、平面視において、遮光層は、第1の発光素子と受光素子の間に位置する部分を有する、また、平面視において、第2の発光素子は、遮光層と重なり、且つ、遮光層の輪郭よりも内側に位置する。
(【0011】以降は省略されています)
この特許をJ-PlatPat(特許庁公式サイト)で参照する
関連特許
個人
英語教材
今日
個人
回転式カード学習具
1か月前
日本精機株式会社
表示装置
3か月前
日本精機株式会社
表示装置
2か月前
日本精機株式会社
表示装置
27日前
個人
時刻表示機能つき手帳
2か月前
個人
計算用教具
23日前
中国電力株式会社
標示旗
1か月前
日本精機株式会社
車両用表示装置
2か月前
日本精機株式会社
車両用表示装置
2か月前
日本精機株式会社
車両用表示装置
2か月前
個人
微細構造を模した理科学習教材
6日前
個人
モデルで薔薇の花嫁様を描く為
1か月前
日本精機株式会社
車両用センサ装置
23日前
トヨタ自動車株式会社
評価方法
3か月前
シャープ株式会社
表示装置
1か月前
株式会社一弘社
情報表示板
1か月前
シャープ株式会社
表示装置
3か月前
株式会社ウメラボ
学習支援システム
13日前
個人
音楽教材
2か月前
個人
口唇閉鎖の訓練具
3か月前
パイオニア株式会社
表示装置
3か月前
株式会社ウメラボ
学習支援システム
19日前
株式会社半導体エネルギー研究所
半導体装置
2か月前
ニチレイマグネット株式会社
磁着式電飾装置
1か月前
株式会社ノジマ
応対体験システム
3か月前
リンテック株式会社
表示体
12日前
株式会社リコー
画像投射システム
1か月前
BEST株式会社
吊り下げ表示部材
2か月前
株式会社バンダイ
情報処理装置およびプログラム
3か月前
学校法人関西医科大学
腹腔鏡手術訓練装置
1か月前
株式会社サンゲツ
見本帳
2か月前
シチズンファインデバイス株式会社
液晶表示装置
1か月前
シチズンファインデバイス株式会社
液晶表示装置
2か月前
個人
サインポスト
2か月前
シャープ株式会社
表示装置
2か月前
続きを見る
他の特許を見る