TOP
|
特許
|
意匠
|
商標
特許ウォッチ
Twitter
他の特許を見る
10個以上の画像は省略されています。
公開番号
2025157205
公報種別
公開特許公報(A)
公開日
2025-10-15
出願番号
2025080053
出願日
2025-05-12
発明の名称
端末及び通信方法
出願人
株式会社NTTドコモ
代理人
弁理士法人ITOH
主分類
H04W
48/14 20090101AFI20251007BHJP(電気通信技術)
要約
【課題】省電力状態に遷移可能な基地局との通信におけるSSB(SS/PBCH block)アダプテーションに係る動作を適切に実行すること。
【解決手段】端末は、オンデマンドSSB(SS/PBCH block)送信に係る通知を基地局から受信する受信部と、前記オンデマンドSSBが送信されるセカンダリセルがアクティベーションされている場合、常時オンSSBがある周波数粒度において送信されることを想定する制御部とを有し、前記受信部は、前記セカンダリセルで前記オンデマンドSSBを前記基地局から受信し、前記周波数粒度において前記常時オンSSBを前記基地局から受信する。
【選択図】図14
特許請求の範囲
【請求項1】
オンデマンドSSB(SS/PBCH block)送信に係る通知を基地局から受信する受信部と、
前記オンデマンドSSBが送信されるセカンダリセルがアクティベーションされている場合、常時オンSSBがある周波数粒度において送信されることを想定する制御部とを有し、
前記受信部は、前記セカンダリセルで前記オンデマンドSSBを前記基地局から受信し、前記周波数粒度において前記常時オンSSBを前記基地局から受信する端末。
続きを表示(約 620 文字)
【請求項2】
前記受信部は、前記常時オンSSBをイニシャルダウンリンクBWP(Bandwidth Part)において受信する請求項1記載の端末。
【請求項3】
前記受信部は、前記常時オンSSBと同一のセルグループであるセカンダリセルにおいて、前記オンデマンドSSBを受信する請求項1記載の端末。
【請求項4】
前記受信部は、前記常時オンSSBが送信されるBWP(Bandwidth Part)が変更される通知を前記基地局から受信し、
前記制御部は、前記BWPが変更される通知を無視する請求項1記載の端末。
【請求項5】
前記受信部は、前記セカンダリセルがアクティベーションされる通知を前記基地局から受信し、
前記制御部は、前記セカンダリセルがアクティベーションされる通知を無視する請求項1記載の端末。
【請求項6】
オンデマンドSSB(SS/PBCH block)送信に係る通知を基地局から受信する手順と、
前記オンデマンドSSBが送信されるセカンダリセルがアクティベーションされている場合、常時オンSSBがある周波数粒度において送信されることを想定する手順と、
前記セカンダリセルで前記オンデマンドSSBを前記基地局から受信し、前記周波数粒度において前記常時オンSSBを前記基地局から受信する手順とを端末が実行する通信方法。
発明の詳細な説明
【技術分野】
【0001】
本発明は、無線通信システムにおける端末及び通信方法に関する。
続きを表示(約 2,300 文字)
【背景技術】
【0002】
LTE(Long Term Evolution)の後継システムであるNR(New Radio)(「5G」ともいう。)においては、要求条件として、大容量のシステム、高速なデータ伝送速度、低遅延、多数の端末の同時接続、低コスト、省電力等を満たす技術が検討されている(例えば非特許文献1)。
【0003】
また、3GPP(登録商標)のリリース18では、環境持続可能性、カーボンニュートラル、SDGs(Sustainable Development Goals)、運用コストの低減等を達成するため、ネットワークにおける省電力化(Network energy savings)が重要性を増し、省電力化する手法が検討されている(例えば非特許文献2)。
【先行技術文献】
【非特許文献】
【0004】
3GPP TS 38.300 V18.0.0 (2023-12)
"New WID: Network energy savings for NR", RP-223540, 3GPP TSG RAN Meeting #98-e, 2022年12月
3GPP TS 38.331 V18.0.0 (2023-12)
3GPP TS 38.211 V18.1.0 (2023-12)
3GPP TS 38.213 V18.1.0 (2023-12)
3GPP TS 38.321 V18.0.0 (2023-12)
【発明の概要】
【発明が解決しようとする課題】
【0005】
カーボンニュートラルとSDGsを達成するため、基地局の消費電力を節約することの重要性が高まっており、基地局における間欠送受信を導入することが検討されている。省電力状態(エナジーセービング、Energy saving、ES)をサポートするセルにおいて、SSB(SS/PBCH block)アダプテーションに係る動作を実行するとき、常時オンSSBの存在を考慮して、アダプテーションされたSSBを使用する測定等を実行する必要がある。
【0006】
本発明は上記の点に鑑みてなされたものであり、省電力状態に遷移可能な基地局との通信におけるSSB(SS/PBCH block)アダプテーションに係る動作を適切に実行することを目的とする。
【課題を解決するための手段】
【0007】
開示の技術によれば、オンデマンドSSB(SS/PBCH block)送信に係る通知を基地局から受信する受信部と、前記オンデマンドSSBが送信されるセカンダリセルがアクティベーションされている場合、常時オンSSBがある周波数粒度において送信されることを想定する制御部とを有し、前記受信部は、前記セカンダリセルで前記オンデマンドSSBを前記基地局から受信し、前記周波数粒度において前記常時オンSSBを前記基地局から受信する端末が提供される。
【発明の効果】
【0008】
開示の技術によれば、省電力状態に遷移可能な基地局との通信におけるSSB(SS/PBCH block)アダプテーションに係る動作を適切に実行することができる。
【図面の簡単な説明】
【0009】
本発明の実施の形態に係る無線通信システムについて説明するための図である。
NRリリース15におけるCDRXについて説明するための図である。
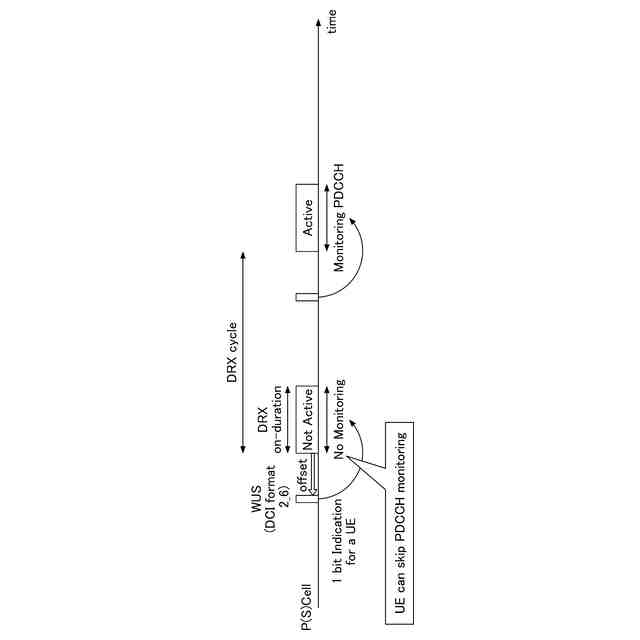
NRリリース16におけるWUSについて説明するための図である。
本発明の実施の形態の実施例1に係る基地局の間欠受信について説明するための図である。
本発明の実施の形態の実施例1に係る各パラメータについて説明するための図である。
本発明の実施の形態の実施例5に係る基地局の間欠送信について説明するための図である。
本発明の実施の形態の実施例5に係る各パラメータについて説明するための図である。
本発明の実施の形態の実施例9に係るOSI送信の例(1)を説明するためのシーケンス図である。
本発明の実施の形態の実施例9に係るOSI送信の例(2)を説明するためのシーケンス図である。
本発明の実施の形態の実施例9に係るオンデマンドSSBの例を示す図である。
本発明の実施の形態の実施例9に係るオンデマンドSSBに係る動作の例を説明するためのシーケンス図である。
本発明の実施の形態の実施例9に係るランダムアクセス手順の例を説明するためのシーケンス図である。
本発明の実施の形態の実施例9に係るSSBの例を説明するための図である。
本発明の実施の形態の実施例10に係るSSBアダプテーションの例(1)を説明するためのフローチャートである。
本発明の実施の形態の実施例10に係るSSBアダプテーションの例(2)を説明するためのフローチャートである。
本発明の実施の形態に係る基地局の機能構成の一例を示す図である。
本発明の実施の形態に係る端末の機能構成の一例を示す図である。
本発明の実施の形態に係る基地局又は端末のハードウェア構成の一例を示す図である。
【発明を実施するための形態】
【0010】
以下、図面を参照して本発明の実施の形態を説明する。なお、以下で説明する実施の形態は一例であり、本発明が適用される実施の形態は、以下の実施の形態に限られない。
(【0011】以降は省略されています)
この特許をJ-PlatPat(特許庁公式サイト)で参照する
関連特許
株式会社NTTドコモ
携帯端末
20日前
株式会社NTTドコモ
推定装置
20日前
株式会社NTTドコモ
移動通信端末
13日前
株式会社NTTドコモ
情報処理装置
20日前
株式会社NTTドコモ
情報処理装置
22日前
株式会社NTTドコモ
端末及び通信方法
今日
株式会社NTTドコモ
端末及び通信方法
1日前
株式会社NTTドコモ
端末及び通信方法
5日前
株式会社NTTドコモ
端末及び通信方法
2日前
株式会社NTTドコモ
端末及び通信方法
2日前
株式会社NTTドコモ
端末及び通信方法
26日前
株式会社NTTドコモ
端末及び通信方法
26日前
株式会社NTTドコモ
管理装置及び管理方法
5日前
株式会社NTTドコモ
管理装置及び管理方法
5日前
株式会社NTTドコモ
情報処理装置及び方法
14日前
株式会社NTTドコモ
情報処理装置及び方法
14日前
株式会社NTTドコモ
管理装置及び管理方法
5日前
株式会社NTTドコモ
端末、基地局及び通信方法
26日前
株式会社NTTドコモ
生成システム及び生成方法
12日前
株式会社NTTドコモ
測位支援装置及び測位支援方法
7日前
株式会社NTTドコモ
電力監視装置、及び、電力監視方法
7日前
株式会社NTTドコモ
基地局、ネットワークノード及び端末
26日前
株式会社NTTドコモ
最適化支援装置および最適化支援方法
20日前
株式会社NTTドコモ
端末
1日前
株式会社NTTドコモ
端末
7日前
株式会社NTTドコモ
太陽電池の配置支援装置及び太陽電池の配置支援方法
5日前
株式会社NTTドコモ
端末及び通信方法
14日前
株式会社NTTドコモ
端末及び通信方法
14日前
株式会社NTTドコモ
通信制御方法、端末、通信制御装置、通信制御システム、通信制御プログラム
12日前
株式会社NTTドコモ
端末、通信システム及び通信方法
14日前
株式会社NTTドコモ
無線通信ノード、および、無線通信方法
22日前
株式会社NTTドコモ
端末、無線通信システム及び無線通信方法
1日前
株式会社NTTドコモ
端末、無線通信システム及び無線通信方法
7日前
株式会社NTTドコモ
端末、無線通信方法、基地局及びシステム
14日前
株式会社NTTドコモ
端末、基地局、通信システム及び通信方法
14日前
株式会社NTTドコモ
端末、基地局、無線通信システム及び無線通信方法
14日前
続きを見る
他の特許を見る