TOP
|
特許
|
意匠
|
商標
特許ウォッチ
Twitter
他の特許を見る
10個以上の画像は省略されています。
公開番号
2025156997
公報種別
公開特許公報(A)
公開日
2025-10-15
出願番号
2024059801
出願日
2024-04-02
発明の名称
投射システム
出願人
セイコーエプソン株式会社
代理人
個人
,
個人
,
個人
,
個人
主分類
G03B
21/14 20060101AFI20251007BHJP(写真;映画;光波以外の波を使用する類似技術;電子写真;ホログラフイ)
要約
【課題】意匠的外観の低下を抑制しつつ、操作性に優れた投射システムを提供する。
【解決手段】本発明の投射システムは、投射面に投射される投射画像として光を射出するプロジェクターと、プロジェクターを収容する投射キャビネットと、物体が載置される保持部材と、を備える投射システムであって、投射キャビネットは、プロジェクターの構造に応じて配置された第1開口および投射キャビネットを使用者が把持するための第2開口を有するハウジングと、ハウジングに配置され、プロジェクターが設置される設置部と、を有し、保持部材は、第1開口および第2開口のうち少なくとも一方に着脱可能に取り付けられる。
【選択図】図5
特許請求の範囲
【請求項1】
投射面に投射される投射画像として光を射出するプロジェクターと、前記プロジェクターを収容する投射キャビネットと、物体が載置される保持部材と、を備える投射システムであって、
前記投射キャビネットは、前記プロジェクターの構造に応じて配置された第1開口および前記投射キャビネットを使用者が把持するための第2開口を有するハウジングと、前記ハウジングに配置され、前記プロジェクターが設置される設置部と、を有し、
前記保持部材は、前記第1開口および前記第2開口のうち少なくとも一方に着脱可能に取り付けられる、
投射システム。
続きを表示(約 1,200 文字)
【請求項2】
前記第1開口は、前記プロジェクターが内部に取り込んで前記プロジェクター内に配置される熱源を冷却するための空気が通過する吸気口であり、
前記保持部材は、前記吸気口に着脱可能に取り付けられる、
請求項1に記載の投射システム。
【請求項3】
前記第1開口は、前記プロジェクター内に配置された熱源を冷却して排出される排気が通過する排気口であり、
前記保持部材は、前記排気口に着脱可能に取り付けられる、
請求項1に記載の投射システム。
【請求項4】
前記保持部材は、
前記物体を載置して保持する保持面を有する保持部と、
前記保持面に沿う方向に沿って前記保持部から延出し、前記第1開口および前記第2開口のうち少なくとも一方に挿入される挿入部と、
前記保持面に交差する方向に沿って前記挿入部から延出し、前記ハウジングの内壁に当接する第1係止部と、
前記保持面に対して前記第1係止部が延出する側と反対側に設けられ、前記挿入部の根元側で前記ハウジングの外壁に当接する第2係止部と、
を有する、
請求項2または請求項3に記載の投射システム。
【請求項5】
前記保持部材は、前記保持部に設けられ前記保持面を貫通する貫通口を有する、
請求項4に記載の投射システム。
【請求項6】
前記保持部材が取り付けられる少なくとも前記第1開口および前記第2開口のうち一方は、前記投射面を正面にして前記ハウジングの側方に配置されている、
請求項1から請求項3のうちのいずれか一項に記載の投射システム。
【請求項7】
前記保持部材は、折り曲げ加工された1枚の金属板により構成されている、
請求項1から請求項3のうちのいずれか一項に記載の投射システム。
【請求項8】
前記第1開口は、前記プロジェクターから射出された光が通過する投射口であり、
前記保持部材は、前記投射口に着脱可能に取り付けられる、
請求項1に記載の投射システム。
【請求項9】
前記保持部材は、
前記物体が載置される保持面を有する保持部と、
前記保持面に沿う方向に沿って前記保持部から延出し、前記ハウジングの外壁に当接する第1係止部と、
前記保持面に交差する方向に沿って前記第1係止部から延出し、前記投射口の内周縁に当接する第2係止部と、
前記保持面に沿う方向に沿って前記第2係止部から延出し、前記ハウジングの内壁に当接する第3係止部と、
を有する、
請求項8に記載の投射システム。
【請求項10】
前記保持部材は、前記保持部に設けられ前記保持面を貫通する貫通口を有する、
請求項9に記載の投射システム。
(【請求項11】以降は省略されています)
発明の詳細な説明
【技術分野】
【0001】
本発明は、投射システムに関する。
続きを表示(約 2,500 文字)
【背景技術】
【0002】
プロジェクターを載置した状態で移動可能な什器として、特許文献1、2に記載のキャビネットが知られている。特許文献1に記載のキャビネットは、プロジェクターを操作する操作用機器を内部の棚板に載置した状態で天板にプロジェクターを載置する構造を採用している。また、特許文献2に記載のキャビネットは、キャビネット本体の側板に設けられた複数の取付孔に取り付けた物品保持部材によって操作用機器等の物品を保持する構造を採用している。
【先行技術文献】
【特許文献】
【0003】
特開2000-287764号公報
特開2003-009967号公報
【発明の概要】
【発明が解決しようとする課題】
【0004】
上記特許文献1に記載のキャビネットでは、キャビネット内部の操作用機器を操作する場合、天板からプロジェクターを移動させる必要があるため、操作用機器へのアクセスに手間がかかりユーザーにとって不便であった。また、上記特許文献2に記載のキャビネットでは、キャビネット本体に設けられた複数の取付孔によりキャビネットの意匠的外観が損なわれてしまう。
【課題を解決するための手段】
【0005】
上記の課題を解決するために、本発明の1つの態様によれば、投射面に投射される投射画像として光を射出するプロジェクターと、前記プロジェクターを収容する投射キャビネットと、物体が載置される保持部材と、を備える投射システムであって、前記投射キャビネットは、前記プロジェクターの構造に応じて配置された第1開口および前記投射キャビネットを使用者が把持するための第2開口を有するハウジングと、前記ハウジングに配置され、前記プロジェクターが設置される設置部と、を備え、前記保持部材は、前記第1開口および前記第2開口のうち少なくとも一方に着脱可能に取り付けられる、投射システムが提供される。
【図面の簡単な説明】
【0006】
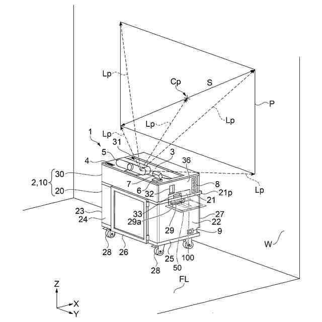
第1実施形態の投射システムの構成および設置態様を示す正面斜視図である。
投射システムの概略構成および設置の態様を示す背面斜視図である。
投射システムの概略構成および設置の態様を示す右側面図である。
投射システムの概略構成および設置の態様を示す上面図である。
投射キャビネットの分解斜視図である。
キャビネット本体の分解斜視図である。
投射キャビネットの概略構成を示す正面斜視図である。
投射キャビネットの概略構成を示す背面斜視図である。
突起の拡大右側面図である。
保持部材の構成を示す斜視図である。
保持部材を第1穴に取り付けた状態を示す断面図である。
操作パネルの平面図である。
コントローラーの構成を示すブロック図である。
投射キャビネットのケーブリングの一例を示す図である。
第2実施形態の保持部材の概略構成を示す斜視図である。
保持部材をキャビネット本体に取り付けた状態を示す断面図である。
第3実施形態の保持部材の概略構成を示す斜視図である。
保持部材をキャビネット本体に取り付けた状態を示す断面図である。
【発明を実施するための形態】
【0007】
以下、本発明の実施形態について、図面を参照して説明する。
なお、以下の各図面においては各構成要素を見やすくするため、構成要素によってサイズの縮尺を異ならせて示すことがある。
また、以下では、説明の便宜上、互いに直交する3つの軸をX軸、Y軸およびZ軸とし、X軸に平行な方向を「X軸方向」、Y軸に平行な方向を「Y軸方向」、Z軸に平行な方向を「Z軸方向」とも言う。また、各軸の矢印方向先端側を「プラス側」とも言い、反対側を「マイナス側」とも言う。また、以下では、X軸方向マイナス側の面を「正面」、X軸方向プラス側の面を「背面」、Y軸方向マイナス側の面を「左側面」、Y軸方向プラス側の面を「右側面」、Z軸方向プラス側の面を「上面」、Z軸方向マイナス側の面を「下面」とも言う。
【0008】
(第1実施形態)
本発明の投射システムの一実施形態について図面を参照しつつ説明する。
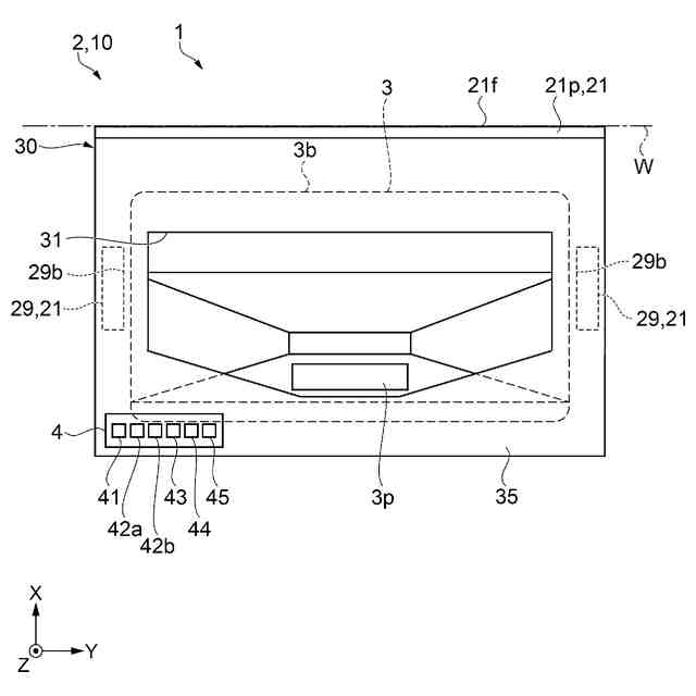
図1は、本実施形態の投射システム1の概略構成および設置の態様を示す正面斜視図である。図2は、投射システム1の概略構成および設置の態様を示す背面斜視図である。図3は、投射システム1の概略構成および設置の態様を示す右側面図である。図4は、投射システム1の概略構成および設置の態様を示す上面図である。なお、図3および図4では、後述するWebカメラ5、コントローラー6、補正ユニット7、および保持部材50の記載を省略している。
【0009】
図1または図2に示すように、投射システム1は、投射キャビネット2と、投射キャビネット2に搭載されるプロジェクター3と、プロジェクター3に対して所定の信号を出力する出力機器100が載置される保持部材50と、を有する。投射キャビネット2は、什器と言い換えることができる。出力機器100には、例えば、パーソナルコンピューター、あるいは、タブレットやスマートフォンの携帯可能な端末機器等が用いられている。
【0010】
投射キャビネット2は、キャビネット本体10と操作パネル4とを有する。本実施形態において、キャビネット本体10は、ハウジングの一例である。本実施形態において、出力機器100は、物体の一例である。すなわち、本実施形態において物体の一例である出力機器100は、投射システム1の使用者であるユーザーによって操作される操作体である。
キャビネット本体10は、ロアアセンブリ20とアッパーアセンブリ30とを有し、全体として、箱型である。
保持部材50は、キャビネット本体10に対して着脱可能に取り付けられる。保持部材50の構成については後述する。
(【0011】以降は省略されています)
この特許をJ-PlatPat(特許庁公式サイト)で参照する
関連特許
セイコーエプソン株式会社
印刷装置
3日前
セイコーエプソン株式会社
投射システム
5日前
セイコーエプソン株式会社
シート製造装置
4日前
セイコーエプソン株式会社
半導体装置及び電子機器
3日前
セイコーエプソン株式会社
物理量センサーの製造方法
4日前
セイコーエプソン株式会社
搬送装置及び印刷装置
3日前
セイコーエプソン株式会社
カートリッジ、印刷システム、および、印刷装置
3日前
個人
表示装置
5日前
個人
雨用レンズカバー
3日前
株式会社シグマ
絞りユニット
1か月前
キヤノン株式会社
撮像装置
25日前
日本精機株式会社
車両用投射装置
11日前
キヤノン株式会社
撮像装置
1か月前
平和精機工業株式会社
雲台
1か月前
キヤノン株式会社
撮像装置
1か月前
株式会社リコー
画像形成装置
1か月前
株式会社リコー
画像形成装置
1か月前
株式会社リコー
画像形成装置
2か月前
株式会社リコー
画像形成装置
21日前
株式会社リコー
画像形成装置
2か月前
株式会社リコー
画像形成装置
2か月前
キヤノン株式会社
トナー
17日前
シャープ株式会社
画像形成装置
2か月前
ブラザー工業株式会社
再生方法
2か月前
キヤノン株式会社
トナー
1か月前
キヤノン株式会社
画像形成装置
2か月前
キヤノン株式会社
画像形成装置
2か月前
キヤノン株式会社
画像形成装置
2か月前
キヤノン株式会社
画像形成装置
2か月前
キヤノン株式会社
トナー
12日前
キヤノン株式会社
画像形成装置
1か月前
株式会社オプトル
プロジェクタ
2か月前
キヤノン株式会社
画像形成装置
2か月前
キヤノン株式会社
画像形成装置
6日前
キヤノン株式会社
画像形成装置
2か月前
株式会社オプトル
プロジェクタ
24日前
続きを見る
他の特許を見る