TOP
|
特許
|
意匠
|
商標
特許ウォッチ
Twitter
他の特許を見る
公開番号
2025156734
公報種別
公開特許公報(A)
公開日
2025-10-15
出願番号
2024059332
出願日
2024-04-02
発明の名称
通信装置、制御方法、プログラム
出願人
キヤノン株式会社
代理人
個人
,
個人
,
個人
主分類
H04W
48/16 20090101AFI20251007BHJP(電気通信技術)
要約
【課題】安定した接続が維持されやすい態様でDC接続を実現できる仕組みを提供する。
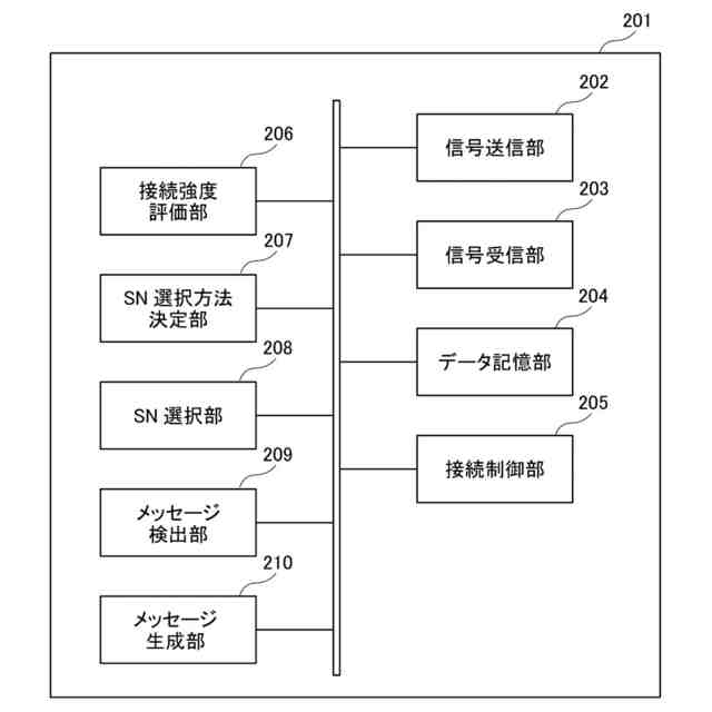
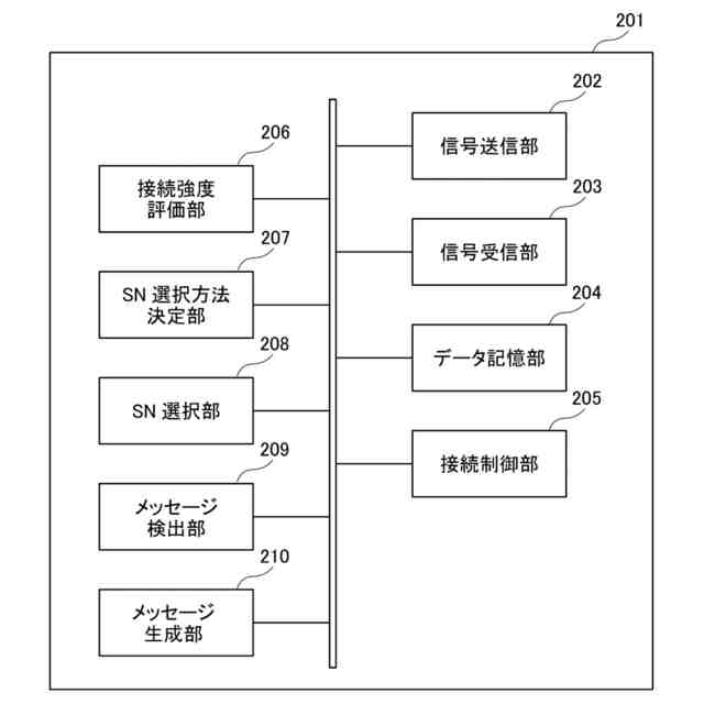
【解決手段】IAB(Integrated Access and Backhaul)ドナーとして動作可能な通信装置であって、自装置に第1の通信装置を介して接続する第2の通信装置が存在する第1状況、又は、自装置に直接的に接続する第2の通信装置が存在する第2状況において、第2の通信装置に関する切断の可能性を評価する評価手段と、第2の通信装置が接続可能な1つ以上の基地局の基地局種別を取得する第1の取得手段と、第2の通信装置にSN(Secondary Node)を割り当てる手段と、1つ以上の基地局のうちから、評価手段による評価結果と、1つ以上の基地局の基地局種別とに基づいて、一の基地局をSNとして選択する選択手段とを有することを特徴とする、通信装置が開示される。
【選択図】図2
特許請求の範囲
【請求項1】
IAB(Integrated Access and Backhaul)ドナーとして動作可能な通信装置であって、
自装置に第1の通信装置を介して接続する第2の通信装置が存在する第1状況、又は、自装置に直接的に接続する第2の通信装置が存在する第2状況において、前記第2の通信装置に関する切断の可能性を評価する評価手段と、
前記第2の通信装置が接続可能な1つ以上の基地局の基地局種別を取得する第1の取得手段と、
前記第2の通信装置にSN(Secondary Node)を割り当てる手段と、
前記1つ以上の基地局のうちから、前記評価手段による評価結果と、前記1つ以上の基地局の基地局種別とに基づいて、一の基地局を前記SNとして選択する選択手段とを有することを特徴とする、通信装置。
続きを表示(約 1,300 文字)
【請求項2】
前記選択手段は、前記第1状況において、前記評価手段が切断の可能性が所定基準より高いと評価した場合、前記基地局種別に基づいて、前記1つ以上の基地局のうちから、前記一の基地局を選択することを特徴とする、請求項1に記載の通信装置。
【請求項3】
前記基地局種別は、固定基地局を特定可能な種別情報を含むことを特徴とする、請求項2に記載の通信装置。
【請求項4】
前記評価手段は、前記第1状況において前記第1の通信装置が固定基地局である場合、前記評価手段が切断の可能性が前記所定基準より高いと評価する、請求項3に記載の通信装置。
【請求項5】
前記第1の通信装置のモビリティ情報を取得する第2の取得手段を更に有し、
前記モビリティ情報は、位置情報、移動速度、移動方向、停止中か移動中かの状態、停止時間、及び停止予定時間のうちの少なくともいずれか1つを含み、
前記評価手段は、前記第1状況において前記第1の通信装置が固定基地局でない場合、前記第1の通信装置の前記モビリティ情報に基づいて、前記切断の可能性を評価することを特徴とする、請求項4に記載の通信装置。
【請求項6】
MBSR(Mobile Base Station Relay)からのモビリティ情報を取得する第3の取得手段を更に有し、
前記モビリティ情報は、停止中か移動中かの状態を含み、
前記基地局種別は、固定基地局を特定可能な種別情報と、MBSRを特定可能な種別情報とを含み、
前記選択手段は、前記第1状況において、前記評価手段が切断の可能性が所定基準より高いと評価した場合、かつ、前記基地局種別に基づいて前記1つ以上の基地局が固定基地局を含まない場合、前記基地局種別及び前記モビリティ情報に基づいて、前記1つ以上の基地局のうちの停止中のMBSRを、前記一の基地局として選択することを特徴とする、請求項1に記載の通信装置。
【請求項7】
前記第2の通信装置の接続先を変更する手段を有し、
前記評価手段が切断の可能性が所定基準より高いと評価した場合、かつ、前記選択手段によりMBSRが前記一の基地局として選択された場合、前記第2の通信装置の接続先を、自装置とは異なる他の固定基地局に変更することを特徴とする、請求項1に記載の通信装置。
【請求項8】
前記固定基地局は、gNB(next Generation Node B)、IABノード、又はIABドナーを含むことを特徴とする、請求項3から7のうちのいずれか1項に記載の通信装置。
【請求項9】
前記評価手段は、前記第2状況においては、前記評価手段が切断の可能性が所定基準より低いと評価する、請求項1に記載の通信装置。
【請求項10】
前記1つ以上の基地局の電波品質を取得する第4の取得手段を更に有し、
前記選択手段は、前記評価手段が切断の可能性が所定基準より低いと評価した場合、前記1つ以上の基地局のうちから、前記一の基地局を電波品質に基づいて選択することを特徴とする、請求項1に記載の通信装置。
(【請求項11】以降は省略されています)
発明の詳細な説明
【技術分野】
【0001】
本開示は、通信装置、制御方法、プログラムに関する。
続きを表示(約 1,700 文字)
【背景技術】
【0002】
3GPP(3rd Generation Partnership Project)において、バックホール用の通信技術としてIAB(Integrated Access and Backhaul)の規格化が進んでいる。
【0003】
IAB技術は、基地局とユーザ機器(UE:User Equipment)との間のアクセス通信に用いられる28GHz帯等のミリ波無線通信を、バックホール通信として同時に利用する技術である(特許文献1)。
【0004】
IAB技術を用いたバックホール通信においては、IABノードと呼ばれる中継機器が、基地局であるIABドナーからの通信をミリ波通信により中継する。
【0005】
IAB技術を用いることで、従来の光ファイバーなどによる有線通信と比較して低コストでエリアのカバレッジを広げることができる。
【0006】
これまで3GPPでは、Rel-17まで固定基地局(移動を伴わないIABノード)について仕様策定を実施してきた。
【0007】
現在、3GPPでは次期Rel-18でユースケースとなる車載リレー(Vehicle Mounted Relay)と、そのユースケースを実現するための仕様策定としてMBSRの議論を積極的に行っていくことを予定している。MBSRは、Mobile Base Station Relayの略語である。例えば「移動基地局リレーの許可と設定」という議論項目では、以下を想定している。すなわち、都市環境や指定された地域での大規模イベント等の間、特別なカバレッジと接続を実現するために、一時的に車両に搭載されたMBSRが中継器として機能し、UEへサービスを提供することを想定している。車両に搭載されたMBSRは移動しながらサービス提供を行うことができ、これまで議論されてきた固定基地局を想定した仕様だけでは満たせない様々な要件が出てくることが考えられる。
【0008】
また、3GPPにおいて、デュアルコネクティビティ(Dual Connectivity(DC))と呼ばれる技術も規格化されている。DCでは、UEはマスタノード(Master Node(MN))及びセカンダリノード(Secondary Node(SN))と呼ばれる2つの基地局に同時に接続する。そして、UEは、2つの基地局でサポートされるコンポーネントキャリアを使用して通信を行う。これにより、通信の高速化や接続の冗長性を高めることができる。
【先行技術文献】
【特許文献】
【0009】
特表2019-534625号公報
【発明の概要】
【発明が解決しようとする課題】
【0010】
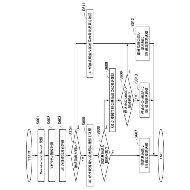
今後、MBSRが普及しMBSRが一般に広く利用されるようになってくると、特に都市部の屋外において、UEの接続先は固定基地局ではなくMBSRとなる機会が増えると考えられる。UEは周囲の基地局の中から電波品質の一番良いものと接続する。遠くの固定基地局よりも周囲に居るMBSRのほうが電波品質が良く、UEはMBSRのほうに接続する。しかしながら、従来の固定基地局とは異なりMBSRは移動するため、MBSRとの接続は固定基地局との接続に比べて切断する可能性が高い。接続の冗長性を高める方法として、UEにSNを割り当ててDCにより接続させる方法がある。しかしながら、割り当てられたSNがMBSRだった場合、同様にSNとの接続は切断の可能性が高く接続の冗長性はそれほど向上しない。SNの選択はMNの役割であり、基本的にUEとの電波品質がよい基地局が割り当てられる。UEとの電波品質はMeasurement ReportによりUEから通知される。したがって、UEの周囲にMBSRがいる場合、電波品質の良いMBSRがSNに選ばれてしまう。
(【0011】以降は省略されています)
この特許をJ-PlatPat(特許庁公式サイト)で参照する
関連特許
キヤノン株式会社
トナー
9日前
キヤノン株式会社
トナー
9日前
キヤノン株式会社
トナー
14日前
キヤノン株式会社
トナー
9日前
キヤノン株式会社
現像容器
7日前
キヤノン株式会社
現像装置
7日前
キヤノン株式会社
現像容器
7日前
キヤノン株式会社
測距装置
2日前
キヤノン株式会社
現像装置
今日
キヤノン株式会社
撮影装置
7日前
キヤノン株式会社
撮像装置
14日前
キヤノン株式会社
現像装置
7日前
キヤノン株式会社
定着装置
8日前
キヤノン株式会社
撮像装置
10日前
キヤノン株式会社
記録装置
7日前
キヤノン株式会社
光学センサ
9日前
キヤノン株式会社
モジュール
9日前
キヤノン株式会社
画像形成装置
10日前
キヤノン株式会社
画像形成装置
10日前
キヤノン株式会社
画像形成装置
3日前
キヤノン株式会社
画像形成装置
1日前
キヤノン株式会社
画像形成装置
1日前
キヤノン株式会社
情報処理装置
7日前
キヤノン株式会社
画像形成装置
10日前
キヤノン株式会社
画像処理装置
7日前
キヤノン株式会社
カートリッジ
7日前
キヤノン株式会社
画像形成装置
7日前
キヤノン株式会社
画像形成装置
7日前
キヤノン株式会社
画像形成装置
7日前
キヤノン株式会社
画像形成装置
1日前
キヤノン株式会社
画像形成装置
3日前
キヤノン株式会社
カートリッジ
7日前
キヤノン株式会社
画像形成装置
14日前
キヤノン株式会社
画像形成装置
10日前
キヤノン株式会社
画像形成装置
14日前
キヤノン株式会社
画像表示装置
14日前
続きを見る
他の特許を見る