TOP
|
特許
|
意匠
|
商標
特許ウォッチ
Twitter
他の特許を見る
10個以上の画像は省略されています。
公開番号
2025156702
公報種別
公開特許公報(A)
公開日
2025-10-15
出願番号
2024059275
出願日
2024-04-02
発明の名称
巻線装置
出願人
株式会社タナカエンジニアリング
代理人
個人
,
個人
,
個人
,
個人
,
個人
主分類
H01F
41/066 20160101AFI20251007BHJP(基本的電気素子)
要約
【課題】銅線の全周に接着剤を塗布することができ、且つ塗膜がガイドローラで掻き取られることがない巻線装置を提供する。
【解決手段】塗布具20に接着剤が供給され、この塗布具20の通穴を銅線11が通過する。この通過の過程で銅線11の全周に満遍なく接着剤が塗布される。塗布具20がガイドローラ45の下流側に配置されている。ガイドローラ45で塗膜が掻きとられることはない。
【選択図】図7
特許請求の範囲
【請求項1】
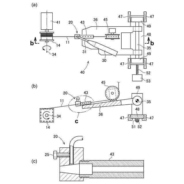
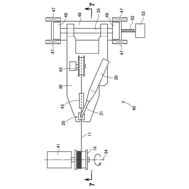
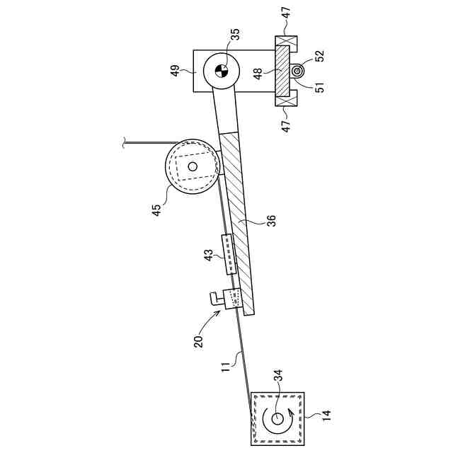
主軸モータで回される巻枠に筒状ガイドで案内される銅線を巻きつける巻線装置であって、
この巻線装置は、前記筒状ガイドと前記巻枠との間に、前記銅線へ接着剤を塗布する塗布具を備え、
この塗布具は、前記銅線を通す通穴を有し、この通穴は出口が前記銅線の外径に対応する穴径とされ、入口は絞られずに前記出口より大径とされ、
さらに、前記塗布具は、前記巻枠の巻半径が変化することに伴って振れる前記銅線で押されたときに、移動可能に支持されていることを特徴とする巻線装置。
続きを表示(約 670 文字)
【請求項2】
請求項1記載の巻線装置であって、
粘度が5~100Pa・sであるものを中粘度、この中粘度より流動性の低いものを高粘度と定義するときに、前記接着剤は、中粘度又は高粘度であって常温では硬化しない熱硬化性の接着剤であることを特徴とする巻線装置。
【請求項3】
請求項1記載の巻線装置であって、
前記通穴は、テーパ穴であることを特徴とする巻線装置。
【請求項4】
請求項1記載の巻線装置であって、
この巻線装置は、前記巻枠から一定距離離れて配置され、且つ前記巻枠の回転軸に平行に配置される支軸を中心にスイングするブラケットをさらに備え、
このブラケットに、前記塗布具と、前記筒状ガイドとが支持されていることを特徴とする巻線装置。
【請求項5】
請求項1記載の巻線装置であって、
この巻線装置は、前記巻枠から一定距離離れて配置され、且つ前記巻枠の回転軸に平行に配置される支軸を中心にスイングするブラケットをさらに備え、
このブラケットに、前記筒状ガイドが支持され、この筒状ガイドで前記塗布具が支持されていることを特徴とする巻線装置。
【請求項6】
請求項1記載の巻線装置であって、
この巻線装置は、前記巻枠から一定距離離れて配置され、且つ前記巻枠の回転軸に平行に配置される支軸を中心にスイングするブラケットをさらに備え、
このブラケットに、前記塗布具が支持されていることを特徴とする巻線装置。
発明の詳細な説明
【技術分野】
【0001】
本発明は、銅線に接着剤を塗布し、この銅線を巻枠へ巻きつける巻線装置に関する。
続きを表示(約 1,200 文字)
【背景技術】
【0002】
モータ巻線はモータを構成する要素の一つである。モータ巻線では、巻枠に銅線が密に巻かれている。銅線の巻姿が崩れるとモータの性能に悪影響がでる。そこで、銅線を接着剤で固定することが従来から行われてきた。
【0003】
例えば、槽にワニスを溜め、このワニスに巻かれた銅線を浸す。細部までワニスが含浸したら引き上げ、乾燥する。
引き上げた際に余剰のワニスが垂れる。また、乾燥には24時間程度を要する。よって、ワニス浸漬法は、ワニスの無駄使いが発生すると共に生産性が低く、改良の余地がある。
【0004】
そこで、改良案として、接着剤を刷毛で塗ることが提案されてきた(例えば、特許文献1(図1)参照)。
【0005】
特許文献1を次図に基づいて説明する。
図11は従来の巻線装置の基本構成を説明する図である。
図11にて、巻枠101が主軸モータ102で所定方向へ回されると、銅線103はドラム104から第1中継ローラ105、第2中継ローラ106及び最終中継ローラ107で案内されつつ巻枠101に巻かれる。
【0006】
第2中継ローラ106と最終中継ローラ107の間にシリンダ108と刷毛109が配置されており、シリンダ108から適量の接着剤が銅線103へ吐出され、吐出された接着剤が刷毛109で均される。
【0007】
第2中継ローラ106と最終中継ローラ107とで案内されるため、これらの間では銅線103は、図面左右へ振れない。この振れない箇所に、シリンダ108と刷毛109とを配置したため、刷毛109の作用、すなわち挙動が一定になる。
結果、特許文献1の技術によれば、接着剤の塗布厚さを一定にすることができるという効果が得られる。
【0008】
しかし、特許文献1の技術は、特定の条件下では、十分な作用効果が得られないことがわかった。
特定の条件とは、銅線103の断面において、全周に接着剤を塗布することである。巻枠101の部位において、隣り合う銅線103同士の接着性能(固定性能)を強化するために、銅線103の全周に接着材を塗布することが求められることがある。
【0009】
特許文献1の技術では、銅線103のほぼ半周だけに接着剤を塗布するために、改良が求められる。
そこで、本発明者らは、図11において、想像線で示すシリンダ108Bと刷毛109Bを追加することを検討した。これであれば、銅線103の全周に接着剤を塗布することができるからである。
【0010】
しかし、シリンダ108Bで吐出され、刷毛109Bで均された塗膜の一部が最終中継ローラ107で掻き取られるという不具合が発生する。したがって、この改良案は不十分であることが判明した。
(【0011】以降は省略されています)
この特許をJ-PlatPat(特許庁公式サイト)で参照する
関連特許
東ソー株式会社
絶縁電線
1日前
個人
フレキシブル電気化学素子
13日前
ローム株式会社
半導体装置
20日前
ローム株式会社
半導体装置
15日前
ローム株式会社
半導体装置
今日
日新イオン機器株式会社
イオン源
9日前
株式会社ユーシン
操作装置
13日前
太陽誘電株式会社
コイル部品
13日前
株式会社GSユアサ
蓄電装置
20日前
株式会社ホロン
冷陰極電子源
7日前
太陽誘電株式会社
全固体電池
20日前
株式会社GSユアサ
蓄電設備
13日前
オムロン株式会社
電磁継電器
14日前
株式会社GSユアサ
蓄電設備
13日前
株式会社ホロン
冷陰極電子源
20日前
日本特殊陶業株式会社
保持装置
20日前
日本特殊陶業株式会社
保持装置
20日前
トヨタ自動車株式会社
バッテリ
14日前
ノリタケ株式会社
熱伝導シート
13日前
TDK株式会社
電子部品
20日前
トヨタ自動車株式会社
蓄電装置
13日前
日東電工株式会社
積層体
14日前
日本特殊陶業株式会社
保持装置
2日前
トヨタ自動車株式会社
冷却構造
1日前
サクサ株式会社
電池の固定構造
13日前
トヨタ自動車株式会社
電池パック
6日前
住友電装株式会社
コネクタ
1日前
TDK株式会社
コイル部品
20日前
日本特殊陶業株式会社
電極
20日前
トヨタ自動車株式会社
電池パック
6日前
東レエンジニアリング株式会社
実装装置
20日前
日本特殊陶業株式会社
電極
20日前
東レエンジニアリング株式会社
実装装置
14日前
日本特殊陶業株式会社
電極
20日前
株式会社トクヤマ
シリコンエッチング液
7日前
株式会社トクヤマ
シリコンエッチング液
7日前
続きを見る
他の特許を見る