TOP
|
特許
|
意匠
|
商標
特許ウォッチ
Twitter
他の特許を見る
10個以上の画像は省略されています。
公開番号
2025155858
公報種別
公開特許公報(A)
公開日
2025-10-14
出願番号
2025016452
出願日
2025-02-03
発明の名称
端末及び測定方法
出願人
株式会社NTTドコモ
代理人
弁理士法人ITOH
主分類
H04W
24/10 20090101AFI20251006BHJP(電気通信技術)
要約
【課題】省電力状態に遷移可能な基地局から送信されるオンデマンドSSB(SS/PBCH Block)を測定すること。
【解決手段】端末は、オンデマンドSSB(SS/PBCH Block)を使用する測定を実行するための測定設定を基地局から受信する受信部と、前記測定設定に含まれるインデックスに基づいて、測定するオンデマンドSSB及び常時オンSSBの少なくとも一つを決定する制御部とを有し、前記制御部は、前記決定した測定するオンデマンドSSB及び常時オンSSBの少なくとも一つを測定する。
【選択図】図12
特許請求の範囲
【請求項1】
オンデマンドSSB(SS/PBCH Block)を使用する測定を実行するための測定設定を基地局から受信する受信部と、
前記測定設定に含まれるインデックスに基づいて、測定するオンデマンドSSB及び常時オンSSBの少なくとも一つを決定する制御部とを有し、
前記制御部は、前記決定した測定するオンデマンドSSB及び常時オンSSBの少なくとも一つを測定する端末。
続きを表示(約 510 文字)
【請求項2】
前記制御部は、前記測定設定に含まれるインデックスに基づいて、オンデマンドSSB及び常時オンSSBの両方を測定対象とする請求項1記載の端末。
【請求項3】
前記制御部は、前記測定設定に基づいて、複数の周期の測定を同時に実行する請求項1記載の端末。
【請求項4】
前記制御部は、前記測定設定に基づいて、オンデマンドSSBの周期及び常時オンSSBの周期の測定を同時に実行する請求項1記載の端末。
【請求項5】
前記制御部は、前記測定設定に含まれるインデックスが、オンデマンドSSB及び常時オンSSBとで分離されていると想定する請求項1記載の端末。
【請求項6】
オンデマンドSSB(SS/PBCH Block)を使用する測定を実行するための測定設定を基地局から受信する手順と、
前記測定設定に含まれるインデックスに基づいて、測定するオンデマンドSSB及び常時オンSSBの少なくとも一つを決定する手順と、
前記決定した測定するオンデマンドSSB及び常時オンSSBの少なくとも一つを測定する手順とを端末が実行する測定方法。
発明の詳細な説明
【技術分野】
【0001】
本発明は、無線通信システムにおける端末及び測定方法に関する。
続きを表示(約 2,200 文字)
【背景技術】
【0002】
LTE(Long Term Evolution)の後継システムであるNR(New Radio)(「5G」ともいう。)においては、要求条件として、大容量のシステム、高速なデータ伝送速度、低遅延、多数の端末の同時接続、低コスト、省電力等を満たす技術が検討されている(例えば非特許文献1)。
【0003】
また、3GPP(登録商標)のリリース18では、環境持続可能性、カーボンニュートラル、SDGs(Sustainable Development Goals)、運用コストの低減等を達成するため、ネットワークにおける省電力化(Network energy savings)が重要性を増し、省電力化する手法が検討されている(例えば非特許文献2)。
【先行技術文献】
【非特許文献】
【0004】
3GPP TS 38.300 V18.0.0 (2023-12)
"New WID: Network energy savings for NR", RP-223540, 3GPP TSG RAN Meeting #98-e, 2022年12月
3GPP TS 38.331 V18.0.0 (2023-12)
3GPP TS 38.211 V18.1.0 (2023-12)
3GPP TS 38.213 V18.1.0 (2023-12)
3GPP TS 38.133 V18.4.0 (2023-12)
【発明の概要】
【発明が解決しようとする課題】
【0005】
カーボンニュートラルとSDGsを達成するため、基地局の消費電力を節約することの重要性が高まっており、基地局における間欠送受信を導入することが検討されている。省電力状態(エナジーセービング、Energy saving、ES)をサポートするセルにおいて、UEは、オンデマンドSSB(SS/PBCH Block)を使用する測定を実行し、当該セルへのアクセスを行う。
【0006】
本発明は上記の点に鑑みてなされたものであり、省電力状態に遷移可能な基地局から送信されるオンデマンドSSB(SS/PBCH Block)を測定することを目的とする。
【課題を解決するための手段】
【0007】
開示の技術によれば、オンデマンドSSB(SS/PBCH Block)を使用する測定を実行するための測定設定を基地局から受信する受信部と、前記測定設定に含まれるインデックスに基づいて、測定するオンデマンドSSB及び常時オンSSBの少なくとも一つを決定する制御部とを有し、前記制御部は、前記決定した測定するオンデマンドSSB及び常時オンSSBの少なくとも一つを測定する端末が提供される。
【発明の効果】
【0008】
開示の技術によれば、省電力状態に遷移可能な基地局から送信されるオンデマンドSSB(SS/PBCH Block)を測定することができる。
【図面の簡単な説明】
【0009】
本発明の実施の形態に係る無線通信システムについて説明するための図である。
NRリリース15におけるCDRXについて説明するための図である。
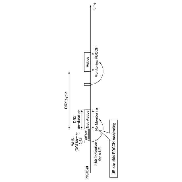
NRリリース16におけるWUSについて説明するための図である。
本発明の実施の形態の実施例1に係る基地局の間欠受信について説明するための図である。
本発明の実施の形態の実施例1に係る各パラメータについて説明するための図である。
本発明の実施の形態の実施例5に係る基地局の間欠送信について説明するための図である。
本発明の実施の形態の実施例5に係る各パラメータについて説明するための図である。
本発明の実施の形態の実施例9に係るOSI送信の例(1)を説明するためのシーケンス図である。
本発明の実施の形態の実施例9に係るOSI送信の例(2)を説明するためのシーケンス図である。
本発明の実施の形態の実施例9に係るオンデマンドSSBの例を示す図である。
本発明の実施の形態の実施例9に係るオンデマンドSSBに係る動作の例を説明するためのフローチャートである。
本発明の実施の形態の実施例10に係るオンデマンドSSBに係る動作の例を説明するためのフローチャートである。
本発明の実施の形態の実施例10に係る測定の例を説明するための図である。
本発明の実施の形態に係る基地局の機能構成の一例を示す図である。
本発明の実施の形態に係る端末の機能構成の一例を示す図である。
本発明の実施の形態に係る基地局又は端末のハードウェア構成の一例を示す図である。
本発明の実施の形態に係る車両の構成の一例を示す図である。
【発明を実施するための形態】
【0010】
以下、図面を参照して本発明の実施の形態を説明する。なお、以下で説明する実施の形態は一例であり、本発明が適用される実施の形態は、以下の実施の形態に限られない。
(【0011】以降は省略されています)
この特許をJ-PlatPat(特許庁公式サイト)で参照する
関連特許
株式会社NTTドコモ
携帯端末
22日前
株式会社NTTドコモ
推定装置
22日前
株式会社NTTドコモ
情報処理装置
24日前
株式会社NTTドコモ
情報処理装置
22日前
株式会社NTTドコモ
移動通信端末
15日前
株式会社NTTドコモ
端末及び通信方法
2日前
株式会社NTTドコモ
端末及び通信方法
3日前
株式会社NTTドコモ
端末及び通信方法
4日前
株式会社NTTドコモ
端末及び通信方法
4日前
株式会社NTTドコモ
端末及び通信方法
7日前
株式会社NTTドコモ
情報処理装置及び方法
16日前
株式会社NTTドコモ
情報処理装置及び方法
16日前
株式会社NTTドコモ
情報処理装置及び方法
1日前
株式会社NTTドコモ
管理装置及び管理方法
7日前
株式会社NTTドコモ
管理装置及び管理方法
7日前
株式会社NTTドコモ
管理装置及び管理方法
7日前
株式会社NTTドコモ
生成システム及び生成方法
14日前
株式会社NTTドコモ
測位支援装置及び測位支援方法
9日前
株式会社NTTドコモ
電力監視装置、及び、電力監視方法
9日前
株式会社NTTドコモ
最適化支援装置および最適化支援方法
22日前
株式会社NTTドコモ
端末
9日前
株式会社NTTドコモ
太陽電池の配置支援装置及び太陽電池の配置支援方法
7日前
株式会社NTTドコモ
端末
3日前
株式会社NTTドコモ
端末及び通信方法
16日前
株式会社NTTドコモ
端末及び通信方法
16日前
株式会社NTTドコモ
通信制御方法、端末、通信制御装置、通信制御システム、通信制御プログラム
14日前
株式会社NTTドコモ
端末、通信システム及び通信方法
16日前
株式会社NTTドコモ
無線通信ノード、および、無線通信方法
24日前
株式会社NTTドコモ
端末、基地局、通信システム及び通信方法
16日前
株式会社NTTドコモ
端末、無線通信方法、基地局及びシステム
16日前
株式会社NTTドコモ
端末、無線通信システム及び無線通信方法
3日前
株式会社NTTドコモ
端末、無線通信システム及び無線通信方法
9日前
株式会社NTTドコモ
端末、基地局、無線通信システム及び無線通信方法
16日前
個人
イヤーピース
14日前
個人
イヤーマフ
28日前
個人
監視カメラシステム
1か月前
続きを見る
他の特許を見る