TOP
|
特許
|
意匠
|
商標
特許ウォッチ
Twitter
他の特許を見る
10個以上の画像は省略されています。
公開番号
2025154834
公報種別
公開特許公報(A)
公開日
2025-10-10
出願番号
2024058056
出願日
2024-03-29
発明の名称
洗濯機
出願人
日立グローバルライフソリューションズ株式会社
代理人
弁理士法人磯野国際特許商標事務所
主分類
D06F
39/12 20060101AFI20251002BHJP(繊維または類似のものの処理;洗濯;他に分類されない可とう性材料)
要約
【課題】低コストで高強度な運搬し易い洗濯機を提供する。
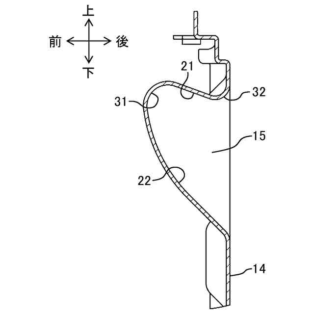
【解決手段】洗濯機10は、洗濯物を収容した状態で回転駆動される内槽11と、内槽を収容する外槽12と、内槽11及び外槽を12収容する筐体13と、を備える。筐体13は、背面板14を有している。背面板14には、背面板14と一体で成型された取っ手15が設けられている。取っ手15は、取っ手15に挿入される手指の腹に対向する上面部と、手指の背に対向する下面部と、を有している。下面部は、筐体13の内部側に向けて膨らむように、曲面状に形成されている。
【選択図】図1
特許請求の範囲
【請求項1】
洗濯物を収容した状態で回転駆動される内槽と、
前記内槽を収容する外槽と、
前記内槽及び前記外槽を収容する筐体と、を備え、
前記筐体は、背面板を有しており、
前記背面板には、前記背面板と一体で成型された取っ手が設けられている
ことを特徴とする洗濯機。
続きを表示(約 670 文字)
【請求項2】
請求項1に記載の洗濯機において、
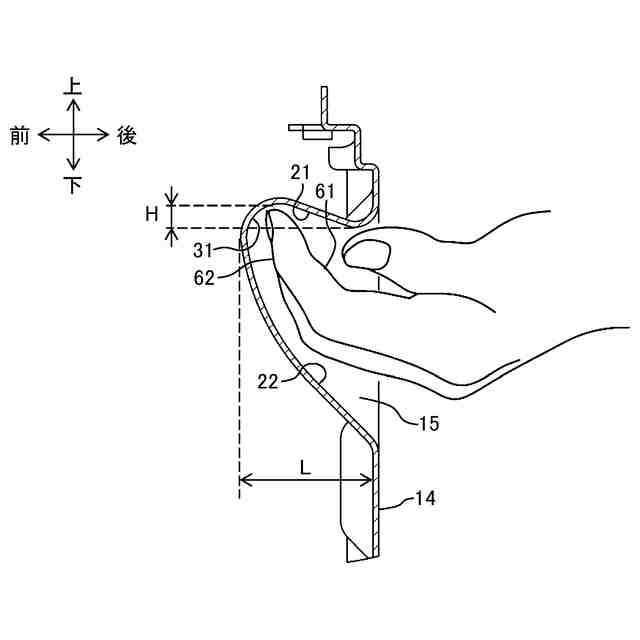
前記取っ手は、前記取っ手に挿入される手指の腹に対向する上面部と、前記手指の背に対向する下面部と、を有しており、
前記下面部は、前記筐体の内部側に向けて膨らむように、曲面状に形成されている
ことを特徴とする洗濯機。
【請求項3】
請求項2に記載の洗濯機において、
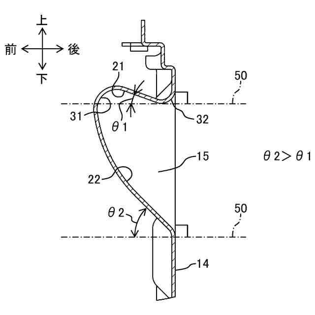
前記取っ手は、水平方向に対する前記上面部の傾き角度よりも水平方向に対する前記下面部の傾き角度の方が大きい
ことを特徴とする洗濯機。
【請求項4】
請求項2に記載の洗濯機において、
前記取っ手は、前記上面部と前記下面部とが交差する部分に円弧状に形成された先端角部を有し、
前記先端角部は、半径5mm以上の円弧形状を呈する
ことを特徴とする洗濯機。
【請求項5】
請求項2に記載の洗濯機において、
前記取っ手は、前記上面部の後端部に円弧状に形成された後端角部を有し、
前記後端角部は、半径3mm以上の円弧形状を呈する
ことを特徴とする洗濯機。
【請求項6】
請求項1に記載の洗濯機において、
前記取っ手は、前記背面板の左端付近と右端付近に設けられている
ことを特徴とする洗濯機。
【請求項7】
請求項1に記載の洗濯機において、
前記取っ手は、前記背面板の左端付近から右端付近に亘って1つ設けられている
ことを特徴とする洗濯機。
発明の詳細な説明
【技術分野】
【0001】
本発明は、洗濯機に関する。
続きを表示(約 1,700 文字)
【背景技術】
【0002】
従来、筐体の背面上部に取っ手を設けた洗濯機がある。この種の洗濯機は、背面板に設けた開口部に取っ手形状の樹脂部品を挿入する構成になっている。しかしながら、この構成の洗濯機は、取っ手形状の樹脂部品を用いるため、取っ手の強度が不足する、という課題がある。そこで、筐体の天面板と一体に取っ手を設けた洗濯機が提案されている(例えば、特許文献1参照)。
【先行技術文献】
【特許文献】
【0003】
特許第4619342号公報
【発明の概要】
【発明が解決しようとする課題】
【0004】
特許文献1に開示された従来技術は、筐体の天面板と一体に取っ手を設けているため、強度が低く変形の可能性があることや、持ち手部分が手に食い込んで運び難い、という課題がある。
【0005】
本発明は、前記した課題を解決するためになされたものであり、低コストで高強度な運搬し易い洗濯機を提供することを主な目的とする。
【課題を解決するための手段】
【0006】
前記目的を達成するため、本発明は、洗濯機であって、洗濯物を収容した状態で回転駆動される内槽と、前記内槽を収容する外槽と、前記内槽及び前記外槽を収容する筐体と、を備え、前記筐体は、背面板を有しており、前記背面板には、前記背面板と一体で成型された取っ手が設けられている構成とする。
その他の手段は、後記する。
【発明の効果】
【0007】
本発明によれば、低コストで高強度な運搬し易い洗濯機を提供することができる。
【図面の簡単な説明】
【0008】
実施形態に係る洗濯機の側断面図である。
背面板の背面図である。
背面板の斜視図である。
背面板の側断面図である。
背面板に設けられた取っ手の拡大図である。
背面板に設けられた取っ手の説明図である。
取っ手と運搬作業者の手指との位置関係の説明図である。
変形例の背面板の背面図である。
変形例の背面板の斜視図である。
【発明を実施するための形態】
【0009】
以下、図面を参照して、本発明の実施の形態(以下、「本実施形態」と称する)について詳細に説明する。なお、各図は、本発明を十分に理解できる程度に、概略的に示しているに過ぎない。よって、本発明は、図示例のみに限定されるものではない。また、各図において、共通する構成要素や同様な構成要素については、同一の符号を付し、それらの重複する説明を省略する。
【0010】
なお、特許文献1に開示された従来技術よりもさらに前の技術(すなわち、背面板に設けた開口部に取っ手形状の樹脂部品を挿入する構成の洗濯機)では、以下のような課題があった。本実施形態は、以下のような課題を解決する洗濯機を提供することも意図している。
(A1)樹脂部品が挿入される開口部に対して、樹脂部品が適正な寸法に形成されていないと、振動が発生して、騒音(ビビり音)が鳴る、という課題。
(A2)樹脂部品が洗剤の影響や洗濯機が屋外に設置された場合の紫外線等の影響で劣化することがある。樹脂部品が劣化した場合に、樹脂部品が割れてしまったり、樹脂部品が開口部から外れてしまったりすることがある、という課題。
(A3)樹脂部品が劣化して、樹脂部品が割れてしまったり、樹脂部品が開口部から外れてしまったりした場合に、運搬作業者が把持する際の支障となる金属板の端面が開口部に剥き出しになってしまうことがある、という課題。
(A4)取っ手形状の樹脂部品を用いるため、その分だけ洗濯機の製造コストが悪化してしまう、という課題。
(A5)洗濯機の製造者は樹脂部品が挿入される開口部の寸法を管理しなければならないため、その分だけ洗濯機の製造コストが悪化してしまう、という課題。
(A6)樹脂部品が挿入される開口部を筐体に設けるため、その分だけ強度が低下してしまう、という課題。
(【0011】以降は省略されています)
この特許をJ-PlatPat(特許庁公式サイト)で参照する
関連特許
東レ株式会社
繊維断面の検査方法
12日前
株式会社槌屋
加飾用表皮材
5日前
リンテック株式会社
耐水性基材
4日前
株式会社コーワ
乾燥機のフィルター清掃装置及び乾燥機
4日前
住友金属鉱山株式会社
赤外線遮蔽繊維構造物
5日前
東芝ライフスタイル株式会社
衣類乾燥機
11日前
パナソニックIPマネジメント株式会社
洗濯機
11日前
パナソニックIPマネジメント株式会社
洗濯機
12日前
パナソニックIPマネジメント株式会社
洗濯機
7日前
東レ株式会社
人工皮革およびその製造方法ならびに衣料、家具
6日前
東レ株式会社
人工皮革およびその製造方法、衣料、ならびに鞄
5日前
東レ株式会社
ゴム資材補強用合成繊維コードおよびその製造方法
5日前
竹本油脂株式会社
合成繊維用処理剤、及び合成繊維
4日前
アイナックス稲本株式会社
業務用洗濯設備及び業務用洗濯機
11日前
パナソニックIPマネジメント株式会社
ドラム式洗濯機
5日前
パナソニックIPマネジメント株式会社
ドラム式洗濯機
5日前
株式会社ミマキエンジニアリング
脱色装置
4日前
理想科学工業株式会社
捺染物の製造方法および印刷装置
11日前
TOPPANホールディングス株式会社
発泡壁紙
5日前
理想科学工業株式会社
印刷装置および捺染物の製造方法
11日前
日華化学株式会社
撥水性繊維製品の製造方法
5日前
平岡織染株式会社
産業資材シートの製造方法、及びテント膜構造物の縫製方法
12日前
東芝ライフスタイル株式会社
衣類処理装置
11日前
パナソニックIPマネジメント株式会社
洗濯機及び洗濯システム
5日前
東レ株式会社
繊維構造体およびその製造方法ならびに医療・介護従事者用のウェア
5日前
パナソニックIPマネジメント株式会社
洗濯機
4日前
パナソニックIPマネジメント株式会社
洗濯機
4日前
平岡織染株式会社
産業資材シート、及び産業資材シートを縫製してなるテント膜構造物
12日前
トヨタ紡織株式会社
繊維状複合体の製造方法
5日前
トヨタ紡織株式会社
繊維状複合体の製造方法
5日前
MYTHIK合同会社
ランドリーラック及び洗濯ネット
4日前
兵庫県
強化炭素繊維、炭素繊維シート及び炭素繊維強化剤
7日前
セイコーエプソン株式会社
インクジェット捺染方法及びインクセット
7日前
日立グローバルライフソリューションズ株式会社
洗濯機
4日前
UBE株式会社
ポリアミド樹脂強化用セルロース系繊維
7日前
大阪化成株式会社
消臭・抗菌繊維構造物の製造方法、消臭・抗菌繊維構造物
4日前
続きを見る
他の特許を見る