TOP
|
特許
|
意匠
|
商標
特許ウォッチ
Twitter
他の特許を見る
公開番号
2025154360
公報種別
公開特許公報(A)
公開日
2025-10-10
出願番号
2024057305
出願日
2024-03-29
発明の名称
画像処理装置、画像処理方法及びプログラム
出願人
キヤノン株式会社
代理人
弁理士法人谷・阿部特許事務所
主分類
B65H
7/14 20060101AFI20251002BHJP(運搬;包装;貯蔵;薄板状または線条材料の取扱い)
要約
【課題】可視光透過性を有しているシートに形成されたマークを正しく検知可能とすること。
【解決手段】画像処理装置は、ページごとに画像を印刷する印刷装置(116)が備える搬送手段により搬送される透明基材(111)であって、ページの先頭位置を示すマークが印刷済みである透明基材(111)を読み取って得られた輝度値を取得する取得手段(と、取得手段により取得される輝度値が一定範囲内である間に、搬送手段により透明基材(111)が搬送される距離を算出する算出手段と、算出手段により算出された距離に基づいて透明基材(111)上のマークの位置を決定する決定手段と、を備える。
【選択図】図1
特許請求の範囲
【請求項1】
ページごとに画像を印刷する印刷装置が備える搬送手段により搬送される透明基材であって、前記ページの先頭位置を示すマークが印刷済みである透明基材を読み取って得られた輝度値を取得する取得手段と、
前記取得手段により取得される前記輝度値が一定範囲内である間に、前記搬送手段により前記透明基材が搬送される距離を算出する算出手段と、
前記算出手段により算出された距離に基づいて前記透明基材上のマークの位置を決定する決定手段と、
を備えることを特徴とする画像処理装置。
続きを表示(約 1,000 文字)
【請求項2】
前記決定手段は、前記取得手段により取得される前記輝度値が前記輝度値の変動幅の許容範囲内にある状態を継続する場合、前記一定範囲内であるとすることを特徴とする請求項1に記載の画像処理装置。
【請求項3】
前記透明基材には、透明台紙が剥離可能に張り付けてあり、
白色インクを有し、前記透明基材に前記マークを前記白色インクで形成する画像形成手段をさらに備えることを特徴とする請求項2に記載の画像処理装置。
【請求項4】
前記透明基材には、透明台紙が剥離可能に張り付けてあり、
シアン、マゼンタ、イエローのうち少なくとも1つの色のインクを有し、前記透明基材に前記マークを前記シアン、前記マゼンタ、前記イエローのうち少なくとも1つの色のインクで形成する画像形成手段をさらに備えることを特徴とする請求項2に記載の画像処理装置。
【請求項5】
前記搬送手段は、前記透明基材として、ロール紙を搬送することを特徴とする請求項2又は3に記載の画像処理装置。
【請求項6】
前記算出手段は、前記取得手段により取得される前記輝度値が、予め設定された第1の閾値と、前記第1の閾値よりも低い値の第2の閾値との範囲内である場合、前記距離の算出を開始することを特徴とする請求項2乃至4のいずれか1項に記載の画像処理装置。
【請求項7】
前記画像形成手段は、前記先頭位置に、前記マークを形成することを特徴とする請求項3又は4に記載の画像処理装置。
【請求項8】
前記透明基材において前記マークが形成された位置に合わせて設置され、前記透明基材を読み取って前記輝度値を得る検知手段をさらに備えることを特徴とする請求項2乃至4のいずれか1項に記載の画像処理装置。
【請求項9】
前記算出手段は、前記取得手段により取得される前記輝度値が前記許容範囲内にある状態を継続する場合、前記透明基材の搬送が進むにつれ、前記距離を増加させることを特徴とする請求項6に記載の画像処理装置。
【請求項10】
前記決定手段は、前記マークのサイズに基づいて設定された閾値に前記距離が到達した場合、前記マークの位置を決定することを特徴とする請求項2乃至4のいずれか1項に記載の画像処理装置。
(【請求項11】以降は省略されています)
発明の詳細な説明
【技術分野】
【0001】
本開示は、印刷位置を示すマークの検出技術に関する。
続きを表示(約 2,200 文字)
【背景技術】
【0002】
従来、対象物に形成されたマークをスキャナで読み取って検出して、様々な制御を行うことが行われている。例えば特許文献1には、手書きエリアを示すマークが形成された手書き原稿をスキャナで読み取り、当該マークを含む領域の輝度情報と色差情報とに基づいて当該マークの色の画素を特定することで、マークの位置を検出する技術が開示されている。
【先行技術文献】
【特許文献】
【0003】
特開2010-41673号公報
【発明の概要】
【発明が解決しようとする課題】
【0004】
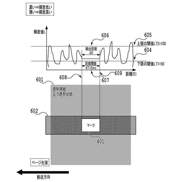
印刷対象シートに位置検出マークを形成しておき、搬送されてくるシート上の位置検出マークに基づき印刷対象ページの先頭位置を判定し、画像の形成位置を決定する技術がある。ここで、印刷対象シートが可視光透過性を有している場合、当該シート上に形成されたマーク以外の部分については輝度情報を安定して取得できず、マークを精度よく検知できなかった。
【0005】
本開示は、上記課題を鑑みてなされたものであり、可視光透過性を有しているシートに形成されたマークを正しく検知可能とすることを目的とする。
【課題を解決するための手段】
【0006】
本開示の一態様に係る画像処理装置は、ページごとに画像を印刷する印刷装置が備える搬送手段により搬送される透明基材であって、前記ページの先頭位置を示すマークが印刷済みである透明基材を読み取って得られた輝度値を取得する取得手段と、前記取得手段により取得される前記輝度値が一定範囲内である間に、前記搬送手段により前記透明基材が搬送される距離を算出する算出手段と、前記算出手段により算出された距離に基づいて前記透明基材上のマークの位置を決定する決定手段と、を備えることを特徴とする。
【発明の効果】
【0007】
本開示によれば、可視光透過性を有しているシートに形成されたマークを正しく検知可能となる。
【図面の簡単な説明】
【0008】
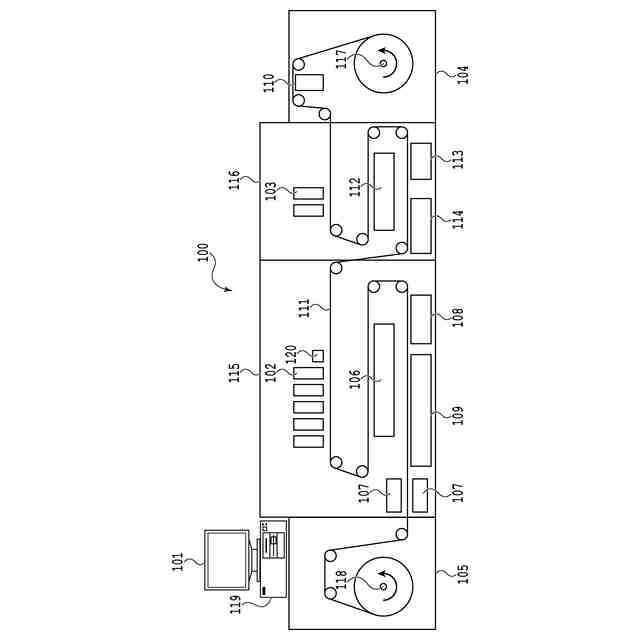
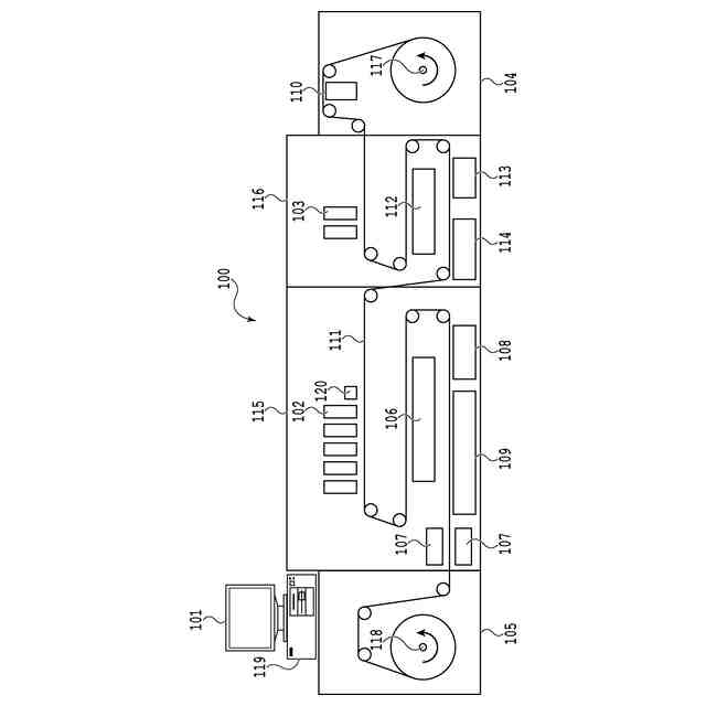
画像処理装置の装置構成の一例を示す図である。
画像処理装置の制御構成の一例を示す図である。
ページ位置判定処理を説明するフローチャートである。
ページにおけるマークの形成位置の一例を示す図である。
マークの検知処理を説明するフローチャートである。
シートの搬送距離とマークの輝度値との関係の一例を示す模式図である。
【発明を実施するための形態】
【0009】
以下、添付図面を参照して本開示の好適な実施の形態を詳しく説明する。尚、以下の実施の形態は本開示事項を限定するものでなく、また以下の実施の形態で説明されている特徴の組み合わせが本開示の解決手段に必須のものとは限らない。尚、同一の構成要素には同一の参照符号を付す。本実施形態では、情報処理装置の一例として画像形成装置を用いて説明するがこれに限らない。
【0010】
<<実施形態>>
[概要]
従来から、ロール紙等の基材の中には、ラベルシールが形成される基材(以下、シートとも適宜称する)がある。このようなシートには、粘着層を介して台紙が剥離可能に張り付けられ、ラベルが形成された部位を台紙から剥がすことで、ラベルシールとして利用されている。また、大量のラベルシールを形成する際、シートが複数のページに分割されて使用されることもある。シートが複数のページに分割される場合、複数のページのうち印刷ジョブを開始させるページにマークを形成し、そのマークを検知することで印刷ジョブに基づく画像の形成を開始させることもある。ところで、最近では、シート及び台紙のそれぞれが可視光透過性を有するものもある。このようなシート及び台紙により、例えばアニメーションに登場するキャラクター等のエンターテイメント性を有するラベルも形成可能である。しかし、マークの検知には輝度値が用いられるため、シートが可視光透過性を有する透明基材であり、台紙が可視光透過性を有する透明台紙であれば、輝度値が誤検出される恐れがある。例えば、シートの搬送経路には、基板、各種ユニット等が設けられている。そのような搬送経路に沿って、可視光透過性を有するシートが搬送されながらマークの検知がマークの輝度値を利用して行われる場合、基板、各種ユニット等のような設置環境により、マークの輝度値が安定しないシチュエーションも想定される。そのため、本開示では、透明基材に印刷済のマークであって、ページの先頭位置を示すマークの輝度値が一定範囲内である間に、透明基材が搬送される距離に基づいて透明基材上のマークの位置が決定される。このような動作によれば、透明基材が搬送されている間、マークの輝度値が安定していれば、マークの位置が決定されるため、可視光透過性を有しているシートに形成されたマークを正しく検知可能である。また、マークの位置が正確に検知されるため、印刷ジョブ(以下、適宜ジョブとも称する)に基づく画像の印刷開始位置と印刷位置とを適切に制御可能である。また、シートのページごとに、マークと、画像が形成される画像形成領域との関係から、画像解析位置を特定して制御することも可能となる。以下、本開示について、具体的に説明する。
(【0011】以降は省略されています)
この特許をJ-PlatPat(特許庁公式サイト)で参照する
関連特許
キヤノン株式会社
トナー
8日前
キヤノン株式会社
トナー
8日前
キヤノン株式会社
トナー
8日前
キヤノン株式会社
トナー
13日前
キヤノン株式会社
現像容器
6日前
キヤノン株式会社
記録装置
13日前
キヤノン株式会社
撮像装置
13日前
キヤノン株式会社
撮像装置
9日前
キヤノン株式会社
撮影装置
6日前
キヤノン株式会社
測距装置
1日前
キヤノン株式会社
記録装置
6日前
キヤノン株式会社
定着装置
7日前
キヤノン株式会社
現像装置
6日前
キヤノン株式会社
現像容器
6日前
キヤノン株式会社
現像装置
6日前
キヤノン株式会社
モジュール
8日前
キヤノン株式会社
現像剤容器
14日前
キヤノン株式会社
光学センサ
8日前
キヤノン株式会社
画像形成装置
6日前
キヤノン株式会社
画像形成装置
9日前
キヤノン株式会社
画像形成装置
14日前
キヤノン株式会社
画像形成装置
9日前
キヤノン株式会社
情報処理装置
6日前
キヤノン株式会社
カートリッジ
6日前
キヤノン株式会社
画像形成装置
6日前
キヤノン株式会社
映像表示装置
8日前
キヤノン株式会社
画像形成装置
6日前
キヤノン株式会社
画像形成装置
2日前
キヤノン株式会社
画像形成装置
6日前
キヤノン株式会社
画像形成装置
9日前
キヤノン株式会社
画像形成装置
13日前
キヤノン株式会社
画像表示装置
13日前
キヤノン株式会社
画像処理装置
6日前
キヤノン株式会社
画像形成装置
13日前
キヤノン株式会社
画像形成装置
14日前
キヤノン株式会社
画像形成装置
2日前
続きを見る
他の特許を見る