TOP
|
特許
|
意匠
|
商標
特許ウォッチ
Twitter
他の特許を見る
10個以上の画像は省略されています。
公開番号
2025152139
公報種別
公開特許公報(A)
公開日
2025-10-09
出願番号
2024053895
出願日
2024-03-28
発明の名称
熱伝導体、ヒートスプレッダおよび放熱構造体
出願人
ノリタケ株式会社
代理人
個人
,
個人
主分類
H01L
23/36 20060101AFI20251002BHJP(基本的電気素子)
要約
【課題】隣接するダイヤモンド同士の熱流路を形成できる、熱伝導体を提供する。
【解決手段】本発明の熱伝導体100は、1層に並べられた複数のダイヤモンド40と、ダイヤモンド40を固定する金属42とを含むダイヤモンド含有金属層20を有する。ダイヤモンド40は、八面体以上の多面体であり、かつ、隣接するダイヤモンド40同士が面接触しており、ダイヤモンド40のダイヤモンド含有金属層20の一方の面20B側の端部40Bが、頂点または稜線となるように、ダイヤモンド40が配置されている。
【選択図】 図1
特許請求の範囲
【請求項1】
1層に並べられた複数のダイヤモンドと、前記ダイヤモンドを固定する金属とを含むダイヤモンド含有金属層を有する熱伝導体であって、
前記ダイヤモンドが、八面体以上の多面体であり、かつ、隣接する前記ダイヤモンド同士が面接触しており、
前記ダイヤモンドの前記ダイヤモンド含有金属層の一方の面側の端部が、頂点または稜線となるように、前記ダイヤモンドが配置されている、熱伝導体。
続きを表示(約 360 文字)
【請求項2】
前記ダイヤモンド含有金属層における前記ダイヤモンドの体積割合が50%以上である、請求項1に記載の熱伝導体。
【請求項3】
前記ダイヤモンドが、切頭八面体または六・八面体である、請求項1に記載の熱伝導体。
【請求項4】
平面部を有する熱伝導性部材と、
前記平面部の少なくとも一方の面側に配置された前記ダイヤモンド含有金属層とを有する、請求項1に記載の熱伝導体。
【請求項5】
請求項1~4のいずれかに記載の熱伝導体からなる、ヒートスプレッダ。
【請求項6】
熱源体の上に配置され、熱的に接合される、請求項5に記載のヒートスプレッダと、
前記ヒートスプレッダの上に配置され、熱的に接合された、ヒートシンクとを備える、放熱構造体。
発明の詳細な説明
【技術分野】
【0001】
本発明は、熱伝導体およびヒートスプレッダに関するものである。また、前記ヒートスプレッダを備えた放熱構造体に関するものである。
続きを表示(約 1,900 文字)
【背景技術】
【0002】
ヒートシンク、ヒートスプレッダの性能を向上させるために熱伝導性に優れたダイヤモンドを使用することが知られている。例えば、特許文献1には、絶縁体層と、該絶縁体層の両側に配置された高熱伝導体層とを備え、前記絶縁体層が、接合層と、前記高熱伝導体層に突出されている絶縁性高熱伝導硬質粒子とを有する絶縁伝熱構造体において、前記接合層の面内方向の一方向で前記絶縁性高熱伝導硬質粒子を等間隔に複数配置した粒子群が、前記面内方向の前記一方向は異なる方向に等間隔で複数配置されていることを特徴とする絶縁伝熱構造体が開示されており、前記絶縁性高熱伝導硬質粒子の一つとして、ダイヤモンドが記載されている。
【先行技術文献】
【特許文献】
【0003】
特開2007-214492号公報
【発明の概要】
【発明が解決しようとする課題】
【0004】
熱源とヒートシンクの間にダイヤモンドが配置された層を備える構造とすることにより、熱源からのヒートシンクへの熱流路(縦ルート)の改善はなされる。しかし、特許文献1の構造体は、ダイヤモンドが間隔を空けて配置されており、ダイヤモンド間(横ルート)の熱移動がないため、十分にダイヤモンドの伝熱性能を使い切れているとはいえなかった。
【0005】
かかる状況下、本発明は、隣接するダイヤモンド同士の熱流路を形成できる、熱伝導体およびヒートスプレッダを提供することを目的とする。また、前記ヒートスプレッダを備えた放熱構造体を提供することを目的とする。
【課題を解決するための手段】
【0006】
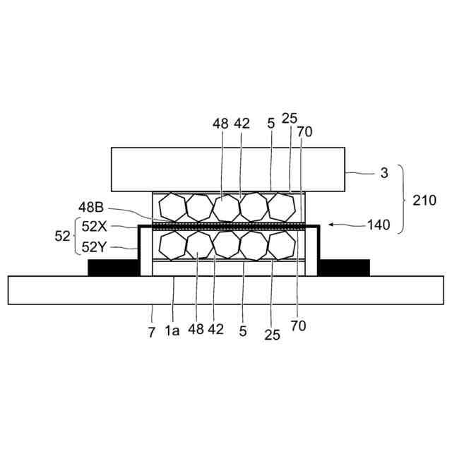
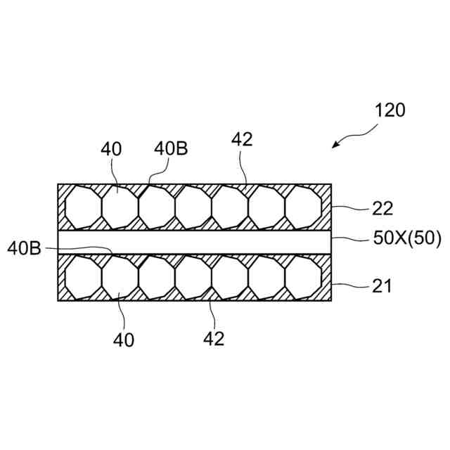
本発明の熱伝導体は、1層に並べられた複数のダイヤモンドと、前記ダイヤモンドを固定する金属とを含むダイヤモンド含有金属層を有する熱伝導体であって、前記ダイヤモンドが、八面体以上の多面体であり、かつ、隣接する前記ダイヤモンド同士が面接触しており、前記ダイヤモンドの前記ダイヤモンド含有金属層の一方の面側の端部が、頂点または稜線となるように、前記ダイヤモンドが配置されている。
【0007】
このように、八面体以上のダイヤモンドを用い、ダイヤモンドの頂点または稜線(以下、「頂点または稜線」を「エッジ部」と称する。)がダイヤモンド含有金属層の一方の面側の端部に来るように、ダイヤモンドを1層に配置させることで、薄くできるとともに、隣接するダイヤモンドが面で向かい合った構造となりやすく、密によるならい動作もあり、隣接するダイヤモンド同士が面接触する面積が増大する。その結果、熱源体からの熱流路(縦ルート)に加えて、ダイヤモンド間の熱流路(横ルート)を形成することで、より広く熱を拡散することができ、ダイヤモンドの伝熱性能を十分に発揮することができる。
【0008】
さらに、このような構成とすることで、ダイヤモンドの形状や向きの揃い具合によらず、隣り合うダイヤモンド同士が面接触しやすいので、使用するダイヤモンドの形状の自由度を高めることができ、生産自由度を高めることができる。
【0009】
なお、「頂点」は、ダイヤモンドの3本以上の稜線(辺)が共有している点であり、「稜線」は、ダイヤモンドの頂点と頂点を結ぶ線である。また、本願において、「端部」とは、厚さ方向において、中央から最も離れた部分を意味する。例えば、「ダイヤモンドのダイヤモンド含有金属層の一方の面側の端部」とは、ダイヤモンド含有金属層の厚さ方向において、ダイヤモンドの中の、中央からダイヤモンド含有金属層の一方の面の方向に最も離れた部分を意味し、ダイヤモンドの頂点が、ダイヤモンド含有金属層の一方の面の方向に最も離れている部分であるとき、ダイヤモンドのダイヤモンド含有金属層の一方の面側の端部は頂点であり、ダイヤモンドの稜線が、ダイヤモンド含有金属層の一方の面の方向に最も離れている部分であるとき、ダイヤモンドのダイヤモンド含有金属層の一方の面側の端部は稜線であり、ダイヤモンドの面が、ダイヤモンド含有金属層の一方の面の方向に最も離れている部分であるとき、ダイヤモンドのダイヤモンド含有金属層の一方の面側の端部は面である。
【0010】
また、前記ダイヤモンド含有金属層における前記ダイヤモンドの体積割合が50%以上であることが好ましい。このようにダイヤモンドの充填率を高めることで、隣接するダイヤモンド同士がさらに接触しやすくなり、より多くのダイヤモンド間の熱流路(横ルート)を形成できるため、熱伝導性をより高めることができる。
(【0011】以降は省略されています)
この特許をJ-PlatPat(特許庁公式サイト)で参照する
関連特許
ノリタケ株式会社
冷却炉
2か月前
ノリタケ株式会社
洗浄装置
2か月前
ノリタケ株式会社
担体構造体
2か月前
ノリタケ株式会社
焼成用治具
2か月前
ノリタケ株式会社
焼成用治具
2か月前
ノリタケ株式会社
焼成用治具
2か月前
ノリタケ株式会社
研磨パッド
2か月前
ノリタケ株式会社
棒材切断機
2か月前
ノリタケ株式会社
熱処理容器
2か月前
ノリタケ株式会社
熱伝導シート
2か月前
ノリタケ株式会社
超砥粒ホイール
2か月前
ノリタケ株式会社
導電性ペースト
2か月前
ノリタケ株式会社
焼成冷却システム
1か月前
ノリタケ株式会社
静電容量タッチパネル
2か月前
ノリタケ株式会社
封止用グリーンシート
2か月前
ノリタケ株式会社
静電容量タッチパネル
2か月前
ノリタケ株式会社
砥材及びその製造方法
2か月前
ノリタケ株式会社
触媒材料およびその利用
2か月前
ノリタケ株式会社
電気化学セル用ペースト
2か月前
ノリタケ株式会社
触媒材料およびその利用
2か月前
ノリタケ株式会社
触媒材料およびその利用
2か月前
ノリタケ株式会社
焼成用治具およびフレーム
2か月前
ノリタケ株式会社
ガラス接合材及びその利用
2か月前
ノリタケ株式会社
ガラス接合材及びその利用
2か月前
ノリタケ株式会社
研磨パッド粗材の加工装置
2か月前
ノリタケ株式会社
平面研削用レジンボンド砥石
2か月前
ノリタケ株式会社
ロータリーキルン用の炉心管
2か月前
ノリタケ株式会社
電動式コンクリートカッター
27日前
ノリタケ株式会社
ガラス接合材およびその利用
2か月前
ノリタケ株式会社
組立体の製造方法および組立体
2か月前
ノリタケ株式会社
ロールコンパクション成形装置
2か月前
ノリタケ株式会社
ロールコンパクション成形装置
2か月前
ノリタケ株式会社
研磨パッド及びウェハ研磨方法
2か月前
ノリタケ株式会社
研磨パッド及びウェハ研磨方法
2か月前
ノリタケ株式会社
自動計量装置および自動計量方法
2か月前
ノリタケ株式会社
半導体基板の研磨液及び研磨方法
2か月前
続きを見る
他の特許を見る