TOP
|
特許
|
意匠
|
商標
特許ウォッチ
Twitter
他の特許を見る
公開番号
2025151949
公報種別
公開特許公報(A)
公開日
2025-10-09
出願番号
2024053593
出願日
2024-03-28
発明の名称
飛行ロボットの画像表示装置および画像表示方法
出願人
セコム株式会社
代理人
個人
,
個人
,
個人
主分類
H04N
7/18 20060101AFI20251002BHJP(電気通信技術)
要約
【課題】飛行ロボットにより撮影した撮影画像から検出した物体を示すマークを撮影画像に重畳して表示する際に、撮影画像に重畳されたマークの視認性を向上する。
【解決手段】画像表示装置は、飛行ロボット1により撮影した撮影画像5を取得する取得部24cと、撮影画像5から物体6を検出する物体検出部24dと、撮影画像5の特性に応じて、検出した物体6を示すマーク7の表示様態を決定する決定部24fと、決定した表示様態で表示されるようにマーク7が重畳された撮影画像5を表示する表示部21と、を備える。
【選択図】図5
特許請求の範囲
【請求項1】
飛行ロボットにより撮影した撮影画像を取得する取得部と、
前記撮影画像から物体を検出する物体検出部と、
前記撮影画像の特性に応じて、検出した前記物体を示すマークの表示様態を決定する決定部と、
前記表示様態で表示されるように前記マークが重畳された前記撮影画像を表示する表示部と、
を備えることを特徴とする飛行ロボットの画像表示装置。
続きを表示(約 820 文字)
【請求項2】
前記決定部は、前記撮影画像における背景情報に応じて、前記表示様態を決定することを特徴とする請求項1に記載の飛行ロボットの画像表示装置。
【請求項3】
前記決定部は、前記撮影画像において前記検出した物体の数、密度、又は色情報に応じて、前記表示様態を決定することを特徴とする請求項1に記載の飛行ロボットの画像表示装置。
【請求項4】
前記決定部は、前記撮影画像の領域のうち前記検出した物体の周囲の領域の色情報に応じて、前記表示様態である前記マークの色情報を決定することを特徴とする請求項2に記載の飛行ロボットの画像表示装置。
【請求項5】
前記決定部は、前記撮影画像の領域のうち前記検出した物体の周囲の領域の色情報と前記検出した物体の色情報との類似度に応じて、前記表示様態を決定することを特徴とする請求項2に記載の飛行ロボットの画像表示装置。
【請求項6】
前記決定部は、前記飛行ロボットの飛行情報に応じて、前記表示様態を決定することを特徴とする請求項1に記載の飛行ロボットの画像表示装置。
【請求項7】
前記決定部は、前記飛行ロボットの飛行情報として前記飛行ロボットの高度情報を用いて、前記飛行ロボットの高度が高いときの方が低いときよりも前記表示様態である前記マークの大きさを大きくすることを特徴とする請求項6に記載の飛行ロボットの画像表示装置。
【請求項8】
飛行ロボットにより撮影した撮影画像を取得する処理と、
前記撮影画像から物体を検出する処理と、
前記撮影画像の特性に応じて、検出した前記物体を示すマークの表示様態を決定する処理と、
前記表示様態で表示されるように前記マークが重畳された前記撮影画像を表示する処理と、
を少なくとも1つのコンピュータに実行させることを特徴とする画像表示方法。
発明の詳細な説明
【技術分野】
【0001】
本発明は、飛行ロボットの画像表示装置および画像表示方法に関する。
続きを表示(約 1,700 文字)
【背景技術】
【0002】
下記特許文献1には、検出された人物の顔画像と、データベースに記憶されている特定の人物の顔の特徴情報と、に基づいて、検出された人物が特定の人物である信頼度を算出し、信頼度に基づいて検出枠の表示方法を変更する撮像装置が記載されている。
【先行技術文献】
【特許文献】
【0003】
特許4840978号公報
【発明の概要】
【発明が解決しようとする課題】
【0004】
飛行ロボットにより撮影した撮影画像を監視する際に、撮影画像上で検出された物体がオペレータに把握され易くする為に、検出した物体を示すマーク(例えば検出した物体を囲む検出枠)を撮影画像に重畳して表示することがある。
しかしながら、飛行ロボットによる撮影条件は多様であり、物体を検出する状況や検出される物体の状態も多様である。このため、撮影条件、物体の検出状況、物体の状態によっては、撮影画像に重畳されたマークの視認性が乏しくなる虞がある。
本発明は、上記の問題点を鑑みてなされたものであり、飛行ロボットにより撮影した撮影画像から検出した物体を示すマークを撮影画像に重畳して表示する際に、撮影画像に重畳されたマークの視認性を向上することを目的とする。
【課題を解決するための手段】
【0005】
本発明の一形態による飛行ロボットの画像表示装置は、飛行ロボットにより撮影した撮影画像を取得する取得部と、撮影画像から物体を検出する物体検出部と、撮影画像の特性に応じて、検出した物体を示すマークの表示様態を決定する決定部と、表示様態で表示されるようにマークが重畳された撮影画像を表示する表示部と、を備える。
【発明の効果】
【0006】
本発明によれば、飛行ロボットにより撮影した撮影画像から検出した物体を示すマークを撮影画像に重畳して表示する際に、撮影画像に重畳されたマークの視認性を向上させることができる。
【図面の簡単な説明】
【0007】
本発明の実施形態の飛行ロボット制御システムの構成の一例を示す概略図である。
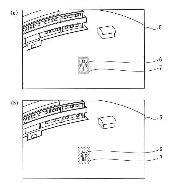
(a)及び(b)は、撮影画像上の物体を示すマークが重畳された撮影画像の模式図である。
自律飛行ロボットの機能構成の一例のブロック図である。
管理装置の機能構成の一例のブロック図である。
操作端末の機能構成の一例のブロック図である。
実施形態の画像表示方法の一例のフローチャートである。
【発明を実施するための形態】
【0008】
以下において、図面を参照して本発明の実施形態を説明する。なお、以下に示す本発明の実施形態は、本発明の技術的思想を具体化するための装置や方法を例示するものであって、本発明の技術的思想は、構成部品の構造、配置等を下記のものに特定するものではない。本発明の技術的思想は、特許請求の範囲に記載された請求項が規定する技術的範囲内において、種々の変更を加えることができる。
【0009】
以下、本発明を適用した飛行ロボット制御システム100の概略構成を示した図1を参照して、本発明の実施の形態の構成を説明する。
(飛行ロボット制御システム100)
飛行ロボット制御システム100は、1台以上の自律飛行ロボット1と、操作端末2と、管理装置3とを有する。例えば、飛行ロボット制御システム100は、予め設定された監視領域における巡回や、監視対象の異常対処や、点検などの幅広い用途に用いられる。
【0010】
自律飛行ロボット1による巡回飛行を行う場合には、自律飛行ロボット1に設けられたセンサ(例えばカメラ)で周囲の状況を検出しながら、例えば管理装置3で設定した飛行経路に沿って自律飛行ロボット1を自律飛行させる。遠隔のオペレータは、自律飛行ロボット1により撮影した撮影画像に基づいて、監視領域内の状況を確認する。
(【0011】以降は省略されています)
この特許をJ-PlatPat(特許庁公式サイト)で参照する
関連特許
セコム株式会社
自律移動ロボット
1か月前
セコム株式会社
火災監視システム
1か月前
セコム株式会社
表示機能付き認証装置
1か月前
セコム株式会社
業務見守りシステム及びプログラム
2日前
セコム株式会社
データ処理装置及びデータ処理方法
1か月前
セコム株式会社
生活見守りシステム及びプログラム
1か月前
セコム株式会社
業務見守りシステム及びプログラム
2日前
セコム株式会社
生活見守りシステム及びプログラム
1か月前
セコム株式会社
自律移動ロボットおよび制御システム
1か月前
セコム株式会社
自律移動ロボットおよび制御システム
1か月前
セコム株式会社
対話システム、対話方法及びセンタ装置
1か月前
セコム株式会社
センタ装置、対話システム及び対話方法
1か月前
セコム株式会社
端末所持者検知装置及び端末所持者検知方法
1か月前
セコム株式会社
飛行ロボットの画像表示装置及び画像表示方法
1か月前
株式会社デンソーウェーブ
通行管理システム
1か月前
セコム株式会社
飛行ロボットの画像表示装置及び画像表示方法
1か月前
セコム株式会社
飛行ロボットの画像表示装置および画像表示方法
1か月前
セコム株式会社
飛行ロボットの画像表示装置および画像表示方法
1か月前
セコム株式会社
自律飛行ロボットの飛行制御システム及び飛行制御方法
1か月前
セコム株式会社
飛行ロボットの画像管理装置、画像管理システム及び画像管理方法
1か月前
セコム株式会社
飛行ロボットの画像管理装置、画像管理システム及び画像管理方法
1か月前
セコム株式会社
飛行ロボットの画像管理装置、画像管理システム及び画像管理方法
1か月前
セコム株式会社
飛行ロボットの画像管理装置、画像管理システム及び画像管理方法
1か月前
セコム株式会社
データ処理装置、学習データ生成装置、データ処理方法及び学習データ生成方法
1か月前
セコム株式会社
警備システム、携帯端末、プログラム及び警備方法
1か月前
セコム株式会社
警備システム、携帯端末、プログラム及び警備方法
1か月前
セコム株式会社
警備システム、携帯端末、プログラム及び警備方法
25日前
セコム株式会社
携帯端末、警備システム、プログラム及び表示方法
2か月前
個人
イヤーピース
23日前
個人
イヤーマフ
1か月前
個人
監視カメラシステム
1か月前
キーコム株式会社
光伝送線路
1か月前
個人
スイッチシステム
1か月前
サクサ株式会社
中継装置
1か月前
サクサ株式会社
中継装置
1か月前
WHISMR合同会社
収音装置
2か月前
続きを見る
他の特許を見る