TOP
|
特許
|
意匠
|
商標
特許ウォッチ
Twitter
他の特許を見る
10個以上の画像は省略されています。
公開番号
2025163224
公報種別
公開特許公報(A)
公開日
2025-10-28
出願番号
2025131949,2021083708
出願日
2025-08-07,2021-05-18
発明の名称
警備システム、携帯端末、プログラム及び警備方法
出願人
セコム株式会社
代理人
弁理士法人南青山国際特許事務所
主分類
G08B
25/00 20060101AFI20251021BHJP(信号)
要約
【課題】警備モードのセットまたは解除のし忘れを防止すること。
【解決手段】警備システムは、複数の警備モードにより監視区域への侵入を監視する警備装置と、当該警備装置との通信により遠隔から上記警備モードを切替操作可能な携帯端末と、を有する警備システムであって、記憶手段と検知手段と制御手段と通信手段とを有する。上記記憶手段は、上記監視区域で設定されている上記警備モードを示す情報を記憶する。上記検知手段は、上記携帯端末のユーザへの装着及び当該ユーザからの取外しを検知する。上記制御手段は、上記検知の結果及び上記設定されている警備モードに応じて、上記警備モードの切替を提案するとともに上記切替操作を入力可能な切替画面を上記携帯端末に表示させる。上記通信手段は、上記切替画面上で上記切替操作が入力された場合に上記警備モードの切替要求を送信する。
【選択図】図6
特許請求の範囲
【請求項1】
複数の警備モードにより監視区域への侵入を監視する警備装置と、当該警備装置との通信により遠隔から前記警備モードを切替操作可能な携帯端末と、を具備する警備システムであって、
前記監視区域で設定されている前記警備モードを示す情報を記憶する記憶手段と、
前記携帯端末のユーザへの装着及び当該ユーザからの取外しを検知する検知手段と、
前記装着または取外しを検知した場合に、当該検知の結果及び前記設定されている警備モードに応じて、前記警備モードの切替を提案するとともに前記切替操作を入力可能な切替画面を前記携帯端末に表示させる制御手段と、
前記切替画面上で前記切替操作が入力された場合に前記警備モードの切替要求を送信する通信手段と
を有する警備システム。
続きを表示(約 2,600 文字)
【請求項2】
請求項1に記載の警備システムであって、
前記携帯端末は、第1の携帯端末と、当該第1の携帯端末とペアリングされ前記ユーザに装着されるウェアラブル端末である第2の携帯端末とを含み、
前記第1の携帯端末は、
前記監視区域で設定されている前記警備モードを示す情報を取得する取得手段と、
前記制御手段と、
前記通信手段とを有し、
前記制御手段は、前記装着または取外しを検知した場合に、前記設定されている警備モードに応じて前記第2の携帯端末に前記切替画面を表示するよう指示する画面制御指示を送信し、
前記第2の携帯端末は、
当該第2の携帯端末の前記装着及び前記取外しを検知する前記検知手段と、
前記画面制御指示に基づいて、前記切替画面を表示する表示手段と、
前記切替画面上で切替操作が入力されると、前記通信手段を介して前記警備装置へ前記警備モードの切替要求を送信する切替要求手段とを有する
警備システム。
【請求項3】
請求項2に記載の警備システムであって、
前記制御手段は、前記第2の携帯端末の装着が検知されたとき、前記設定されている警備モードが有人監視モードである場合に、当該有人監視モードから監視解除モードへの切替を提案する前記切替画面について前記画面制御指示を送信する
警備システム。
【請求項4】
請求項2または3に記載の警備システムであって、
前記制御手段は、前記第2の携帯端末の取外しが検知されたとき、前記設定されている警備モードが監視解除モードである場合に、当該監視解除モードから有人監視モードへの切替を提案する前記切替画面について前記画面制御指示を送信する
警備システム。
【請求項5】
請求項3または4に記載の警備システムであって、
前記制御手段は、前記装着または前記取外しの検知時が所定の時間帯に含まれること、または、前記第2の携帯端末の位置が前記ユーザの宅内に対応する所定範囲内にあることを条件に、前記設定されている警備モードに応じて前記画面制御指示を送信する
警備システム。
【請求項6】
請求項4または5に記載の警備システムであって、
前記第2の携帯端末は、前記取外しが検知されると当該第2の携帯端末の操作を不能とし、
前記画面制御指示に基づき前記切替画面を表示した場合には、所定時間だけ前記第2の携帯端末の操作を不能とせず前記切替操作を入力可能とする、
警備システム。
【請求項7】
複数の警備モードにより監視区域への侵入を監視する警備装置と、ユーザに装着され当該警備装置との通信により遠隔から前記警備モードを切替操作可能な携帯端末と、を具備する警備システムであって、
前記監視区域で設定されている前記警備モードを示す情報を記憶する記憶手段と、
所定の時間帯に前記携帯端末の操作またはセンシングによってユーザのアクティビティが検出された場合に当該ユーザが起床したと判定する判定手段と、
前記ユーザが起床したと判定したとき、前記設定されている警備モードが有人監視モードである場合に、当該有人監視モードから監視解除モードへの切替を提案するとともに前記切替操作を入力可能な切替画面を前記携帯端末に表示させる制御手段と
前記切替画面上で前記切替操作が入力された場合に前記警備モードの切替要求を送信する通信手段と
を具備する警備システム。
【請求項8】
複数の警備モードにより監視区域への侵入を監視する警備装置と、ユーザに装着され当該警備装置との通信により遠隔から前記警備モードを切替操作可能な携帯端末と、を具備する警備システムであって、
前記監視区域で設定されている前記警備モードを示す情報を記憶する記憶手段と、
所定の時間帯に前記携帯端末により前記ユーザの横臥姿勢が検知された場合に当該ユーザが就寝準備中であると判定する判定手段と、
前記ユーザが就寝準備中であると判定したとき、前記設定されている警備モードが監視解除モードである場合に、当該監視解除モードから有人監視モードへの切替を提案するとともに前記切替操作を入力可能な切替画面を前記携帯端末に表示させる制御手段と
前記切替画面上で前記切替操作が入力された場合に前記警備モードの切替要求を送信する通信手段と
を具備する警備システム。
【請求項9】
複数の警備モードにより監視区域への侵入を監視する警備装置との通信により遠隔から前記警備モードを切替操作可能な携帯端末であって、
前記監視区域で設定されている前記警備モードを示す情報を記憶する記憶手段と、
当該携帯端末のユーザへの装着及び当該ユーザからの取外しを検知する検知手段と、
前記装着または取外しを検知した場合に、当該検知の結果及び前記設定されている警備モードに応じて、前記警備モードの切替を提案するとともに前記切替操作を入力可能な切替画面を出力する出力手段と、
前記切替画面上で前記切替操作が入力された場合に前記警備装置へ前記警備モードの切替要求を送信する通信手段と
を具備する携帯端末。
【請求項10】
複数の警備モードにより監視区域への侵入を監視する警備装置との通信により遠隔から前記警備モードを切替操作可能な携帯端末に、
前記監視区域で設定されている前記警備モードを示す情報を記憶するステップと、
当該携帯端末のユーザへの装着及び当該ユーザからの取外しを検知するステップと、
前記装着または取外しを検知した場合に、当該検知の結果及び前記設定されている警備モードに応じて、前記警備モードの切替を提案するとともに前記切替操作を入力可能な切替画面を出力するステップと、
前記切替画面上で前記切替操作が入力された場合に前記警備装置へ前記警備モードの切替要求を送信するステップと
を実行させるプログラム。
発明の詳細な説明
【技術分野】
【0001】
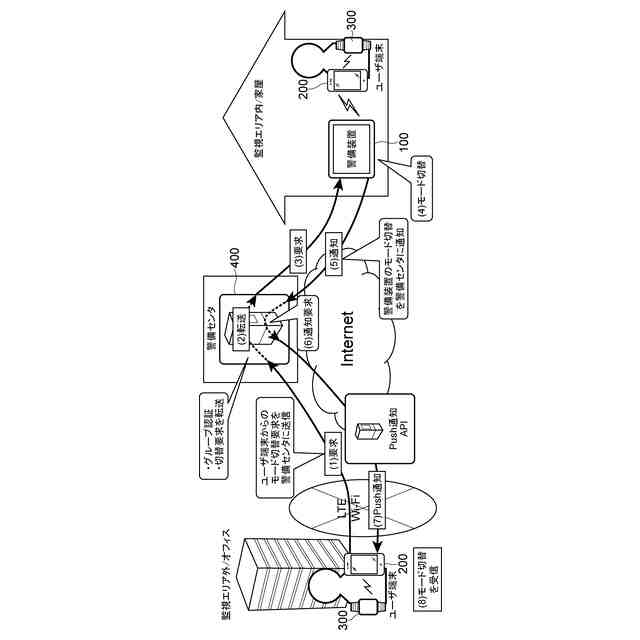
本発明は、複数の警備モードにより建物等の監視区域への侵入を監視する警備装置と当該警備装置との通信により遠隔から警備モードを切替操作可能な携帯端末とを有する警備システム、並びに、当該システムに用いられる携帯端末、当該携帯端末のプログラムに関する。
続きを表示(約 1,600 文字)
【背景技術】
【0002】
従来から、ユーザが自宅等の警備対象と離れた位置から携帯端末を用いて警備モードの遠隔切り替え操作を行うことが可能なシステムが知られている。
【0003】
例えば、下記特許文献1には、スマートフォン等の携帯端末にインストールされた警備用アプリケーションを利用して、携帯端末からの警備装置への遠隔セット/解除操作を可能とすることが開示されている。
【0004】
また当該特許文献1には、警備対象内にユーザがいる場合において、外部からの侵入を監視したい場合(特に、就寝時)に有人監視モード(在宅警戒モード)が利用されることが開示されている。
【先行技術文献】
【特許文献】
【0005】
特開2018-137673号公報
【発明の概要】
【発明が解決しようとする課題】
【0006】
しかしながら、上記特許文献1等の従来技術においては、ユーザが自発的に警備モードの切替操作を行う必要があるため、起床時に有人監視モードを解除し忘れて窓を開放して誤報を発生させたり、就寝時に有人監視モードを設定し忘れたりすることがあった。
【0007】
以上のような事情に鑑み、本発明の目的は、警備モードのセットまたは解除のし忘れを防止することが可能な警備システム、携帯端末及びプログラムを提供することにある。
【課題を解決するための手段】
【0008】
上記目的を達成するため、本発明の一形態に係る警備システムは、複数の警備モードにより監視区域への侵入を監視する警備装置と、当該警備装置との通信により遠隔から上記警備モードを切替操作可能な携帯端末と、を有する警備システムであって、記憶手段と検知手段と制御手段と通信手段とを有する。上記記憶手段は、上記監視区域で設定されている上記警備モードを示す情報を記憶する。上記検知手段は、上記携帯端末のユーザへの装着及び当該ユーザからの取外しを検知する。上記制御手段は、上記検知の結果及び上記設定されている警備モードに応じて、上記警備モードの切替を提案するとともに上記切替操作を入力可能な切替画面を上記携帯端末に表示させる。上記通信手段は、上記切替画面上で上記切替操作が入力された場合に上記警備モードの切替要求を送信する。
【0009】
この構成により、携帯端末のユーザへの装着またはユーザからの取り外しの検出をトリガとして警備モードの切替を促し切替操作を受け付けることで、起床時または就寝時における警備モードのセットまたは解除のし忘れを防止することができる。監視区域とは典型的には住宅や事業所等の建物または当該建物内の部屋であるが、屋外において区画されたスペース等であってもよい。
【0010】
上記携帯端末は、第1の携帯端末と、当該第1の携帯端末とペアリングされ上記ユーザに装着されるウェアラブル端末である第2の携帯端末とを含んでもよい。この場合上記第1の携帯端末は、上記監視区域で設定されている上記警備モードを示す情報を取得する取得手段と、上記制御手段と、上記通信手段とを有し、上記制御手段は、上記装着または取外しを検知した場合に、上記設定されている警備モードに応じて上記第2の携帯端末に上記切替画面を表示するよう指示する画面制御指示を送信してもよい。また上記第2の携帯端末は、当該第2の携帯端末の上記装着及び上記取外しを検知する上記検知手段と、上記画面制御指示に基づいて、上記切替画面を表示する表示手段と、上記切替画面上で切替操作が入力されると、上記通信手段を介して上記警備装置へ上記警備モードの切替要求を送信する切替要求手段とを有してもよい。
(【0011】以降は省略されています)
この特許をJ-PlatPat(特許庁公式サイト)で参照する
関連特許
セコム株式会社
自律移動ロボット
1か月前
セコム株式会社
火災監視システム
1か月前
セコム株式会社
表示機能付き認証装置
1か月前
セコム株式会社
業務見守りシステム及びプログラム
2日前
セコム株式会社
データ処理装置及びデータ処理方法
1か月前
セコム株式会社
生活見守りシステム及びプログラム
1か月前
セコム株式会社
業務見守りシステム及びプログラム
2日前
セコム株式会社
生活見守りシステム及びプログラム
1か月前
セコム株式会社
自律移動ロボットおよび制御システム
1か月前
セコム株式会社
自律移動ロボットおよび制御システム
1か月前
セコム株式会社
対話システム、対話方法及びセンタ装置
1か月前
セコム株式会社
センタ装置、対話システム及び対話方法
1か月前
セコム株式会社
端末所持者検知装置及び端末所持者検知方法
1か月前
セコム株式会社
飛行ロボットの画像表示装置及び画像表示方法
1か月前
株式会社デンソーウェーブ
通行管理システム
1か月前
セコム株式会社
飛行ロボットの画像表示装置及び画像表示方法
1か月前
セコム株式会社
飛行ロボットの画像表示装置および画像表示方法
1か月前
セコム株式会社
飛行ロボットの画像表示装置および画像表示方法
1か月前
セコム株式会社
自律飛行ロボットの飛行制御システム及び飛行制御方法
1か月前
セコム株式会社
飛行ロボットの画像管理装置、画像管理システム及び画像管理方法
1か月前
セコム株式会社
飛行ロボットの画像管理装置、画像管理システム及び画像管理方法
1か月前
セコム株式会社
飛行ロボットの画像管理装置、画像管理システム及び画像管理方法
1か月前
セコム株式会社
飛行ロボットの画像管理装置、画像管理システム及び画像管理方法
1か月前
セコム株式会社
データ処理装置、学習データ生成装置、データ処理方法及び学習データ生成方法
1か月前
セコム株式会社
警備システム、携帯端末、プログラム及び警備方法
1か月前
セコム株式会社
警備システム、携帯端末、プログラム及び警備方法
1か月前
セコム株式会社
警備システム、携帯端末、プログラム及び警備方法
25日前
セコム株式会社
携帯端末、警備システム、プログラム及び表示方法
2か月前
個人
安全支援装置
25日前
日本精機株式会社
警報システム
3か月前
株式会社SUBARU
車両
1か月前
個人
自動電動車椅子
2か月前
エムケー精工株式会社
車両誘導装置
3か月前
スズキ株式会社
運転支援装置
2か月前
ニッタン株式会社
検知器
1か月前
ニッタン株式会社
検知器
2か月前
続きを見る
他の特許を見る