TOP
|
特許
|
意匠
|
商標
特許ウォッチ
Twitter
他の特許を見る
10個以上の画像は省略されています。
公開番号
2025166079
公報種別
公開特許公報(A)
公開日
2025-11-05
出願番号
2025131947,2021083707
出願日
2025-08-07,2021-05-18
発明の名称
警備システム、携帯端末、プログラム及び警備方法
出願人
セコム株式会社
代理人
弁理士法人南青山国際特許事務所
主分類
G08B
25/00 20060101AFI20251028BHJP(信号)
要約
【課題】モード切替操作時のユーザの利便性を向上させる警備システムを提供する。
【解決手段】警備システムは、複数の警備モードにより監視区域への侵入を監視する警備装置と、警備装置との通信により遠隔から警備モードを切替操作可能な携帯端末と、を具備する警備システムであって、記憶手段と判定手段と制御手段と通信手段とを有する。記憶手段は、監視区域で設定されている警備モードを示すモード識別情報を記憶する。判定手段は、携帯端末が、監視区域内から監視区域外に移動したか否か、または、監視区域外における監視区域の近傍の所定距離範囲内の第1区域へ、所定距離範囲外の第2区域から進入したか否かを判定する。制御手段は、判定手段の判定結果および設定されている警備モードに応じて、携帯端末に警備モードの切替操作を入力可能な切替画面を表示させる。通信手段は、切替画面上で切替操作が入力された場合に警備モードの切替要求を送信する。
【選択図】図6
特許請求の範囲
【請求項1】
複数の警備モードにより監視区域への侵入を監視する警備装置と、当該警備装置との通信により遠隔から前記警備モードを切替操作可能な携帯端末と、を具備する警備システムであって、
前記監視区域で設定されている前記警備モードを示すモード識別情報を記憶する記憶手段と、
前記携帯端末が、前記監視区域の近傍の所定距離範囲内の第1区域へ、当該所定距離範囲外の第2区域から進入したか否かを判定する判定手段と、
前記進入したと判定されたとき、前記設定されている警備モードが警備セットモードである場合、前記携帯端末に当該警備セットモードから警備解除モードへの前記切替操作を入力可能な切替画面を表示させる制御手段と、
前記切替画面上で前記切替操作が入力された場合に前記警備モードの切替要求を送信する通信手段と
を有する警備システム。
続きを表示(約 2,400 文字)
【請求項2】
複数の警備モードにより監視区域への侵入を監視する警備装置と、当該警備装置との通信により遠隔から前記警備モードを切替操作可能な携帯端末と、を具備する警備システムであって、
前記携帯端末のユーザによる当該携帯端末の装着状態を検知する検知手段と、
前記監視区域で設定されている前記警備モードを示すモード識別情報を記憶する記憶手段と、
前記携帯端末が、前記監視区域内から前記監視区域外に移動したか否かを判定する判定手段と、
前記移動したと判定されたとき、前記設定されている警備モードが警備解除モードかつ前記携帯端末が前記装着状態であることを条件に、当該携帯端末に前記警備解除モードから警備セットモードへの前記切替操作を入力可能な切替画面を表示させる制御手段と、
前記装着状態において前記切替画面上で前記切替操作を受け付けると、前記警備モードの切替要求を送信する通信手段と
を有する警備システム。
【請求項3】
請求項1に記載の警備システムであって、
前記携帯端末のユーザによる当該携帯端末の装着状態を検知する検知手段と、
前記進入したと判定されたとき、前記設定されている警備モードが警備セットモードかつ前記携帯端末が前記装着状態であることを条件に、当該携帯端末に前記警備セットモードから警備解除モードへの前記切替操作を入力可能な切替画面を表示させる制御手段と、
前記装着状態において前記切替画面上で前記切替操作を受け付けると、前記警備モードの切替要求を送信する通信手段と
を有する警備システム。
【請求項4】
請求項2または3に記載の警備システムであって、
前記携帯端末の前記装着状態において前記ユーザにより所定の認証操作が実行された場合に、当該装着状態が終了するまで操作制限を解除する解除手段を有し、
前記制御手段は、前記携帯端末の前記操作制限が解除されている前記装着状態であることを条件に、前記切替画面を表示させる
警備システム。
【請求項5】
請求項1乃至4のいずれかに記載の警備システムであって、
前記携帯端末は、ユーザに所持される第1の携帯端末と、当該第1の携帯端末とペアリングされ当該ユーザに装着されるウェアラブル端末である第2の携帯端末とを含み、
前記第1の携帯端末は、
前記判定手段と、
前記監視区域で設定されている前記警備モードを示す情報を取得する取得手段と、
前記通信手段と、
前記制御手段とを有し、
当該制御手段は、前記判定の結果および前記設定されている警備モードに応じて、前記第2の携帯端末に前記切替画面を表示するよう指示する画面制御指示を送信し、
前記第2の携帯端末は、
当該第2の携帯端末の装着状態を検知する検知手段と、
前記装着状態が継続している場合に当該第2の携帯端末の操作制限を解除する解除手段と、
前記装着状態であることを条件に、前記画面制御指示に基づいて前記切替画面を表示する表示手段と、
前記装着状態において前記切替画面上で切替操作を受け付けると、前記第1の携帯端末の前記通信手段を介して前記警備装置へ前記警備モードの切替要求を送信する切替要求手段とを有する
警備システム。
【請求項6】
請求項5に記載の警備システムであって、
前記解除手段は、前記第2の携帯端末の装着状態において前記ユーザにより所定の認証操作が実行された場合に、当該装着状態が終了するまで前記操作制限を解除する
警備システム。
【請求項7】
請求項5または6に記載の警備システムであって、
前記制御手段は、前記ユーザによる所定の操作または前記ユーザと紐づけられた他のユーザの位置情報を基に、当該ユーザが前記監視区域からの最終退出者であるか否かを判定し、当該ユーザが最終退出者であって、かつ、前記設定されている警備モードが前記警備解除モードである場合に、前記警備セットモードへの切替操作を入力可能な前記切替画面を表示させる
警備システム。
【請求項8】
請求項7に記載の警備システムであって、
前記所定の操作は、前記第2の携帯端末と近接通信可能な前記監視区域の出口近傍に設置された通信機に当該第2の携帯端末をかざす操作であり、
前記制御手段は、前記操作により前記通信機と近接通信が行われた場合に前記ユーザが最終退出者であると判定する
警備システム。
【請求項9】
請求項7または8に記載の警備システムであって、
前記制御手段は、前記ユーザが最終退出者であると判定した場合、前記監視区域内のセンサから受信した情報を基に前記警備モードが前記警備セットモードへ切替可能な状態であるか否かを判定し、切替不可と判定した場合、その旨を示す情報を前記第2の携帯端末に出力させる
警備システム。
【請求項10】
請求項5乃至9のいずれかに記載の警備システムであって、
前記記憶手段は、前記警備モードが切り替えられるごとに、当該警備モードの切替操作を行ったユーザを識別するユーザ識別情報を前記モード識別情報と対応付けて記憶し、
前記制御手段は、前記設定されている警備モードが警備解除モードである場合、当該警備解除モードを示す前記モード識別情報に対応するユーザ識別情報を基に、現在設定されている警備モードが警備解除モードであること及び当該警備解除モードへの切替要求を行ったユーザに関する情報を前記第2の携帯端末に出力させる
警備システム。
(【請求項11】以降は省略されています)
発明の詳細な説明
【技術分野】
【0001】
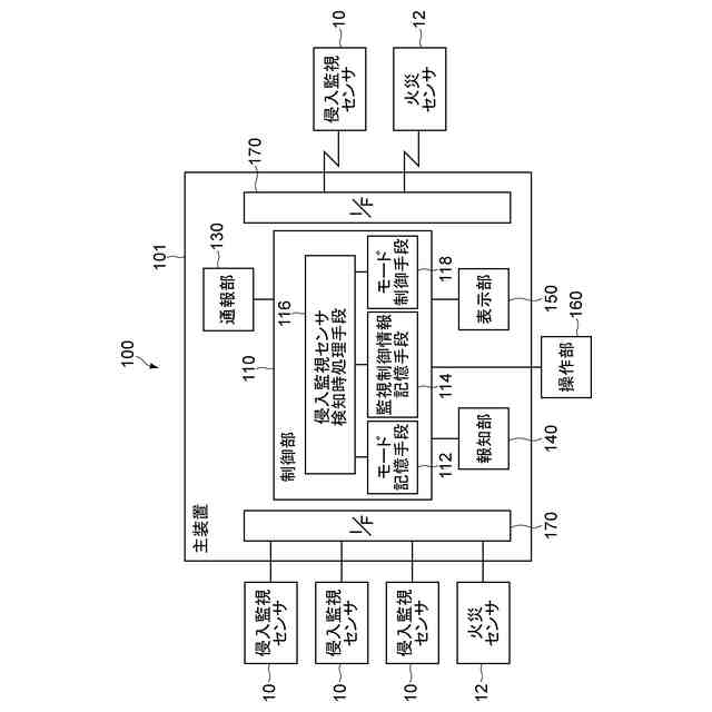
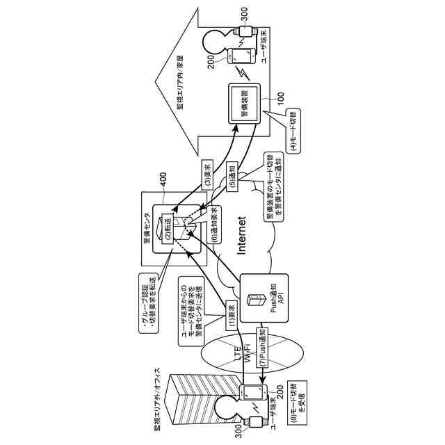
本発明は、複数の警備モードにより建物等の監視区域への侵入を監視する警備装置と当該警備装置との通信により遠隔から警備モードを切替操作可能な携帯端末とを有する警備システム、並びに、当該システムに用いられる携帯端末、当該携帯端末のプログラムに関する。
続きを表示(約 2,000 文字)
【背景技術】
【0002】
従来から、ユーザが自宅等の警備対象と離れた位置から携帯端末を用いて警備モードの遠隔切り替え操作を行うことが可能なシステムが知られている。
【0003】
例えば、下記特許文献1には、スマートフォン等の携帯端末にインストールされた警備アプリケーションを利用して、携帯端末からの警備装置への遠隔セット/解除操作を可能とし、また、警備装置によるモード切替結果を取得して携帯端末に表示することが開示されている。
【先行技術文献】
【特許文献】
【0004】
特開2018-137673号公報
【発明の概要】
【発明が解決しようとする課題】
【0005】
しかしながら、上記特許文献1等の従来技術においては、ユーザは、例えば帰宅時や外出時等、警備モードを切り替える必要がある場合には、携帯端末を操作して警備アプリケーションを起動し、モード切替のための操作画面を表示させて、当該操作画面上で切替先の警備モードを選択するという煩雑な操作が必要となる。このような操作は、例えばユーザが手荷物で手が塞がっていたりバッグの中に携帯端末を収納したりしている場合等にはユーザに特に煩わしさを感じさせることになる。
【0006】
以上のような事情に鑑み、本発明の目的は、モード切替操作時のユーザの利便性を向上させることが可能な警備システム、携帯端末及びプログラムを提供することにある。
【課題を解決するための手段】
【0007】
上記目的を達成するため、本発明の一形態に係る警備システムは、複数の警備モードにより監視区域への侵入を監視する警備装置と、当該警備装置との通信により遠隔から上記警備モードを切替操作可能な携帯端末と、を具備する警備システムであって、記憶手段、判定手段、制御手段及び通信手段を有する。上記記憶手段は、上記監視区域で設定されている上記警備モードを示すモード識別情報を記憶する。上記判定手段は、上記携帯端末が、上記監視区域内から上記監視区域外に移動したか否か、または、上記監視区域外における上記監視区域の近傍の所定距離範囲内の第1区域へ、当該所定距離範囲外の第2区域から進入したか否かを判定する。上記制御手段は、上記判定の結果および上記設定されている警備モードに応じて、上記携帯端末に上記警備モードの上記切替操作を入力可能な切替画面を表示させる。上記通信手段は、上記切替画面上で上記切替操作が入力された場合に上記警備モードの切替要求を送信する。
【0008】
この構成により警備システムは、警備モードの切り替えが必要な場合にユーザの操作によらずにワンステップで警備モードを切り替え可能な切替画面を表示させることで、モード切替操作時のユーザの利便性を向上させることができる。ここで上記第1区域は例えば住宅の周囲数m範囲等、ユーザが監視区域内に移動する直前に存在するであろう区域である。
【0009】
上記携帯端末は、ユーザに所持される第1の携帯端末と、当該第1の携帯端末とペアリングされ当該ユーザに装着されるウェアラブル端末である第2の携帯端末とを含んでもよい。
この場合上記第1の携帯端末は、上記判定手段と、上記監視区域で設定されている上記警備モードを示す情報を取得する取得手段と、上記通信手段と、上記制御手段とを有してもよく、当該制御手段は、上記判定の結果および上記設定されている警備モードに応じて、上記第2の携帯端末に上記切替画面を表示するよう指示する画面制御指示を送信してもよい。
またこの場合上記第2の携帯端末は、当該第2の携帯端末の装着状態を検知する検知手段と、上記装着状態が継続している場合に当該第2の携帯端末の操作制限を解除する解除手段と、上記画面制御指示に基づいて、上記切替画面を表示する表示手段と、上記切替画面上で切替操作が入力されると、上記第1の携帯端末の上記通信手段を介して上記警備装置へ上記警備モードの切替要求を送信する切替要求手段とを有してもよい。
【0010】
これにより、ユーザが第1の携帯端末をバッグに収納している等、すぐに操作できない状況においても、ウェアラブル端末上で切替操作を可能とすることで、ユーザの利便性をさらに向上させることができる。ここで第1の携帯端末は例えばスマートフォンであり、第2の携帯端末は例えばウェアラブル端末(スマートウォッチ、スマートバンド、スマートリング、スマートグラス等)である。また制御手段は、切替画面を表示させるのみならず第2の携帯端末を振動させてもよい。監視区域とは典型的には住宅や事業所等の建物または当該建物内の部屋であるが、屋外において区画されたスペース等であってもよい。
(【0011】以降は省略されています)
この特許をJ-PlatPat(特許庁公式サイト)で参照する
関連特許
セコム株式会社
自律移動ロボット
1か月前
セコム株式会社
火災監視システム
1か月前
セコム株式会社
表示機能付き認証装置
1か月前
セコム株式会社
業務見守りシステム及びプログラム
2日前
セコム株式会社
データ処理装置及びデータ処理方法
1か月前
セコム株式会社
生活見守りシステム及びプログラム
1か月前
セコム株式会社
業務見守りシステム及びプログラム
2日前
セコム株式会社
生活見守りシステム及びプログラム
1か月前
セコム株式会社
自律移動ロボットおよび制御システム
1か月前
セコム株式会社
自律移動ロボットおよび制御システム
1か月前
セコム株式会社
対話システム、対話方法及びセンタ装置
1か月前
セコム株式会社
センタ装置、対話システム及び対話方法
1か月前
セコム株式会社
端末所持者検知装置及び端末所持者検知方法
1か月前
セコム株式会社
飛行ロボットの画像表示装置及び画像表示方法
1か月前
株式会社デンソーウェーブ
通行管理システム
1か月前
セコム株式会社
飛行ロボットの画像表示装置及び画像表示方法
1か月前
セコム株式会社
飛行ロボットの画像表示装置および画像表示方法
1か月前
セコム株式会社
飛行ロボットの画像表示装置および画像表示方法
1か月前
セコム株式会社
自律飛行ロボットの飛行制御システム及び飛行制御方法
1か月前
セコム株式会社
飛行ロボットの画像管理装置、画像管理システム及び画像管理方法
1か月前
セコム株式会社
飛行ロボットの画像管理装置、画像管理システム及び画像管理方法
1か月前
セコム株式会社
飛行ロボットの画像管理装置、画像管理システム及び画像管理方法
1か月前
セコム株式会社
飛行ロボットの画像管理装置、画像管理システム及び画像管理方法
1か月前
セコム株式会社
データ処理装置、学習データ生成装置、データ処理方法及び学習データ生成方法
1か月前
セコム株式会社
警備システム、携帯端末、プログラム及び警備方法
1か月前
セコム株式会社
警備システム、携帯端末、プログラム及び警備方法
1か月前
セコム株式会社
警備システム、携帯端末、プログラム及び警備方法
25日前
セコム株式会社
携帯端末、警備システム、プログラム及び表示方法
2か月前
日本精機株式会社
警報システム
3か月前
個人
安全支援装置
25日前
株式会社SUBARU
車両
1か月前
個人
自動電動車椅子
2か月前
エムケー精工株式会社
車両誘導装置
3か月前
スズキ株式会社
運転支援装置
2か月前
ニッタン株式会社
検知器
1か月前
ニッタン株式会社
検知器
2か月前
続きを見る
他の特許を見る