TOP
|
特許
|
意匠
|
商標
特許ウォッチ
Twitter
他の特許を見る
公開番号
2025151682
公報種別
公開特許公報(A)
公開日
2025-10-09
出願番号
2024053227
出願日
2024-03-28
発明の名称
索体引留金具
出願人
東京製綱株式会社
代理人
個人
,
個人
,
個人
,
個人
主分類
F16G
11/04 20060101AFI20251002BHJP(機械要素または単位;機械または装置の効果的機能を生じ維持するための一般的手段)
要約
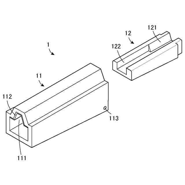
【課題】ワイヤロープ等の索体を引留めるための、くさびを用いた金具(索体引留金具)に関し、より使い勝手に優れた索体引留金具を提供すること。
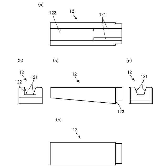
【解決手段】索体が挿通される筒状体部を備える嵌合部材11と、前記筒状体部に挿入されるくさび形状部分を有し、前記筒状体部内で索体と当接する打ち込み部材12と、を備え、打ち込み部材12の、索体と接触する側の面において、索体と2面で接するように構成されたV字状溝部121と、V字状溝部121よりも索体に対する締結力が小さくなる弱締結部122と、が形成されている、索体引留金具1。
【選択図】図1
特許請求の範囲
【請求項1】
索体が挿通される筒状体部を備える嵌合部材と、
前記筒状体部に挿入されるくさび形状部分を有し、前記筒状体部内で前記索体と当接する打ち込み部材と、を備え、
前記打ち込み部材の、前記索体と接触する側の面において、
前記索体と2面で接するように構成されたV字状溝部と、
前記V字状溝部よりも前記索体に対する締結力が小さくなる弱締結部と、
が形成されている、索体引留金具。
続きを表示(約 260 文字)
【請求項2】
前記弱締結部が、前記V字状溝部に対して、前記打ち込み部材の打ち込み方向の前方側に形成されている、請求項1に記載の索体引留金具。
【請求項3】
前記弱締結部が、前記打ち込み部材の打ち込み方向に直交する断面において、凹字状の形状を有する、請求項1に記載の索体引留金具。
【請求項4】
前記打ち込み部材の打ち込み方向における、前記V字状溝部及び前記弱締結部の形成範囲に対する前記弱締結部の形成範囲の割合が、40%以上である、請求項1から3の何れかに記載の索体引留金具。
発明の詳細な説明
【技術分野】
【0001】
本発明は、ワイヤロープ等の索体を引留めるための索体引留金具に関する。
続きを表示(約 1,200 文字)
【背景技術】
【0002】
ワイヤロープ等の索体を引留めるための金具として、くさびを用いた金具が用いられている。特許文献1では、このようなくさびを用いた金具(くさびクランプ)に関する技術が開示されている。
【先行技術文献】
【特許文献】
【0003】
特許第6009611号公報
【発明の概要】
【発明が解決しようとする課題】
【0004】
特許文献1で開示されるくさびクランプ(索体引留金具)は、特許文献1に記載されているように、索体に張力がかかった際において、索体とくさび部材の間の滑りが抑止され、これらが一体のものとして拘束部材(筒状の部材)の中に入り込んでより高い締結力が得られるように構成されており、優れた締結力を有している。
特許文献1で開示されるくさびクランプの原理を利用した索体引留金具は、作業性にも優れ、且つ、前述のように高い定着効率が得られるため、より多くの用途で用いられるようになってきている。
このような用途の多様化に伴い、より使い勝手のよい索体引留金具が求められている。
【0005】
本発明は、上記の点に鑑み、ワイヤロープ等の索体を引留めるための、くさびを用いた金具(索体引留金具)に関し、より使い勝手のよい索体引留金具を提供することを目的とする。
【課題を解決するための手段】
【0006】
(構成1)
索体が挿通される筒状体部を備える嵌合部材と、前記筒状体部に挿入されるくさび形状部分を有し、前記筒状体部内で前記索体と当接する打ち込み部材と、を備え、前記打ち込み部材の、前記索体と接触する側の面において、前記索体と2面で接するように構成されたV字状溝部と、前記V字状溝部よりも前記索体に対する締結力が小さくなる弱締結部と、が形成されている、索体引留金具。
【0007】
(構成2)
前記弱締結部が、前記V字状溝部に対して、前記打ち込み部材の打ち込み方向の前方側に形成されている、構成1に記載の索体引留金具。
【0008】
(構成3)
前記弱締結部が、前記打ち込み部材の打ち込み方向に直交する断面において、凹字状の形状を有する、構成1又は2に記載の索体引留金具。
【0009】
(構成4)
前記打ち込み部材の打ち込み方向における、前記V字状溝部及び前記弱締結部の形成範囲に対する前記弱締結部の形成範囲の割合が、40%以上である、構成1から3の何れかに記載の索体引留金具。
【発明の効果】
【0010】
本発明によれば、ワイヤロープ等の索体を引留めるための、くさびを用いた金具(索体引留金具)に関し、より使い勝手のよい索体引留金具を提供することができる。
【図面の簡単な説明】
(【0011】以降は省略されています)
この特許をJ-PlatPat(特許庁公式サイト)で参照する
関連特許
東京製綱株式会社
索体引留金具
27日前
東京製綱株式会社
索体引留金具
27日前
ブイ・エス・エル・ジャパン株式会社
ハイブリッド反力アンカーおよびその組立てキット
27日前
個人
留め具
22日前
個人
鍋虫ねじ
2か月前
個人
回転伝達機構
3か月前
個人
紛体用仕切弁
2か月前
個人
差動歯車用歯形
4か月前
個人
ジョイント
1か月前
個人
給排気装置
29日前
株式会社不二工機
電磁弁
4か月前
株式会社不二工機
電磁弁
5か月前
個人
ナット
今日
個人
ナット
1か月前
個人
地震の揺れ回避装置
3か月前
個人
吐出量監視装置
2か月前
兼工業株式会社
バルブ
1日前
カヤバ株式会社
ダンパ
4か月前
カヤバ株式会社
ダンパ
4か月前
カヤバ株式会社
緩衝器
4か月前
カヤバ株式会社
緩衝器
4か月前
カヤバ株式会社
緩衝器
28日前
柿沼金属精機株式会社
分岐管
2か月前
アズビル株式会社
回転弁
1か月前
株式会社ノーリツ
分配弁
1か月前
株式会社ノーリツ
分配弁
6か月前
株式会社ノーリツ
分配弁
6か月前
株式会社ニフコ
クリップ
1か月前
株式会社ノーリツ
分配弁
6か月前
株式会社フジキン
ボールバルブ
4か月前
個人
固着具と固着具の固定方法
5か月前
個人
固着具と固着具の固定方法
5か月前
株式会社タカギ
水栓装置
2か月前
個人
固着具と固着具の固定方法
5か月前
株式会社不二工機
電動弁
29日前
株式会社不二工機
電磁弁
2か月前
続きを見る
他の特許を見る