TOP
|
特許
|
意匠
|
商標
特許ウォッチ
Twitter
他の特許を見る
公開番号
2025151264
公報種別
公開特許公報(A)
公開日
2025-10-09
出願番号
2024052595
出願日
2024-03-27
発明の名称
物体検知装置
出願人
ミネベアミツミ株式会社
代理人
個人
主分類
B60J
5/00 20060101AFI20251002BHJP(車両一般)
要約
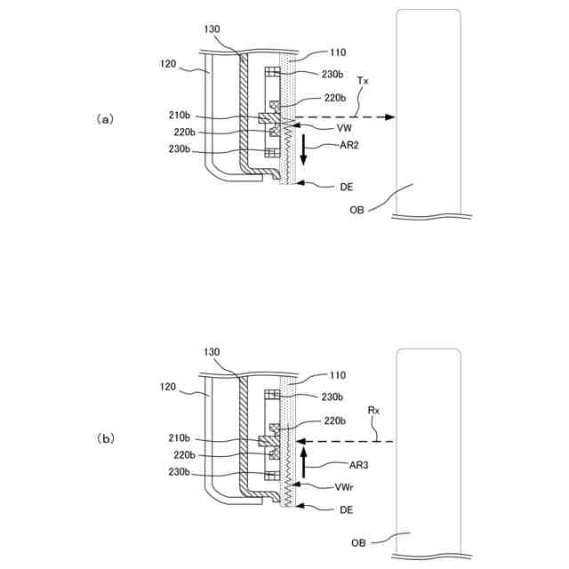
【課題】安定して障害物を検知する。
【解決手段】物体検知装置200は、車体の開口部を開閉するドアとしてのフロントドア部100を有する車両Vに装着され、車両Vの車幅方向外側に存在する障害物OBを検知する物体検知装置200であって、フロントドア部100の車幅方向外側を構成するドアアウタパネル110に配設されている超音波を送受信可能な超音波センサ部210と、超音波センサ部210を囲むようにドアアウタパネル110に配設された第1の制振部材としての第1制振部220と、ドアアウタパネル110における端面としてのドア端面部DEと第1制振部220との間に配置されている第2の制振部材としての第2制振部230と、を備えている。
【選択図】図2
特許請求の範囲
【請求項1】
車体の開口部を開閉するドアを有する車両に装着され、前記車両の車幅方向外側に存在する障害物を検知する物体検知装置であって、
前記ドアの車幅方向外側を構成するドア外部材に配設され、超音波を送受信可能な超音波センサ部と、
前記超音波センサ部を囲むように前記ドア外部材に配設された第1の制振部材と、
前記ドア外部材における端面と前記第1の制振部材との間に配置された第2の制振部材と、
を備えていることを特徴とする物体検知装置。
続きを表示(約 300 文字)
【請求項2】
前記第1の制振部材における前記ドア外部材の端面側の板厚は、前記第1の制振部材の中央部よりも厚く形成されていることを特徴とする請求項1に記載の物体検知装置。
【請求項3】
前記第2の制振部材の板厚は、前記第1の制振部材の板厚より厚く形成されていることを特徴とする請求項1又は請求項2に記載の物体検知装置。
【請求項4】
前記第1の制振部材または前記第2の制振部材における板厚、あるいは、前記第1の制振部材および前記第2の制振部材の双方における板厚は、前記ドア外部材の端面に近い方が厚く形成されていることを特徴とする請求項1に記載の物体検知装置。
発明の詳細な説明
【技術分野】
【0001】
本発明は、物体検知装置に関するものである。
続きを表示(約 1,200 文字)
【背景技術】
【0002】
近年、車両におけるドアの付け根部分をヒンジで固定し扇型に開閉させるスイングドアを自動開閉させる自動開閉装置が備えられている場合がある。
【0003】
スイングドアを自動開閉させるときには、スイングドアを車両の車幅方向外側に向かって開閉させるため、自動開閉装置は、スイングドアとスイングドアの動作範囲に存在する障害物とが衝突しないように障害物を検知する必要がある。
【0004】
障害物を検知する技術として、例えば、超音波を障害物に向けて送信し、障害物から反射してくる超音波を、超音波センサを用いて受信することによって障害物を検知する技術が知られている。
【0005】
上記に示す超音波を用いて障害物を検知する技術として、放射面を有する超音波センサと、超音波センサの放射面が取り付けられる取付部を有する取付面と、当該取付面に設けられるとともに取付部を起点として延びる2方向に挟まれた領域に設けられる剛性変化部とを有する壁部材とを備えている技術が開示されている(例えば、特許文献1参照)。
【先行技術文献】
【特許文献】
【0006】
WO 2017/141402 A1号公報
【発明の概要】
【発明が解決しようとする課題】
【0007】
特許文献1に示す技術は、外板部品であるドアに超音波センサのための孔を設けることなく超音波を放射させる方向を調整することによって、例えば、路面による反射波の誤検知を防止する技術である。このとき、放射した超音波による振動は、ドアの外板部品にも伝導される。
【0008】
しかしながら、特許文献1に示す技術においては、ドアの外板部品に伝導された超音波に関する考慮がされていないことによって、外板部品において発生する超音波による振動を超音波センサが誤検知する虞があった。
【0009】
そこで、本発明は上述の課題に鑑みてなされたものであり、安定して障害物を検知する物体検知装置を提供することを目的とする。
【課題を解決するための手段】
【0010】
本発明の1又はそれ以上の実施形態は、車体の開口部を開閉するドアを有する車両に装着され、前記車両の車幅方向外側に存在する障害物を検知する物体検知装置であって、前記ドアの車幅方向外側を構成するドア外部材に配設され、超音波を送受信可能な超音波センサ部と、前記超音波センサ部を囲むように前記ドア外部材に配設された第1の制振部材と、前記ドア外部材における端面と前記第1の制振部材との間に配置された第2の制振部材と、を備えている物体検知装置である。
【発明の効果】
(【0011】以降は省略されています)
この特許をJ-PlatPat(特許庁公式サイト)で参照する
関連特許
個人
カーテント
4か月前
個人
タイヤレバー
2か月前
個人
前輪キャスター
1か月前
個人
上部一体型自動車
9日前
個人
ルーフ付きトライク
2か月前
個人
タイヤ脱落防止構造
1か月前
個人
車輪清掃装置
4か月前
個人
ホイルのボルト締結
3か月前
日本精機株式会社
表示装置
2か月前
日本精機株式会社
表示装置
2か月前
井関農機株式会社
作業車両
4か月前
個人
マスタシリンダ
16日前
井関農機株式会社
作業車両
4か月前
日本精機株式会社
表示装置
1か月前
個人
キャンピングトライク
3か月前
個人
車両通過構造物
2か月前
日本精機株式会社
表示装置
2か月前
個人
乗合路線バスの客室装置
2か月前
個人
キャンピングトレーラー
3か月前
個人
ワイパーゴム性能保持具
4か月前
個人
車両用スリップ防止装置
3か月前
個人
アクセルのソフトウェア
3か月前
個人
音声ガイド、音声サービス
2か月前
株式会社ニフコ
照明装置
1か月前
株式会社ニフコ
収納装置
1か月前
個人
円湾曲ホイール及び球体輪
2か月前
日本精機株式会社
車室演出装置
1か月前
個人
車載小物入れ兼雨傘収納具
3か月前
株式会社豊田自動織機
産業車両
2か月前
日本精機株式会社
画像投映装置
5日前
日本精機株式会社
車載表示装置
3か月前
株式会社ニフコ
保持装置
3か月前
日本精機株式会社
車載表示装置
24日前
井関農機株式会社
作業車両
3か月前
日本精機株式会社
車両用投影装置
23日前
日本無線株式会社
取付金具
2か月前
続きを見る
他の特許を見る