TOP
|
特許
|
意匠
|
商標
特許ウォッチ
Twitter
他の特許を見る
公開番号
2025150762
公報種別
公開特許公報(A)
公開日
2025-10-09
出願番号
2024051821
出願日
2024-03-27
発明の名称
ドラム式洗濯機
出願人
パナソニックIPマネジメント株式会社
代理人
個人
,
個人
主分類
D06F
39/08 20060101AFI20251002BHJP(繊維または類似のものの処理;洗濯;他に分類されない可とう性材料)
要約
【課題】洗濯水循環部の構造を簡素化することができるドラム式洗濯機を提供すること。
【解決手段】ドラム式洗濯機は、前面に開口した筐体開口部を有する筐体と、前面に開口した水槽開口部を有し、筐体内で弾性支持された水槽と、水槽の内側に配置され、回転駆動される回転ドラムと、筐体開口部を開閉可能なドアと、筐体開口部と水槽開口部との間を接続するパッキンと、水槽に貯められた洗濯水を循環させる洗濯水循環部と、を備え、洗濯水循環部は、循環経路と、循環ポンプと、循環経路の洗濯水に空気を混合して回転ドラムの内部空間に供給する洗濯水供給部と、を備え、洗濯水供給部は、洗濯水に空気を混合する混合部と、混合部にそれぞれつながる流入口および流出口とを有し、洗濯水供給部の少なくとも一部がパッキンに設けられる。
【選択図】図1
特許請求の範囲
【請求項1】
前面に開口した筐体開口部を有する筐体と、
前面に開口した水槽開口部を有し、前記筐体内で弾性支持された水槽と、
前記水槽の内側に配置され、回転駆動される回転ドラムと、
前記筐体開口部を開閉可能なドアと、
前記筐体開口部と前記水槽開口部との間を接続するパッキンと、
前記水槽に貯められた洗濯水を循環させる洗濯水循環部と、を備え、
前記洗濯水循環部は、循環経路と、循環ポンプと、前記循環経路の洗濯水に空気を混合して前記回転ドラムの内部空間に供給する洗濯水供給部と、を備え、
前記洗濯水供給部は、洗濯水に空気を混合する混合部と、前記混合部にそれぞれつながる流入口および流出口とを有し、前記洗濯水供給部の少なくとも一部が前記パッキンに設けられる、ドラム式洗濯機。
続きを表示(約 980 文字)
【請求項2】
前記パッキンは、前記水槽開口部に取り付けられる第1取付部と、前記筐体開口部に取り付けられる第2取付部と、前記第1取付部と前記第2取付部の間に位置する蛇腹部とを有し、
前記洗濯水供給部の前記少なくとも一部は、前記蛇腹部と前記第2取付部の間に設けられる、請求項1に記載のドラム式洗濯機。
【請求項3】
前記洗濯水供給部の前記少なくとも一部は、前記混合部を含む、請求項1に記載のドラム式洗濯機。
【請求項4】
前記パッキンは、前記洗濯水供給部の前記少なくとも一部を挿入する挿入部と、前記挿入部を前記回転ドラムの内部空間に連通させる連通口とを有する、請求項1に記載のドラム式洗濯機。
【請求項5】
前記洗濯水供給部の前記少なくとも一部は、前記混合部を含み、
前記混合部は、前記流入口からの洗濯水を流す第1流路と、前記第1流路を画定する壁部とを有し、前記壁部には貫通孔が形成され、前記壁部と前記パッキンの前記挿入部との間に、前記貫通孔を通じて前記第1流路に連通する第2流路を設けた、請求項4に記載のドラム式洗濯機。
【請求項6】
前記第2流路は、前記連通口を通じて前記回転ドラムの内部空間と連通している、請求項5に記載のドラム式洗濯機。
【請求項7】
前記混合部は、前記壁部から外側に突出して前記挿入部に接触する別の壁部をさらに有し、
前記挿入部における前記別の壁部と接触する箇所を外側から固定する固定部材をさらに設けた、請求項5に記載のドラム式洗濯機。
【請求項8】
前記パッキンは、前記連通口から吐出される洗濯水を前記回転ドラムの内部空間に誘導する誘導部を有する、請求項4に記載のドラム式洗濯機。
【請求項9】
前記挿入部は、前記洗濯水供給部を挿入方向に受けるように縮径して前記流出口に面する縮径部を有する、請求項4に記載のドラム式洗濯機。
【請求項10】
前記洗濯水供給部は、前記流入口と前記混合部を接続する管部をさらに有し、
前記混合部は、前記管部を前記混合部の内部空間に突出させた突出部を有する、請求項1に記載のドラム式洗濯機。
(【請求項11】以降は省略されています)
発明の詳細な説明
【技術分野】
【0001】
本開示は、ドラム式洗濯機に関する。
続きを表示(約 1,100 文字)
【背景技術】
【0002】
例えば、特許文献1には、筐体と、水槽と、回転ドラムと、水槽内の洗濯水を循環させる循環経路と、循環経路を通過した洗濯水に空気を混合して洗剤泡を生成する泡生成部とを備えるドラム式洗濯機が開示されている。
【0003】
特許文献1に記載されたドラム式洗濯機では、泡生成部は、水槽の前面に配置されたカバー部材に設けられている。
【先行技術文献】
【特許文献】
【0004】
特開2023-033699号公報
【発明の概要】
【発明が解決しようとする課題】
【0005】
しかしながら、特許文献1のドラム式洗濯機では、泡生成部を水槽に設けたことで、回転ドラムの振動が泡生成部に伝わりやすく、振動の伝達を抑制するための蛇腹やエルボ等の部材が必要となり、泡生成部や循環経路を含む洗濯水循環部の構造が複雑化しやすい。
【0006】
したがって、本開示の目的は、上記課題を解決することにあって、洗濯水循環部の構造を簡素化することができるドラム式洗濯機を提供することにある。
【課題を解決するための手段】
【0007】
本開示の一態様のドラム式洗濯機は、前面に開口した筐体開口部を有する筐体と、前面に開口した水槽開口部を有し、前記筐体内で弾性支持された水槽と、前記水槽の内側に配置され、回転駆動される回転ドラムと、前記筐体開口部を開閉可能なドアと、前記筐体開口部と前記水槽開口部との間を接続するパッキンと、前記水槽に貯められた洗濯水を循環させる洗濯水循環部と、を備え、前記洗濯水循環部は、循環経路と、循環ポンプと、前記循環経路の洗濯水に空気を混合して前記回転ドラムの内部空間に供給する洗濯水供給部と、を備え、前記洗濯水供給部は、洗濯水に空気を混合する混合部と、前記混合部にそれぞれつながる流入口および流出口とを有し、前記洗濯水供給部の少なくとも一部が前記パッキンに設けられる。
【発明の効果】
【0008】
本開示によれば、洗濯水循環部の構造を簡素化することができる。
【図面の簡単な説明】
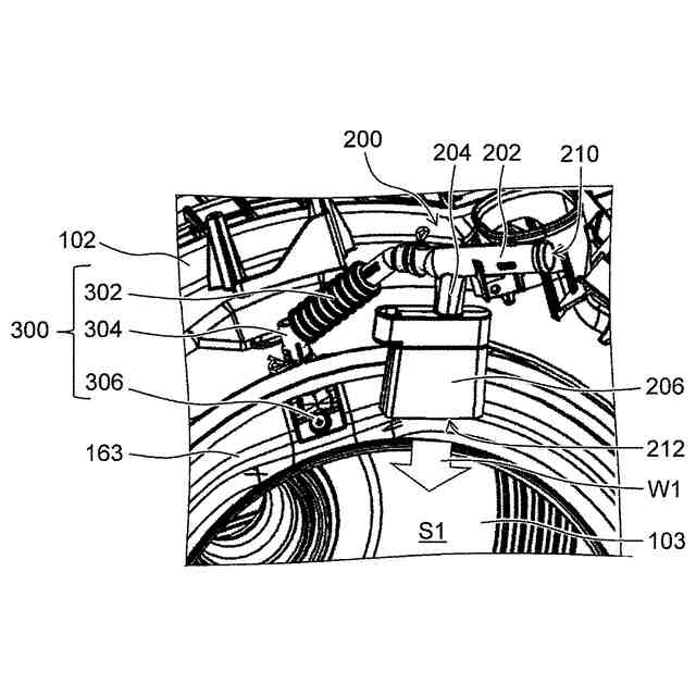
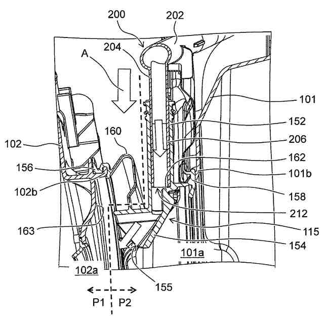
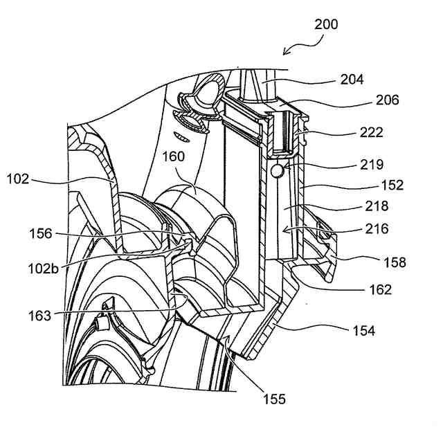
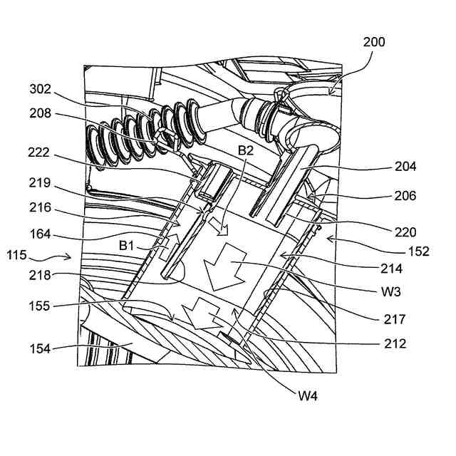
【0009】
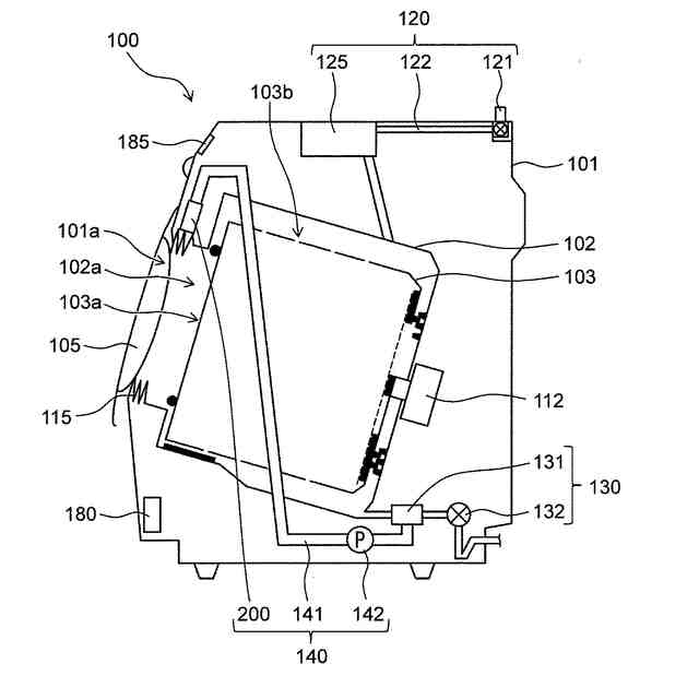
実施形態のドラム式洗濯機の模式断面図
実施形態の洗濯水供給部の周辺構成を示す斜視図
実施形態の洗濯水供給部の周辺構成を示す斜視図
図2におけるI-I断面図
図2におけるII-II断面図
図2におけるIII-III断面図
【0010】
(実施形態)
本開示の実施形態に係るドラム式洗濯機について説明する。
(【0011】以降は省略されています)
この特許をJ-PlatPat(特許庁公式サイト)で参照する
関連特許
個人
洗濯装置
1か月前
個人
ハンガー保持具
3か月前
株式会社青柳
染め加工方法
1か月前
東レ株式会社
繊維断面の検査方法
9日前
日本バイリーン株式会社
内装用表面材
3か月前
シャープ株式会社
洗濯機
3か月前
株式会社槌屋
加飾用表皮材
2日前
東レ株式会社
ゴム補強用合成繊維コード
16日前
東レ株式会社
炭素繊維シートの製造方法
1か月前
花王株式会社
洗浄剤組成物
3か月前
東レ株式会社
樹脂含浸繊維束の製造方法
2か月前
有限会社高田紙器製作所
紙製洗濯バサミ
2か月前
株式会社創和
ボックス状洗濯ネット
1か月前
株式会社大阪ソーダ
撥水撥油性繊維処理剤
1か月前
リンテック株式会社
耐水性基材
1日前
シャープ株式会社
洗濯機
1か月前
個人
洗濯用洗剤容器の蓋
1か月前
株式会社コーワ
フィルター清掃装置及び乾燥機
3か月前
株式会社コーワ
フィルター清掃装置及び乾燥機
3か月前
日本バイリーン株式会社
表皮材とその製造方法
3か月前
松本油脂製薬株式会社
繊維用処理剤及びその利用
1か月前
大阪瓦斯株式会社
衣類乾燥機
1か月前
大阪瓦斯株式会社
衣類乾燥機
1か月前
大阪瓦斯株式会社
衣類乾燥機
1か月前
シャープ株式会社
洗濯機
2か月前
個人
開閉角度調整可能な角型折畳みピンチハンガー
2か月前
東レ株式会社
人工皮革、乗物用内装材、および座席
3か月前
シャープ株式会社
洗濯機
2か月前
株式会社コーワ
フィルター装置及び洗濯機又は乾燥機
3か月前
東芝ライフスタイル株式会社
洗濯機
22日前
東レ株式会社
抗菌性アクリル系繊維およびその製造方法
1か月前
東芝ライフスタイル株式会社
洗濯機
1か月前
東芝ライフスタイル株式会社
洗濯機
3か月前
東レ株式会社
人工皮革およびその製造方法ならびに雑貨
1か月前
東芝ライフスタイル株式会社
洗濯機
3か月前
個人
パイプ用係止、固定装置及び洗濯バサミ取り付け具
1か月前
続きを見る
他の特許を見る