TOP
|
特許
|
意匠
|
商標
特許ウォッチ
Twitter
他の特許を見る
10個以上の画像は省略されています。
公開番号
2025150540
公報種別
公開特許公報(A)
公開日
2025-10-09
出願番号
2024051460
出願日
2024-03-27
発明の名称
外壁支持構造
出願人
ミサワホーム株式会社
代理人
個人
主分類
E04B
2/56 20060101AFI20251002BHJP(建築物)
要約
【課題】仕上面の見栄えを向上させる。
【解決手段】第一フロアF1に設けられる第一壁パネル11と、第二フロアF2に設けられる第二壁パネル12と、を上下に並んだ状態で支持する外壁支持構造2であって、第一フロアF1に設けられる第一柱21と、第二フロアF2に設けられる第二柱22と、上下に並ぶ第一フロアF1及び第二フロアF2のうち、下階側のフロアに設けられる天井梁(第二梁32)と、を備えており、第一フロアF1は、第二フロアF2よりも、階高が高く設定されている。そして、第一壁パネル11は、第二壁パネル12よりも、厚さ寸法が長く設定されており、外壁支持構造2は、第一壁パネル11及び第二壁パネル12を、これら壁パネルにおける屋外側の面が互いに面一とされた状態で支持している。
【選択図】図6
特許請求の範囲
【請求項1】
第一フロアに設けられる第一壁パネルと、第二フロアに設けられる第二壁パネルと、を上下に並んだ状態で支持する外壁支持構造であって、
前記第一フロアに設けられる第一柱と、
前記第二フロアに設けられる第二柱と、
上下に並ぶ前記第一フロア及び前記第二フロアのうち、下階側のフロアに設けられる天井梁と、を備えており、
前記第一フロアは、前記第二フロアよりも、階高が高く設定されており、
前記第一壁パネル及び前記第二壁パネルの厚さ方向を所定方向と定義するとともに、当該所定方向における両側のうち、屋外側を第一側、屋内側を第二側と定義した場合に、
前記第一壁パネルは、前記第二壁パネルよりも、前記所定方向の寸法が長く設定されており、
前記第一壁パネル及び前記第二壁パネルを、これら壁パネルにおける前記第一側の面が互いに面一とされた状態で支持していることを特徴とする外壁支持構造。
続きを表示(約 970 文字)
【請求項2】
請求項1に記載の外壁支持構造において、
前記第一柱は、
前記第二柱よりも、前記所定方向の寸法が短く設定されており、
前記第二柱よりも、前記第一側の面が前記第二側に位置していることを特徴とする外壁支持構造。
【請求項3】
請求項1又は2に記載の外壁支持構造において、
前記天井梁に前記第一壁パネルを連結する第一連結手段と、
前記天井梁に前記第二壁パネルを連結する第二連結手段と、を備えることを特徴とする外壁支持構造。
【請求項4】
請求項3に記載の外壁支持構造において、
前記第一連結手段は、一方の片が前記第一壁パネルに固定されて、他方の片が前記天井梁に固定される第一L型鋼材を含み、
前記第二連結手段は、一方の片が前記第二壁パネルに固定されて、他方の片が前記天井梁に固定される第二L型鋼材を含むことを特徴とする外壁支持構造。
【請求項5】
請求項4に記載の外壁支持構造において、
前記第一L型鋼材における前記一方の片は、前記天井梁における前記第一側の端面よりも、前記第二側に位置し、
前記第二L型鋼材における前記一方の片は、前記天井梁における前記第一側の端面よりも、前記第一側に位置することを特徴とする外壁支持構造。
【請求項6】
請求項4に記載の外壁支持構造において、
前記第一フロア及び前記第二フロアのうち、前記第一フロアが上階側のフロアであり、前記第二フロアが下階側のフロアであり、
前記第一L型鋼材は、前記一方の片が前記第一壁パネルの下端部に固定されて、前記他方の片が前記天井梁の上面に固定されており、
前記第二L型鋼材は、前記一方の片が前記第二壁パネルの上端部に固定されて、前記他方の片が前記天井梁の下面に固定されていることを特徴とする外壁支持構造。
【請求項7】
請求項6に記載の外壁支持構造において、
前記第一連結手段は、前記第一壁パネルの下端部を受ける第三L型鋼材を含み、
前記第一L型鋼材における前記一方の片は、前記第三L型鋼材を介して前記第一壁パネルの下端部に固定されていることを特徴とする外壁支持構造。
発明の詳細な説明
【技術分野】
【0001】
本発明は、外壁支持構造に関する。
続きを表示(約 2,400 文字)
【背景技術】
【0002】
特許文献1には、建物(鉄骨造の軸組みを有する工業化住宅)の外周壁を構成する外壁構造が開示されている。この外壁構造は、複数のパネル材を備えており、パネル材としては、例えば、軽量気泡コンクリート(ALC)パネル、PCコンクリートパネル、及び押出成型セメント板などを用いることができる。
このように、鉄骨造の建物においては、外壁に、ALCパネルや押出成型セメント板などの帳壁を用いることが一般的である。また、階高(ある階の床面からその直上階の床面までの高さ)が高いフロアには、帳壁の支持材(耐風梁)を設けることが一般的である。
【先行技術文献】
【特許文献】
【0003】
特開2021-14692号公報
【発明の概要】
【発明が解決しようとする課題】
【0004】
しかしながら、耐風梁を設けると、屋外側に仕上面のふかしや梁型が生じる。すなわち、耐風梁を設けると、屋内側の仕上面に段差が生じて、見栄えが悪くなってしまう。
一方、階高が高いフロアに設ける帳壁の厚さ寸法を、耐風梁を設ける必要がない寸法に設定することも可能である。すなわち、帳壁の厚さ寸法を階高に応じた寸法に設定すれば(例えば、階高が高いフロアに設ける帳壁を、階高が低いフロアに設ける帳壁よりも厚くすれば)、耐風梁を設ける必要がない。
しかしながら、上下階で階高が異なる場合に、帳壁の厚さ寸法を階高に応じた寸法に設定すると、上階の帳壁と、下階の帳壁と、で表面(屋外側の面)が面一の状態にならない。すなわち、帳壁の厚さ寸法を上下階で異ならせると、屋外側の仕上面に段差が生じて、見栄えが悪くなってしまう。
本発明は上記事情に鑑みてなされたものであり、その課題は、仕上面の見栄えを向上させることである。
【課題を解決するための手段】
【0005】
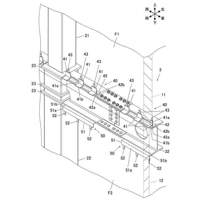
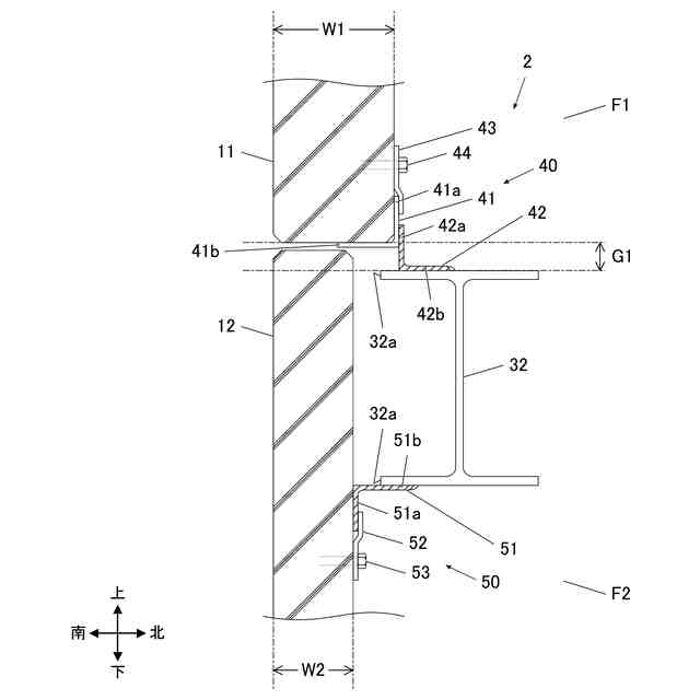
請求項1に記載の発明は、例えば図1~図6、図8、図9に示すように、
第一フロアF1に設けられる第一壁パネル11と、第二フロアF2に設けられる第二壁パネル12と、を上下に並んだ状態で支持する外壁支持構造2であって、
前記第一フロアF1に設けられる第一柱21と、
前記第二フロアF2に設けられる第二柱22と、
上下に並ぶ前記第一フロアF1及び前記第二フロアF2のうち、下階側のフロアに設けられる天井梁(第二梁32)と、を備えており、
前記第一フロアF1は、前記第二フロアF2よりも、階高が高く設定されており、
前記第一壁パネル11及び前記第二壁パネル12の厚さ方向を所定方向と定義するとともに、当該所定方向における両側のうち、屋外側を第一側、屋内側を第二側と定義した場合に、
前記第一壁パネル11は、前記第二壁パネル12よりも、前記所定方向の寸法(厚さ寸法)が長く設定されており、
前記第一壁パネル11及び前記第二壁パネル12を、これら壁パネルにおける前記第一側の面(屋外側の面)が互いに面一とされた状態で支持していることを特徴とする。
【0006】
請求項1に記載の発明によれば、第二フロアF2よりも階高が高い第一フロアF1の壁パネルは、第二壁パネル12よりも厚い第一壁パネル11であるので、第一フロアF1に耐風梁を設ける必要がない。したがって、屋内側の仕上面に段差が生じることを防止できるので、屋内側の仕上面の見栄えを向上させることができる。
さらに、外壁支持構造2は、所定方向の寸法(厚さ寸法)が異なる第一壁パネル11及び第二壁パネル12を、上下に並んだ状態で、かつ、当該第一壁パネル11における第一側の面(屋外側の面)と、当該第二壁パネル12における第一側の面(屋外側の面)と、が互いに面一とされた状態で支持している。したがって、屋外側の仕上面に段差が生じることを防止できるので、屋外側の仕上面の見栄えを向上させることができる。
【0007】
請求項2に記載の発明は、例えば図2、図3に示すように、請求項1に記載の外壁支持構造2において、
前記第一柱21は、
前記第二柱22よりも、前記所定方向の寸法が短く設定されており、
前記第二柱22よりも、前記第一側の面が前記第二側に位置していることを特徴とする。
【0008】
請求項2に記載の発明によれば、第一柱21における所定方向の寸法と、第二柱22における所定方向の寸法と、の差によって、第一壁パネル11における所定方向の寸法(厚さ寸法)と、第二壁パネル12における所定方向の寸法(厚さ寸法)と、の差を吸収できる。したがって、仕上面に段差が生じることを効率よく防止できるので、仕上面の見栄えを効率的に向上させることができる。
【0009】
請求項3に記載の発明は、例えば図6、図9に示すように、請求項1又は2に記載の外壁支持構造2において、
前記天井梁(第二梁32)に前記第一壁パネル11を連結する第一連結手段40と、
前記天井梁(第二梁32)に前記第二壁パネル12を連結する第二連結手段50と、を備えることを特徴とする。
【0010】
請求項3に記載の発明によれば、所定方向の寸法(厚さ寸法)が異なる上下に並ぶ第一壁パネル11及び第二壁パネル12を、共通の構造材(天井梁(第二梁32))に連結している。したがって、仕上面に段差を生じさせる構造材を設けることなく第一壁パネル11及び第二壁パネル12を支持できるので、仕上面の見栄えを効率的に向上させることができる。
(【0011】以降は省略されています)
この特許をJ-PlatPat(特許庁公式サイト)で参照する
関連特許
ミサワホーム株式会社
玄関
15日前
ミサワホーム株式会社
事業所情報提供システム、事業所情報提供方法、事業所情報提供装置及びプログラム
2日前
個人
接合構造
1か月前
個人
タッチミー
1か月前
個人
屋台
2か月前
個人
野良猫ハウス
2か月前
個人
転落防止用手摺
2か月前
個人
フェンス
3か月前
個人
安心補助てすり
1か月前
個人
ベンリナアングル
1か月前
ニチハ株式会社
建築板
2か月前
個人
居住車両用駐車場
2か月前
積水樹脂株式会社
柵体
2か月前
個人
筋交自動設定装置
1か月前
個人
熱抵抗多層断熱建材
2か月前
個人
補強部材
2か月前
個人
身体用シェルター
1か月前
個人
防災建築物
1か月前
個人
身体用シェルター
1か月前
鹿島建設株式会社
壁体
2か月前
成友建設株式会社
建物
2か月前
株式会社シンケン
住宅
1か月前
株式会社熊谷組
木質材料
2か月前
三協立山株式会社
構造体
1か月前
三協立山株式会社
構造体
15日前
三協立山株式会社
構造体
1か月前
三協立山株式会社
構造体
1か月前
三協立山株式会社
構造体
10日前
三協立山株式会社
構造体
1か月前
三協立山株式会社
構造体
1か月前
個人
可搬型供養墓
1か月前
三協立山株式会社
構造体
1か月前
株式会社大林組
接合構造
26日前
株式会社熊谷組
吊り治具
1か月前
株式会社熊谷組
床構成材
1か月前
三洋工業株式会社
床構造
1か月前
続きを見る
他の特許を見る