TOP
|
特許
|
意匠
|
商標
特許ウォッチ
Twitter
他の特許を見る
公開番号
2025149758
公報種別
公開特許公報(A)
公開日
2025-10-08
出願番号
2024050585
出願日
2024-03-26
発明の名称
繊維集合体、断熱材、および繊維集合体の製造方法
出願人
キヤノン株式会社
代理人
個人
,
個人
,
個人
,
個人
,
個人
主分類
C03C
25/10 20180101AFI20251001BHJP(ガラス;鉱物またはスラグウール)
要約
【課題】 防水性と耐久性に優れた繊維集合体を提供することを目的としている。
【解決手段】 本発明に係る繊維集合体は、繊維と、当該繊維の表面を被覆する酸化物または窒化物を含む被覆層と、を有し、前記被覆層の表層の炭素含有量は、前記被覆層の内部の炭素含有量よりも多く、前記繊維が絡み合うことで構成されていることを特徴とする。
【選択図】 図1
特許請求の範囲
【請求項1】
繊維と、当該繊維の表面を被覆する酸化物または窒化物を含む被覆層と、を有する繊維集合体であって、
前記被覆層の表層の炭素含有量は、前記被覆層の内部の炭素含有量よりも多く、
前記繊維が絡み合うことで構成されていることを特徴とする繊維集合体。
続きを表示(約 820 文字)
【請求項2】
前記被覆層の表層の炭素の含有量を[C
s
]、前記表層の酸素または窒素の含有量を[B
s
]とした場合、[C
s
]/[B
s
]≧0.5であることを特徴とする請求項1に記載の繊維集合体。
【請求項3】
前記被覆層の内部の炭素の含有量を[C
n
]、前記被覆層の内部の酸素または窒素の含有量を[B
n
]とした場合、[C
n
]/[B
n
]≦1.6であることを特徴とする請求項1に記載の繊維集合体。
【請求項4】
前記被覆層の内部または表層に炭化水素基が含まれていることを特徴とする請求項1に記載の繊維集合体。
【請求項5】
前記被覆層は、非晶質であることを特徴とする請求項1に記載の繊維集合体。
【請求項6】
前記被覆層は、遷移金属を含むことを特徴とする請求項1に記載の繊維集合体。
【請求項7】
前記被覆層は、希土類金属を含むことを特徴とする請求項1に記載の繊維集合体。
【請求項8】
前記繊維集合体は、捲縮性を有することを特徴とする請求項1に記載の繊維集合体。
【請求項9】
請求項1に記載の繊維集合体を用いた断熱材であって、
前記繊維は、グラスウールであることを特徴とする断熱材。
【請求項10】
繊維が絡み合うように構成された繊維集合体を用意する工程と、
前記繊維集合体の繊維の表面に酸化物または窒化物を含む被覆層を成膜する工程と、
前記成膜する工程は、前記被覆層の表層の炭素含有量が、前記被覆層の内部の炭素含有量よりも多くなるように成膜することを特徴とする繊維集合体の製造方法。
(【請求項11】以降は省略されています)
発明の詳細な説明
【技術分野】
【0001】
本発明は、繊維集合体、断熱材、および繊維集合体の製造方法に関するものである。
続きを表示(約 1,300 文字)
【背景技術】
【0002】
一般的に綿(わた)のような繊維と繊維が絡みあい隙間に空間を有するような繊維集合体(綿状繊維、綿状体とも称する)は、断熱性能等の機能が優れている。そのため、住宅等の建築材料用断熱材、電気炉等の工業製品用断熱材、保温容器、ダウンジャケット、羽毛布団等、さまざまな製品で使用されている。しかしながら繊維集合体は断熱性能に優れる一方で、毛細管現象による水分を吸着しやすい特性がある。そのため例えばグラスウールのような繊維集合体を建築材料用断熱材として使用すると、建物の室内と室外における気温差により、壁体内が湿気により結露し、結露した水分や湿気をガラスウールが吸着してしまうことが考えられる。これによりカビの発生、壁体内の腐食、また、水分吸着による重量増加に伴い、断熱材が固定部からずれてしまう等の不具合が発生することが懸念される。
【0003】
このような繊維集合体に水分が吸着することを防止するには、繊維に防水性をもたせることが考えられる。特許文献1には、繊維の表面に金(Au)、白金(Pt)またはイットリア(Y
2
O
3
)を物理蒸着法により成膜することで撥水処理を行う技術が開示されている。
【先行技術文献】
【特許文献】
【0004】
特開2002-121082号公報
【発明の概要】
【発明が解決しようとする課題】
【0005】
しかしながら特許文献1で開示されている手法では、耐久性に問題があり、防水性を長期間確保できない可能性があった。
【0006】
そこで本発明では、防水性と耐久性に優れた繊維集合体を提供することを目的としている。
【課題を解決するための手段】
【0007】
上記目的を達成するために、本発明に係る繊維集合体は、繊維と、当該繊維の表面を被覆する酸化物または窒化物を含む被覆層と、を有し、前記被覆層の表層の炭素含有量は、前記被覆層の内部の炭素含有量よりも多く、前記繊維が絡み合うことで構成されていることを特徴とする。
【発明の効果】
【0008】
このように設けることで、防水性と耐久性に優れた繊維集合体を提供することができる。
【図面の簡単な説明】
【0009】
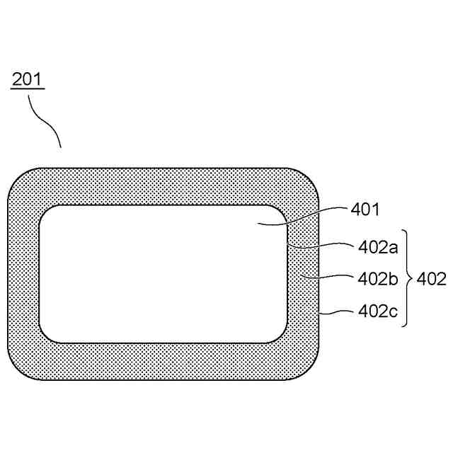
本発明に係る繊維集合体を適用可能な断熱構造の模式図である。
本発明に係る繊維集合体の模式図である。
繊維集合体を構成する繊維の断面図である。
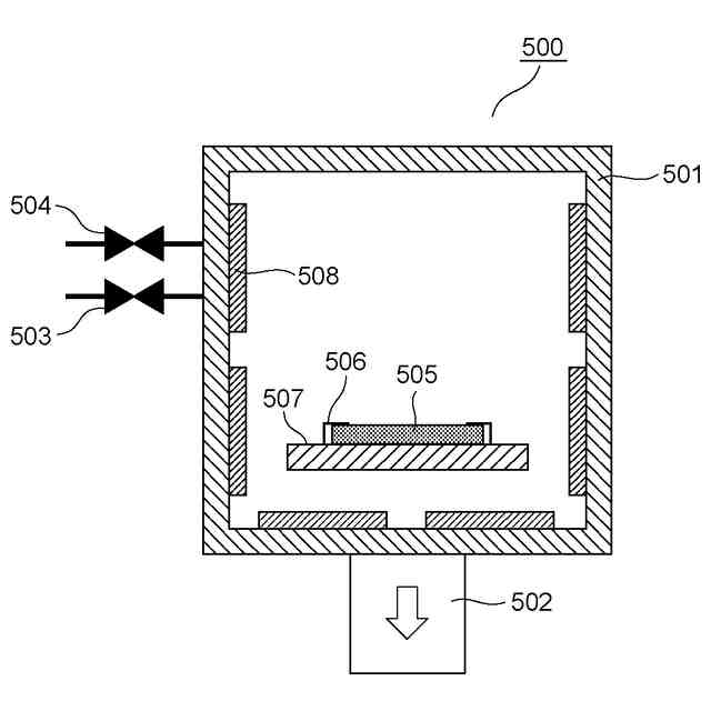
繊維に被覆層を被覆する成膜装置の一例ある。
繊維に被覆層を被覆する成膜装置の他の例である。
実施例1の被覆層に含有する炭素成分の熱脱離を示す図である。
【発明を実施するための形態】
【0010】
以下、図面を参照して、本発明の実施形態を詳細に説明する。なお、以下の実施形態及び実施例の説明において参照する図面では、特に但し書きがない限り、同一の参照番号を付して示す要素は、同様の機能を有するものとする。
(【0011】以降は省略されています)
この特許をJ-PlatPat(特許庁公式サイト)で参照する
関連特許
キヤノン株式会社
トナー
12日前
キヤノン株式会社
トナー
17日前
キヤノン株式会社
トナー
12日前
キヤノン株式会社
トナー
12日前
キヤノン株式会社
測距装置
5日前
キヤノン株式会社
現像装置
10日前
キヤノン株式会社
現像容器
10日前
キヤノン株式会社
現像装置
10日前
キヤノン株式会社
現像容器
10日前
キヤノン株式会社
撮像装置
17日前
キヤノン株式会社
記録装置
17日前
キヤノン株式会社
撮影装置
10日前
キヤノン株式会社
定着装置
11日前
キヤノン株式会社
記録装置
10日前
キヤノン株式会社
撮像装置
13日前
キヤノン株式会社
現像装置
3日前
キヤノン株式会社
モジュール
12日前
キヤノン株式会社
光学センサ
12日前
キヤノン株式会社
現像剤容器
18日前
キヤノン株式会社
画像形成装置
18日前
キヤノン株式会社
画像形成装置
18日前
キヤノン株式会社
画像形成装置
18日前
キヤノン株式会社
画像形成装置
6日前
キヤノン株式会社
画像形成装置
13日前
キヤノン株式会社
画像形成装置
18日前
キヤノン株式会社
画像形成装置
6日前
キヤノン株式会社
カートリッジ
10日前
キヤノン株式会社
画像形成装置
17日前
キヤノン株式会社
画像形成装置
17日前
キヤノン株式会社
情報処理装置
17日前
キヤノン株式会社
画像形成装置
13日前
キヤノン株式会社
画像処理装置
10日前
キヤノン株式会社
画像形成装置
13日前
キヤノン株式会社
画像形成装置
10日前
キヤノン株式会社
画像形成装置
13日前
キヤノン株式会社
画像形成装置
10日前
続きを見る
他の特許を見る