TOP
|
特許
|
意匠
|
商標
特許ウォッチ
Twitter
他の特許を見る
10個以上の画像は省略されています。
公開番号
2025149718
公報種別
公開特許公報(A)
公開日
2025-10-08
出願番号
2024050527
出願日
2024-03-26
発明の名称
情報処理プログラム、情報処理方法、および情報処理装置
出願人
富士通株式会社
代理人
個人
主分類
G06N
10/20 20220101AFI20251001BHJP(計算;計数)
要約
【課題】量子回路による分類精度を向上すること。
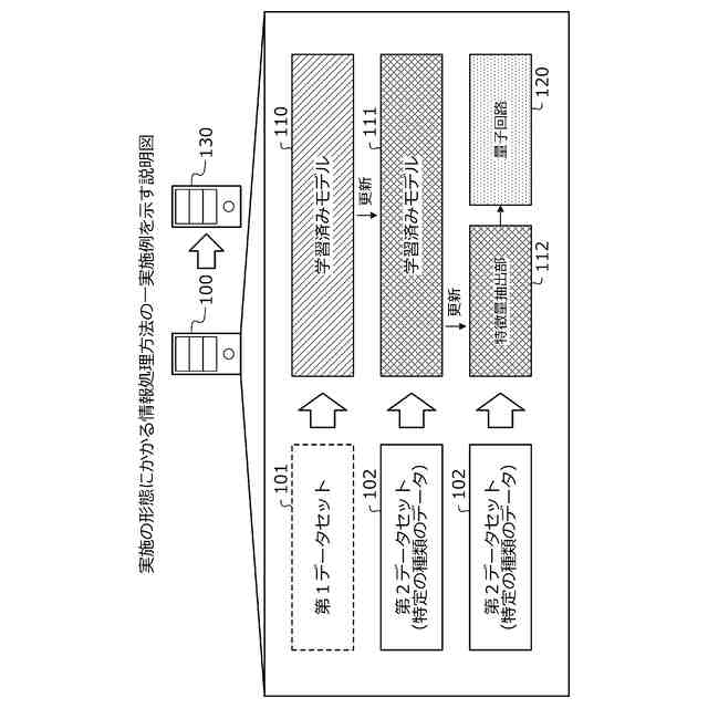
【解決手段】情報処理装置100は、学習済みモデル110を取得する。情報処理装置100は、特定の種類のデータを含む第2データセット102を記憶する。情報処理装置100は、特定の種類のデータの分類精度が向上するよう、第2データセット102に基づいて、取得した学習済みモデル110を更新する。情報処理装置100は、第2データセット102に基づいて、更新した学習済みモデル111によって入力されたデータから抽出される特徴量に応じて当該データの分類結果を出力する機能を有する量子回路120を学習するよう、演算部130を制御する。
【選択図】図1
特許請求の範囲
【請求項1】
入力されたデータから抽出される特徴量に応じて当該データの分類結果を出力する機能を有する学習済みモデルを取得し、
特定の種類のデータの分類精度が向上するよう、前記特定の種類のデータを含むデータセットに基づいて、取得した前記学習済みモデルを更新し、
前記データセットに基づいて、更新した前記学習済みモデルによって入力されたデータから抽出される特徴量に応じて当該データの分類結果を出力する機能を有する量子回路を学習するよう、演算部を制御する、
処理をコンピュータに実行させることを特徴とする情報処理プログラム。
続きを表示(約 920 文字)
【請求項2】
前記演算部を前記学習に利用するリクエストを、前記演算部に送信する、
処理を前記コンピュータに実行させ、
前記更新する処理は、前記リクエストに応じて前記演算部が前記学習に利用可能になる前に開始される、ことを特徴とする請求項1に記載の情報処理プログラム。
【請求項3】
前記更新する処理は、前記リクエストに応じて前記演算部が前記学習に利用可能になるまでに繰り返し実行され、
前記制御する処理は、
前記演算部が前記学習に利用可能になった後に、前記データセットに基づいて、最後に更新した前記学習済みモデルによって入力されたデータから抽出される特徴量に応じて当該データの分類結果を出力する機能を有する量子回路を学習するよう、前記演算部を制御する、ことを特徴とする請求項2に記載の情報処理プログラム。
【請求項4】
入力されたデータから抽出される特徴量に応じて当該データの分類結果を出力する機能を有する学習済みモデルを取得し、
特定の種類のデータの分類精度が向上するよう、前記特定の種類のデータを含むデータセットに基づいて、取得した前記学習済みモデルを更新し、
前記データセットに基づいて、更新した前記学習済みモデルによって入力されたデータから抽出される特徴量に応じて当該データの分類結果を出力する機能を有する量子回路を学習するよう、演算部を制御する、
処理をコンピュータが実行することを特徴とする情報処理方法。
【請求項5】
入力されたデータから抽出される特徴量に応じて当該データの分類結果を出力する機能を有する学習済みモデルを取得し、
特定の種類のデータの分類精度が向上するよう、前記特定の種類のデータを含むデータセットに基づいて、取得した前記学習済みモデルを更新し、
前記データセットに基づいて、更新した前記学習済みモデルによって入力されたデータから抽出される特徴量に応じて当該データの分類結果を出力する機能を有する量子回路を学習するよう、演算部を制御する、
制御部を有することを特徴とする情報処理装置。
発明の詳細な説明
【技術分野】
【0001】
本発明は、情報処理プログラム、情報処理方法、および情報処理装置に関する。
続きを表示(約 1,700 文字)
【背景技術】
【0002】
従来、入力されたデータの分類結果を出力する量子回路を学習する技術がある。また、学習済みモデルを活用して、入力されたデータから、学習済みモデルによって抽出した特徴量に応じて、当該データの分類結果を出力する量子回路を学習する手法がある。
【0003】
先行技術としては、例えば、データセットの第1の表現と第2の表現との間の差を最小化する損失項と複雑度を最小化する正則化項を含む目的関数を定式化するものがある。また、例えば、ユーザの不満度を考慮して、実行中のジョブの一時的な停止または一時的な中断を行う技術がある。また、例えば、ニューラルネットワークの1または複数のコンポーネントを、量子コンポーネントに置換する技術がある。また、例えば、離散変分自動エンコーダを介して、入力空間に対して教師なし学習を実行する技術がある。
【先行技術文献】
【特許文献】
【0004】
特開2019-096334号公報
特開2001-022601号公報
米国特許出願公開第2020/0285947号明細書
米国特許出願公開第2021/0365826号明細書
【発明の概要】
【発明が解決しようとする課題】
【0005】
しかしながら、従来技術では、量子回路による分類精度を向上することが難しい場合がある。例えば、学習済みモデルを学習する際のデータセットと、学習済みモデルを活用して、量子回路を学習する際のデータセットとの関連性が小さいほど、量子回路による分類精度を向上することが難しくなる傾向がある。
【0006】
1つの側面では、本発明は、量子回路による分類精度を向上することを目的とする。
【課題を解決するための手段】
【0007】
1つの実施態様によれば、入力されたデータから抽出される特徴量に応じて当該データの分類結果を出力する機能を有する学習済みモデルを取得し、特定の種類のデータの分類精度が向上するよう、前記特定の種類のデータを含むデータセットに基づいて、取得した前記学習済みモデルを更新し、前記データセットに基づいて、更新した前記学習済みモデルによって入力されたデータから抽出される特徴量に応じて当該データの分類結果を出力する機能を有する量子回路を学習するよう、演算部を制御する情報処理プログラム、情報処理方法、および情報処理装置が提案される。
【発明の効果】
【0008】
一態様によれば、量子回路による分類精度を向上することが可能になる。
【図面の簡単な説明】
【0009】
図1は、実施の形態にかかる情報処理方法の一実施例を示す説明図である。
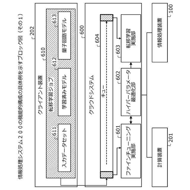
図2は、情報処理システム200の一例を示す説明図である。
図3は、情報処理装置100のハードウェア構成例を示すブロック図である。
図4は、計算装置201のハードウェア構成例を示すブロック図である。
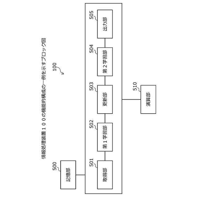
図5は、情報処理装置100の機能的構成の一例を示すブロック図である。
図6は、情報処理システム200の機能的構成の具体例を示すブロック図(その1)である。
図7は、情報処理システム200の機能的構成の具体例を示すブロック図(その2)である。
図8は、情報処理システム200の動作の一例を示す説明図(その1)である。
図9は、情報処理システム200の動作の一例を示す説明図(その2)である。
図10は、情報処理システム200の動作の一例を示す説明図(その3)である。
図11は、全体処理手順の一例を示すフローチャートである。
図12は、更新処理手順の一例を示すフローチャートである。
【発明を実施するための形態】
【0010】
以下に、図面を参照して、本発明にかかる情報処理プログラム、情報処理方法、および情報処理装置の実施の形態を詳細に説明する。
(【0011】以降は省略されています)
この特許をJ-PlatPat(特許庁公式サイト)で参照する
関連特許
富士通株式会社
半導体装置
3日前
富士通株式会社
行列演算回路
13日前
富士通株式会社
周波数変換器
16日前
富士通株式会社
半導体デバイス
3日前
富士通株式会社
メッシュ微細化
4日前
富士通株式会社
演算器及び演算方法
4日前
富士通株式会社
冷却装置及び電子機器
13日前
富士通株式会社
電子機器筐体及び電子機器
2日前
富士通株式会社
アレイアンテナモジュール
5日前
富士通株式会社
光送信器及び光トランシーバ
2日前
富士通株式会社
演算処理装置及び演算処理方法
24日前
富士通株式会社
基板及びこれを備えた電子装置
5日前
富士通株式会社
通信制御装置及び移動中継装置
10日前
富士通株式会社
動的多次元メディアコンテンツ投影
23日前
富士通株式会社
異常予測方法および異常予測プログラム
23日前
富士通株式会社
管理装置、管理方法、および管理プログラム
11日前
富士通株式会社
プログラム、情報処理方法および情報処理装置
9日前
富士通株式会社
交通シミュレーションのための方法および装置
23日前
富士通株式会社
探索プログラム、探索方法、および情報処理装置
2日前
富士通株式会社
キャッシュ装置およびキャッシュ装置の制御方法
3日前
富士通株式会社
プログラム、データ処理装置及びデータ処理方法
3日前
富士通株式会社
出張情報受付方法および出張情報受付プログラム
2日前
富士通株式会社
制御プログラム、制御方法、および情報処理装置
11日前
富士通株式会社
チェックプログラム、チェック方法及び情報処理装置
2日前
富士通株式会社
光ネットワーク管理装置及び光ネットワーク管理方法
3日前
富士通株式会社
異常検出プログラム、異常検出方法及び情報処理装置
23日前
富士通株式会社
情報出力プログラム、情報出力方法及び情報処理装置
2日前
富士通株式会社
施策特定プログラム、施策特定方法および情報処理装置
23日前
富士通株式会社
施策特定プログラム、施策特定方法および情報処理装置
9日前
富士通株式会社
機械学習プログラム、機械学習方法および情報処理装置
9日前
富士通株式会社
情報処理プログラム、情報処理方法および情報処理装置
2日前
富士通株式会社
表示制御プログラム、表示制御方法および情報処理装置
5日前
富士通株式会社
勤怠管理プログラム、勤怠管理方法および情報処理装置
2日前
富士通株式会社
勤怠管理プログラム、勤怠管理方法および情報処理装置
2日前
富士通株式会社
情報処理プログラム、情報処理方法、および情報処理装置
4日前
富士通株式会社
情報処理プログラム、情報処理方法、および情報処理装置
16日前
続きを見る
他の特許を見る