TOP
|
特許
|
意匠
|
商標
特許ウォッチ
Twitter
他の特許を見る
10個以上の画像は省略されています。
公開番号
2025146424
公報種別
公開特許公報(A)
公開日
2025-10-03
出願番号
2024047183
出願日
2024-03-22
発明の名称
機械学習プログラム、機械学習方法および情報処理装置
出願人
富士通株式会社
代理人
弁理士法人酒井国際特許事務所
主分類
G06N
20/00 20190101AFI20250926BHJP(計算;計数)
要約
【課題】短時間の機械学習で高精度の量子オートエンコーダを生成することを課題とする。
【解決手段】情報処理装置は、各量子ビットの状態が相互に同じである第1の入力データと第2の入力データとを用いて、量子オートエンコーダに対する第1の機械学習を実行する。情報処理装置は、各量子ビットの状態が相互に異なる第3の入力データと第4の入力データとを用いて、第1の機械学習により学習された量子オートエンコーダに対する第2の機械学習を実行する。
【選択図】図6
特許請求の範囲
【請求項1】
コンピュータに、
各量子ビットの状態が相互に同じである第1の入力データと第2の入力データとを用いて、量子オートエンコーダに対する第1の機械学習を実行し、
各量子ビットの状態が相互に異なる第3の入力データと第4の入力データとを用いて、前記第1の機械学習により学習された前記量子オートエンコーダに対する第2の機械学習を実行する、
処理を実行させることを特徴とする機械学習プログラム。
続きを表示(約 1,500 文字)
【請求項2】
前記第1の機械学習を実行する処理は、
入力された量子ビットにゲート操作を行わない量子回路と、入力された量子ビットにエンコードおよびデコードを実行する前記量子オートエンコーダとを有する学習用の量子回路において、前記量子回路に前記第1の入力データを入力して第1の出力データを取得し、前記量子オートエンコーダに前記第2の入力データを入力して再構成された第2の出力データを取得し、
前記第1の出力データと前記第2の出力データとの誤差を小さくする前記第1の機械学習を実行する、
ことを特徴とする請求項1に記載の機械学習プログラム。
【請求項3】
前記第2の機械学習を実行する処理は、
前記量子回路に前記第3の入力データを入力して第3の出力データを取得し、前記第1の機械学習により学習された前記量子オートエンコーダに前記第4の入力データを入力して再構成された第4の出力データを取得し、
前記第3の出力データと前記第4の出力データとの誤差を小さくする前記第2の機械学習を実行する、
ことを特徴とする請求項2に記載の機械学習プログラム。
【請求項4】
前記量子オートエンコーダは、前記第2の機械学習後に、変分量子固定値法を用いた量子回路により生成される生成データのノイズ除去に利用される量子回路であり、
前記第1の機械学習を実行する処理は、
前記変分量子固定値法を用いた複数の量子回路それぞれで生成された各生成データを、前記第1の入力データと前記第2の入力データを用いて前記第1の機械学習を実行し、
前記第2の機械学習を実行する処理は、
前記変分量子固定値法を用いた複数の量子回路それぞれで生成された各生成データを組み合わせて前記第3の入力データと前記第4の入力データの組を生成し、
生成された組の入力データを用いて前記第2の機械学習を実行する、
ことを特徴とする請求項1に記載の機械学習プログラム。
【請求項5】
前記学習用の量子回路は、前記量子回路と、前記ゲート操作または初期パラメータが異なる各量子オートエンコーダとを含む複数の学習用の量子回路を有し、
前記第1の機械学習を実行する処理は、
前記複数の学習用の量子回路それぞれに対して前記第1の機械学習を実行し、
前記複数の学習用の量子回路に対する各第1の機械学習の結果に基づいて、1つの学習用の量子回路を選択し、
前記第2の機械学習を実行する処理は、
選択された前記1つの学習用の量子回路に対して、前記第2の機械学習を実行する、
ことを特徴とする請求項3に記載の機械学習プログラム。
【請求項6】
コンピュータが、
各量子ビットの状態が相互に同じである第1の入力データと第2の入力データとを用いて、量子オートエンコーダに対する第1の機械学習を実行し、
各量子ビットの状態が相互に異なる第3の入力データと第4の入力データとを用いて、前記第1の機械学習により学習された前記量子オートエンコーダに対する第2の機械学習を実行する、
処理を実行することを特徴とする機械学習方法。
【請求項7】
各量子ビットの状態が相互に同じである第1の入力データと第2の入力データとを用いて、量子オートエンコーダに対する第1の機械学習を実行し、
各量子ビットの状態が相互に異なる第3の入力データと第4の入力データとを用いて、前記第1の機械学習により学習された前記量子オートエンコーダに対する第2の機械学習を実行する、
制御部を有することを特徴とする情報処理装置。
発明の詳細な説明
【技術分野】
【0001】
本発明は、機械学習プログラム、機械学習方法および情報処理装置に関する。
続きを表示(約 2,000 文字)
【背景技術】
【0002】
一つまたは複数の量子ビット上の操作を実行する量子ゲートを組み合わせた量子回路が利用されている。量子回路は、1の量子ビットの状態を変化させるゲートや2つの量子ビット間でのエンタングルメントを作成するゲートなどを組み合わせて生成され、測定というプロセスを利用して量子回路から古典情報の取り出しが行われる。このような量子回路には、パラメータがない固定量子回路とパラメータ化された変分量子回路とがある。
【0003】
また、現在普及している一般的なコンピュータである古典コンピュータによる計算が困難な領域に対して、量子計算の原理を機械学習に応用した、量子回路による機械学習モデルが利用されている。例えば、量子回路による機械学習モデルとしては、ディープラーニングやニューラルネットワークの領域で広く利用されているアーキテクチャの一つであるオートエンコーダを量子回路で実現した量子オートエンコーダがある。量子オートエンコーダは、オートエンコーダのアイディアを量子コンピューティングに適応させたものであり、量子ビット上でデータをエンコードおよびデコードするプロセスを実現し、これにより、量子的な特性を持つデータの特徴抽出や圧縮を実現する。
【0004】
近年では、変分量子アルゴリズムのノイズを除去するために、量子オートエンコーダを実装するアンサツ量子回路が量子機械学習手法として用いられている。
【先行技術文献】
【特許文献】
【0005】
特開2022-176899号公報
特開2021-193615号公報
米国特許出願公開第2020/0169396号明細書
米国特許出願公開第2019/0164034号明細書
【発明の概要】
【発明が解決しようとする課題】
【0006】
しかしながら、例えば変分量子アルゴリズムのノイズ除去の機械学習において局所解や解の探索が困難となり、量子オートエンコーダの学習時間の長時間化と機械学習された量子オートエンコーダの精度劣化が発生する。例えば、上記量子オートエンコーダの機械学習では、問題サイズが増加すると、多くの変分パラメータの最適化に時間がかかり、量子回路の構造の設計やパラメータの初期化で高い精度を得るのが難しい。
【0007】
一つの側面では、短時間の機械学習で高精度の量子オートエンコーダを生成することができる機械学習プログラム、機械学習方法および情報処理装置を提供することを目的とする。
【課題を解決するための手段】
【0008】
第1の案では、機械学習プログラムは、コンピュータに、各量子ビットの状態が相互に同じである第1の入力データと第2の入力データとを用いて、量子オートエンコーダに対する第1の機械学習を実行し、各量子ビットの状態が相互に異なる第3の入力データと第4の入力データとを用いて、前記第1の機械学習により学習された前記量子オートエンコーダに対する第2の機械学習を実行する、処理を実行させることを特徴とする。
【発明の効果】
【0009】
一実施形態によれば、短時間の機械学習で高精度の量子オートエンコーダを生成することができる。
【図面の簡単な説明】
【0010】
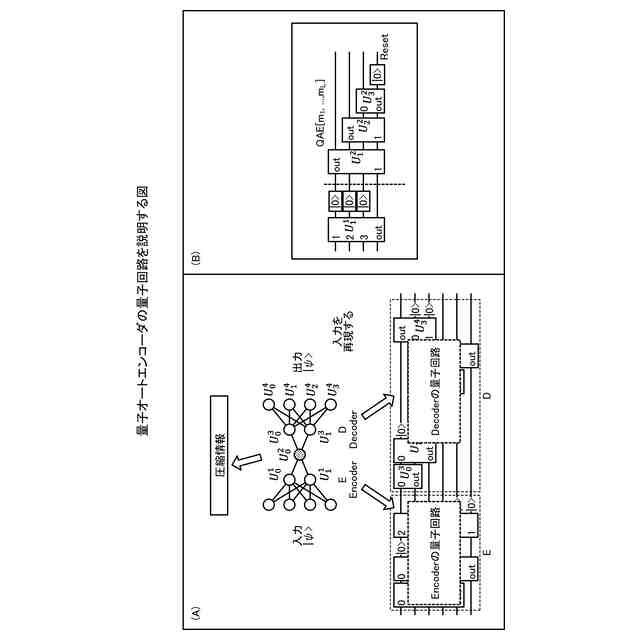
図1は、量子回路の機械学習を説明する図である。
図2は、変分量子アルコリズムを説明する図である。
図3は、量子オートエンコーダの量子回路を説明する図である。
図4は、ノイズ除去を行う量子オートエンコーダの機械学習を説明する図である。
図5は、VQEのためのノイズ除去を行う量子オートエンコーダの機械学習を説明する図である。
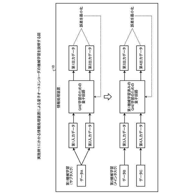
図6は、実施例1にかかる情報処理装置による量子オートエンコーダの機械学習を説明する図である。
図7は、実施例1にかかる情報処理装置の機能構成を示す機能ブロック図である。
図8は、サブタスク学習用の学習データの生成を説明する図である。
図9は、QAEのサブタスク学習を説明する図である。
図10は、メインタスク学習用の学習データの生成を説明する図である。
図11は、QAEのメインタスク学習を説明する図である。
図12は、学習後のQAEを用いたノイズ除去を説明する図である。
図13は、QAEの学習処理の流れを示すフローチャートである。
図14は、サブタスク学習の効果を説明する図である。
図15は、段階的な効果の学習を説明する図である。
図16は、QAE回路の決定を説明する図である。
図17は、ハードウェア構成例を説明する図である。
【発明を実施するための形態】
(【0011】以降は省略されています)
この特許をJ-PlatPat(特許庁公式サイト)で参照する
関連特許
富士通株式会社
半導体装置
今日
富士通株式会社
周波数変換器
13日前
富士通株式会社
行列演算回路
10日前
富士通株式会社
半導体デバイス
今日
富士通株式会社
メッシュ微細化
1日前
富士通株式会社
演算器及び演算方法
1日前
富士通株式会社
冷却装置及び電子機器
10日前
富士通株式会社
ハイブリッド光増幅器
1か月前
富士通株式会社
アレイアンテナモジュール
2日前
富士通株式会社
演算処理装置及び演算処理方法
21日前
富士通株式会社
基板及びこれを備えた電子装置
2日前
富士通株式会社
通信制御装置及び移動中継装置
7日前
富士通株式会社
動的多次元メディアコンテンツ投影
20日前
富士通株式会社
異常予測方法および異常予測プログラム
20日前
富士通株式会社
視線誘導方法および視線誘導プログラム
1か月前
富士通株式会社
演算システムおよび演算システムの制御方法
28日前
富士通株式会社
管理装置、管理方法、および管理プログラム
8日前
富士通株式会社
生成人工知能を使用したデータセット符号化
1か月前
富士通株式会社
シストリック型の演算アレイ装置及び制御方法
22日前
富士通株式会社
予測プログラム、予測方法および情報処理装置
22日前
富士通株式会社
交通シミュレーションのための方法および装置
20日前
富士通株式会社
プログラム、情報処理方法および情報処理装置
6日前
富士通株式会社
推定プログラム、推定方法および情報処理装置
1か月前
富士通株式会社
画像を記述する構造化テキストを生成する方法
1か月前
富士通株式会社
推定プログラム、推定方法および情報処理装置
1か月前
富士通株式会社
演算装置、情報処理装置及び演算装置の制御方法
22日前
富士通株式会社
制御プログラム、制御方法、および情報処理装置
8日前
富士通株式会社
プログラム、データ処理装置及びデータ処理方法
今日
富士通株式会社
キャッシュ装置およびキャッシュ装置の制御方法
今日
富士通株式会社
情報処理プログラム、情報処理装置及び情報処理方法
28日前
富士通株式会社
レース内容再現方法およびレース内容再現プログラム
1か月前
富士通株式会社
異常検出プログラム、異常検出方法及び情報処理装置
20日前
富士通株式会社
光送信機アナログ特性の監視装置と方法及び光送信機
1か月前
富士通株式会社
光ネットワーク管理装置及び光ネットワーク管理方法
今日
富士通株式会社
予測制御プログラム、情報処理装置および予測制御方法
1か月前
富士通株式会社
施策特定プログラム、施策特定方法および情報処理装置
20日前
続きを見る
他の特許を見る