TOP
|
特許
|
意匠
|
商標
特許ウォッチ
Twitter
他の特許を見る
10個以上の画像は省略されています。
公開番号
2025149727
公報種別
公開特許公報(A)
公開日
2025-10-08
出願番号
2024050545
出願日
2024-03-26
発明の名称
情報処理プログラム、情報処理方法、および情報処理装置
出願人
富士通株式会社
代理人
個人
主分類
H04L
47/50 20220101AFI20251001BHJP(電気通信技術)
要約
【課題】あるデータベースから別のデータベースにデータを送信する際にユーザが所望のスループットを維持すること。
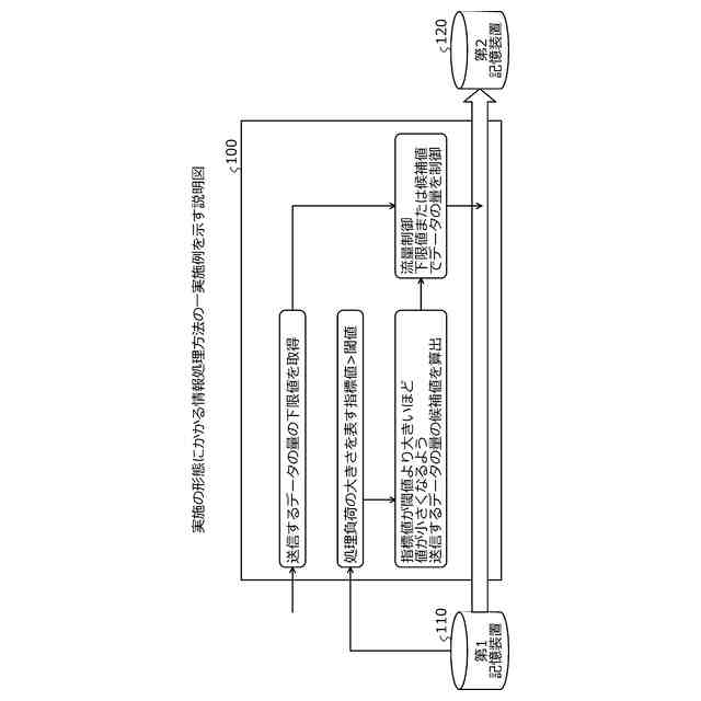
【解決手段】情報処理装置100は、第2記憶装置120に第1記憶装置110から一度に送信するデータの量の下限値を取得する。情報処理装置100は、第1記憶装置110にかかる処理負荷の大きさを表す指標値が閾値を超えた場合には、第2記憶装置120に第1記憶装置110から次回送信するデータの量の第1候補値を算出する。情報処理装置100は、第1候補値が下限値未満である場合には、取得した下限値で、第2記憶装置120に第1記憶装置110から次回送信するデータの量を制御する。情報処理装置100は、第1候補値が下限値以上である場合には、算出した第1候補値で、第2記憶装置120に第1記憶装置110から次回送信するデータの量を制御する。
【選択図】図1
特許請求の範囲
【請求項1】
第1記憶装置から定期的にデータを送信する送信先となる第2記憶装置に前記第1記憶装置から一度に送信するデータの量の下限値を取得し、
前記第1記憶装置にかかる処理負荷の大きさを表す指標値が閾値を超えた場合には、前記指標値が前記閾値より大きいほど、前記第2記憶装置に前記第1記憶装置から次回送信するデータの量が少なくなるよう、前記第2記憶装置に前記第1記憶装置から次回送信するデータの量の第1候補値を算出し、
算出した前記第1候補値が取得した前記下限値以上である場合には、算出した前記第1候補値で、前記第2記憶装置に前記第1記憶装置から次回送信するデータの量を制御し、算出した前記第1候補値が取得した前記下限値未満である場合には、取得した前記下限値で、前記第2記憶装置に前記第1記憶装置から次回送信するデータの量を制御する、
処理をコンピュータに実行させることを特徴とする情報処理プログラム。
続きを表示(約 2,000 文字)
【請求項2】
前記第2記憶装置に前記第1記憶装置からデータを送信する間隔の上限値を取得し、
現時点以前のそれぞれの時点における、前記第2記憶装置に前記第1記憶装置から送信したデータの量と、前記第2記憶装置に前記第1記憶装置からデータを送信した間隔と、前記第1記憶装置にかかる処理負荷の大きさを表す指標値との組み合わせに基づいて、算出した前記第1候補値に対応する、前記第2記憶装置に前記第1記憶装置からデータを送信する間隔の第2候補値を算出する、
処理を前記コンピュータに実行させ、
前記制御する処理は、
算出した前記第2候補値が取得した前記上限値以下である場合には、算出した前記第2候補値で、前記第2記憶装置に前記第1記憶装置からデータを送信する間隔を制御し、算出した前記第2候補値が取得した前記上限値を超える場合には、取得した前記上限値で、前記第2記憶装置に前記第1記憶装置からデータを送信する間隔を制御する、ことを特徴とする請求項1に記載の情報処理プログラム。
【請求項3】
前記第1候補値を算出する処理は、
前記指標値と、前記閾値と、前記第2記憶装置に前記第1記憶装置から前回送信したデータの量とに基づいて、前記第1候補値を算出する、ことを特徴とする請求項1に記載の情報処理プログラム。
【請求項4】
前記第1候補値を算出する処理は、
前記閾値を前記指標値で除算して得た負荷係数を、前記第2記憶装置に前記第1記憶装置から前回送信したデータの量に乗算することにより、前記第1候補値を算出する、ことを特徴とする請求項3に記載の情報処理プログラム。
【請求項5】
前記組み合わせに基づいて、前記第2記憶装置に前記第1記憶装置から送信するデータの量と、前記第2記憶装置に前記第1記憶装置からデータを送信した間隔と、前記第1記憶装置にかかる処理負荷の大きさを表す指標値との関係を表す回帰モデルを学習する、
処理を前記コンピュータに実行させ、
前記第2候補値を算出する処理は、
学習した前記回帰モデルを利用して、算出した前記第1候補値に対応する前記第2候補値を算出する、ことを特徴とする請求項2に記載の情報処理プログラム。
【請求項6】
前記下限値を取得する処理は、
前記第2記憶装置に前記第1記憶装置から前回送信したデータの量に、値が1未満である第1係数を乗算して得られる値を、前記下限値として取得する、ことを特徴とする請求項1に記載の情報処理プログラム。
【請求項7】
前記上限値を取得する処理は、
前記第2記憶装置に前記第1記憶装置からデータを前回送信した間隔に、値が1以上である第2係数を乗算して得られる値を、前記上限値として取得する、ことを特徴とする請求項2に記載の情報処理プログラム。
【請求項8】
第1記憶装置から定期的にデータを送信する送信先となる第2記憶装置に前記第1記憶装置から一度に送信するデータの量の下限値を取得し、
前記第1記憶装置にかかる処理負荷の大きさを表す指標値が閾値を超えた場合には、前記指標値が前記閾値より大きいほど、前記第2記憶装置に前記第1記憶装置から次回送信するデータの量が少なくなるよう、前記第2記憶装置に前記第1記憶装置から次回送信するデータの量の第1候補値を算出し、
算出した前記第1候補値が取得した前記下限値以上である場合には、算出した前記第1候補値で、前記第2記憶装置に前記第1記憶装置から次回送信するデータの量を制御し、算出した前記第1候補値が取得した前記下限値未満である場合には、取得した前記下限値で、前記第2記憶装置に前記第1記憶装置から次回送信するデータの量を制御する、
処理をコンピュータが実行することを特徴とする情報処理方法。
【請求項9】
第1記憶装置から定期的にデータを送信する送信先となる第2記憶装置に前記第1記憶装置から一度に送信するデータの量の下限値を取得し、
前記第1記憶装置にかかる処理負荷の大きさを表す指標値が閾値を超えた場合には、前記指標値が前記閾値より大きいほど、前記第2記憶装置に前記第1記憶装置から次回送信するデータの量が少なくなるよう、前記第2記憶装置に前記第1記憶装置から次回送信するデータの量の第1候補値を算出し、
算出した前記第1候補値が取得した前記下限値以上である場合には、算出した前記第1候補値で、前記第2記憶装置に前記第1記憶装置から次回送信するデータの量を制御し、算出した前記第1候補値が取得した前記下限値未満である場合には、取得した前記下限値で、前記第2記憶装置に前記第1記憶装置から次回送信するデータの量を制御する、
制御部を有することを特徴とする情報処理装置。
発明の詳細な説明
【技術分野】
【0001】
本発明は、情報処理プログラム、情報処理方法、および情報処理装置に関する。
続きを表示(約 2,400 文字)
【背景技術】
【0002】
従来、異なるプラットフォーム間を連携する技術がある。例えば、第1プラットフォームの業務データベースに登録されたデータを、第2プラットフォームの統合データベースに送信することがある。ここで、業務データベースにかかる処理負荷を抑制するよう、業務データベースから統合データベースに送信するデータの量を制御する、流量制御と呼ばれる技術がある。例えば、業務データベースにかかる処理負荷が一定以上になると、業務データベースから統合データベースに送信するデータの量が上限値を超えないよう、以後、業務データベースから統合データベースに送信するデータの量を抑制する。
【0003】
先行技術としては、例えば、流入データ量および流出データ量に基づいて流入超過状態になると判定した場合に一時記憶部を経由する経路に変更するものがある。また、例えば、通信回線の負荷状況と、データベースの更新間隔と、繁忙日および繁忙時間帯との状況に応じて、更新情報の送信間隔を制御する技術がある。また、例えば、性能劣化を起こしたサービス実行側への要求を遅延させることにより、サービス実行側の負荷を軽減する技術がある。また、例えば、複数のデータ転送方式の各々について算出した第1システムの負荷を示すコストに基づいて、適用するデータ転送方式を決定する技術がある。また、例えば、実行環境において所定の負荷を発生させた状態での所定の処理設定による処理の試行における所要時間を、所定の負荷を示す負荷情報および所定の処理設定と関連付けて記憶する技術がある。
【先行技術文献】
【特許文献】
【0004】
特開2013-101530号公報
特開2004-280210号公報
特開2006-120080号公報
特開2021-114232号公報
特開2017-068568号公報
【発明の概要】
【発明が解決しようとする課題】
【0005】
しかしながら、従来技術では、あるデータベースから別のデータベースにデータを送信する際に、ユーザが所望のスループットを維持することができない場合がある。例えば、業務データベースから統合データベースに送信するデータの量が、上限値を超えないようにすると、ユーザが所望のスループットを維持することができなくなることがある。
【0006】
1つの側面では、本発明は、あるデータベースから別のデータベースにデータを送信する際にユーザが所望のスループットを維持することを目的とする。
【課題を解決するための手段】
【0007】
1つの実施態様によれば、第1記憶装置から定期的にデータを送信する送信先となる第2記憶装置に前記第1記憶装置から一度に送信するデータの量の下限値を取得し、前記第1記憶装置にかかる処理負荷の大きさを表す指標値が閾値を超えた場合には、前記指標値が前記閾値より大きいほど、前記第2記憶装置に前記第1記憶装置から次回送信するデータの量が少なくなるよう、前記第2記憶装置に前記第1記憶装置から次回送信するデータの量の第1候補値を算出し、算出した前記第1候補値が取得した前記下限値以上である場合には、算出した前記第1候補値で、前記第2記憶装置に前記第1記憶装置から次回送信するデータの量を制御し、算出した前記第1候補値が取得した前記下限値未満である場合には、取得した前記下限値で、前記第2記憶装置に前記第1記憶装置から次回送信するデータの量を制御する情報処理プログラム、情報処理方法、および情報処理装置が提案される。
【発明の効果】
【0008】
一態様によれば、あるデータベースから別のデータベースにデータを送信する際にユーザが所望のスループットを維持することが可能になる。
【図面の簡単な説明】
【0009】
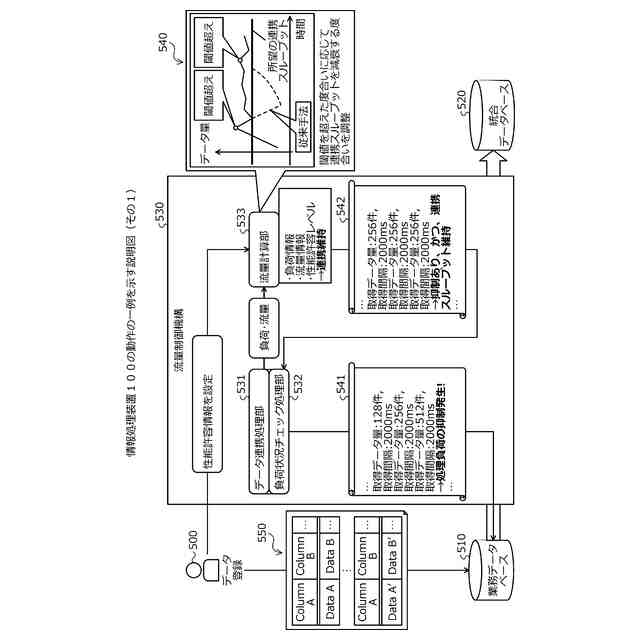
図1は、実施の形態にかかる情報処理方法の一実施例を示す説明図である。
図2は、情報処理システム200の一例を示す説明図である。
図3は、情報処理装置100のハードウェア構成例を示すブロック図である。
図4は、情報処理装置100の機能的構成例を示すブロック図である。
図5は、情報処理装置100の動作の一例を示す説明図(その1)である。
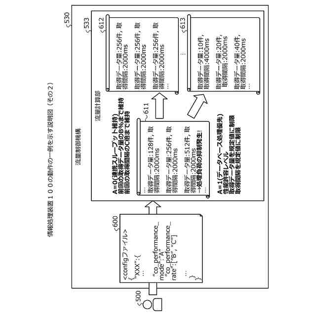
図6は、情報処理装置100の動作の一例を示す説明図(その2)である。
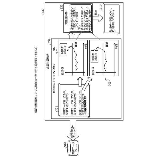
図7は、情報処理装置100の動作の一例を示す説明図(その3)である。
図8は、顧客業務テーブル800の記憶内容の一例を示す説明図である。
図9は、差分管理テーブル900の記憶内容の一例を示す説明図である。
図10は、情報処理装置100の動作の具体例を示す説明図(その1)である。
図11は、情報処理装置100の動作の具体例を示す説明図(その2)である。
図12は、情報処理装置100の動作の具体例を示す説明図(その3)である。
図13は、情報処理装置100の動作の具体例を示す説明図(その4)である。
図14は、情報処理装置100の動作の具体例を示す説明図(その5)である。
図15は、情報処理装置100の動作の具体例を示す説明図(その6)である。
図16は、効果の一例を示す説明図である。
図17は、全体処理手順の一例を示すフローチャート(その1)である。
図18は、全体処理手順の一例を示すフローチャート(その2)である。
【発明を実施するための形態】
【0010】
以下に、図面を参照して、本発明にかかる情報処理プログラム、情報処理方法、および情報処理装置の実施の形態を詳細に説明する。
(【0011】以降は省略されています)
この特許をJ-PlatPat(特許庁公式サイト)で参照する
関連特許
富士通株式会社
半導体装置
2日前
富士通株式会社
周波数変換器
15日前
富士通株式会社
行列演算回路
12日前
富士通株式会社
半導体デバイス
2日前
富士通株式会社
メッシュ微細化
3日前
富士通株式会社
医用画像処理方法
2か月前
富士通株式会社
演算器及び演算方法
3日前
富士通株式会社
冷却装置及び電子機器
12日前
富士通株式会社
転倒検出方法及び装置
1か月前
富士通株式会社
ハイブリッド光増幅器
1か月前
富士通株式会社
量子デバイスの製造方法
1か月前
富士通株式会社
アレイアンテナモジュール
4日前
富士通株式会社
電子機器筐体及び電子機器
1日前
富士通株式会社
光送信器及び光トランシーバ
1日前
富士通株式会社
通信制御装置及び移動中継装置
9日前
富士通株式会社
基板及びこれを備えた電子装置
4日前
富士通株式会社
演算処理装置及び演算処理方法
23日前
富士通株式会社
動的多次元メディアコンテンツ投影
22日前
富士通株式会社
ポイントクラウドレジストレーション
1か月前
富士通株式会社
データ転送制御装置および情報処理装置
1か月前
富士通株式会社
データ転送制御装置および情報処理装置
1か月前
富士通株式会社
視線誘導方法および視線誘導プログラム
1か月前
富士通株式会社
異常予測方法および異常予測プログラム
22日前
富士通株式会社
管理装置、管理方法、および管理プログラム
10日前
富士通株式会社
演算システムおよび演算システムの制御方法
1か月前
富士通株式会社
生成人工知能を使用したデータセット符号化
1か月前
富士通株式会社
シストリック型の演算アレイ装置及び制御方法
24日前
富士通株式会社
予測プログラム、予測方法および情報処理装置
24日前
富士通株式会社
プログラム、情報処理方法および情報処理装置
8日前
富士通株式会社
学習プログラム、学習方法および情報処理装置
2か月前
富士通株式会社
推定プログラム、推定方法および情報処理装置
1か月前
富士通株式会社
学習プログラム、学習方法、及び情報処理装置
1か月前
富士通株式会社
描画プログラム、描画方法および情報処理装置
2か月前
富士通株式会社
画像を記述する構造化テキストを生成する方法
1か月前
富士通株式会社
交通シミュレーションのための方法および装置
22日前
富士通株式会社
推定プログラム、推定方法および情報処理装置
1か月前
続きを見る
他の特許を見る