TOP
|
特許
|
意匠
|
商標
特許ウォッチ
Twitter
他の特許を見る
公開番号
2025149680
公報種別
公開特許公報(A)
公開日
2025-10-08
出願番号
2024050471
出願日
2024-03-26
発明の名称
眼鏡装着型骨伝導イヤホン
出願人
ティ・アール・エイ株式会社
代理人
個人
主分類
H04R
25/00 20060101AFI20251001BHJP(電気通信技術)
要約
【課題】集音ユニットを装着した眼鏡の揺れ動きの悪影響がイヤホンユニットに直接及ぶことを抑制する。眼鏡に対する着脱性に優れ、眼鏡の着用者の視線の方向が変化しても常に視線方向で発生している音を主に集音することが可能になる骨伝導イヤホンを提供する。
【解決手段】耳装着型のイヤホンユニット10と、集音ユニット50と、マイク52と、眼鏡のつるに着脱可能な取付け具80と、有する。イヤホンユニット10を集音ユニット50から分離する。集音ユニット50とイヤホンユニット10とを可撓性を有する折れ曲がり可能な被覆信号線によって連結する。取付け具80が二つ折り形状に塑性変形可能な帯板片でなる。
【選択図】図1
特許請求の範囲
【請求項1】
眼鏡のつるに取り付けて使用する眼鏡装着型骨伝導イヤホンであって、
振動素子を内蔵して骨伝導を利用する耳装着型のイヤホンユニットと、バッテリー及びこのバッテリーの電力により動作する信号処理回路を備える集音ユニットと、この集音ユニットの筐体に内蔵されて上記信号処理回路に接続されたマイクと、集音ユニットの筐体に設けられて眼鏡の上記つるに着脱可能な取付け具と、有し、集音ユニットが、マイクによって集音された音声信号を信号処理回路によってイヤホンユニットの振動素子の駆動信号に変換する機能を備え、
イヤホンユニットが集音ユニットから分離されていて、信号処理回路で生成した振動素子の上記駆動信号が、集音ユニットとイヤホンユニットとを連結する可撓性を有する折れ曲がり可能な被覆信号線を介してイヤホンユニットに入力されるように構成され、
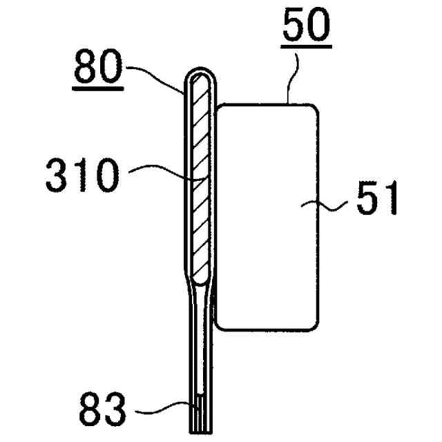
集音ユニットの筐体に、当該集音ユニットの前方を指向する集音孔が備わっていると共に、上記取付け具が、上記つるに挟持状態で装着される二つ折り形状に塑性変形可能な帯板片でなる、ことを特徴とする眼鏡装着型骨伝導イヤホン。
続きを表示(約 390 文字)
【請求項2】
帯板片でなる上記取付け具が、帯板状の薄肉金属板と、この薄肉金属板の全体を覆う被覆層と、長手方向両端部に設けられて互いに吸着可能な磁性体と、を備える請求項1に記載した眼鏡装着型骨伝導イヤホン。
【請求項3】
帯板片でなる上記取付け具は、眼鏡の上記つるに対する集音ユニットの取付け位置が眼鏡を着用したユーザーの左右の目の視界の外側後方になる箇所、になるように眼鏡のつるに装着可能である請求項1に記載した眼鏡装着型骨伝導イヤホン。
【請求項4】
帯板片でなる上記取付け具が、集音ユニットの上記筐体の裏側壁面に固定されている請求項1に記載した眼鏡装着型骨伝導イヤホン。
【請求項5】
イヤホンユニットの筐体が、耳介の外耳道を塞がない位置で耳珠の内側に嵌り込む球状に形成されている請求項1に記載した眼鏡装着型骨伝導イヤホン。
発明の詳細な説明
【技術分野】
【0001】
本発明は、眼鏡のつるに取り付けて使用する眼鏡装着型骨伝導イヤホンに関する。
続きを表示(約 2,200 文字)
【背景技術】
【0002】
先行例1(特許文献1)には、眼鏡用アダプタに関して、当該アダプタのハウジングに設けた溝に眼鏡のつる(テンプル)を沿わせることにより、当該アダプタを眼鏡に装着することが記載されている。先行例2(特許文献2)には、補聴器付き眼鏡に関して、テンプル部の内側にL字状の引掛部を介して取り付けられた補聴器の前側に、マイク部が位置している構成が開示されている。先行例3(特許文献3)には、電磁式又は圧電式の音響信号を発生するトランスジューサー部の筐体部が、眼鏡の弦に対する摺動回転及び摺動移動可能な取り付け部を備えていると共に、上記筐体部に骨伝導スピーカーの振動板を取り付けて顔面の一部に接触させることが記載されている。
【0003】
これらのうち、特許文献3に記載されている骨伝導スピーカーは、電気信号として入力された音響信号を機械的な振動に変換し、その振動を適切な位置から骨に伝えることによって生じる骨伝導で音を認識させる、というものであるため、耳の外耳道を密閉するタイプの密閉型イヤホンに比べると、使用時に外耳道が塞がれることがなく、外耳道や鼓膜に与える悪影響や外部の音が遮断されて聞こえにくくなる、といった短所を有しない、と云われている。
【0004】
また、特許文献3に記載されている骨伝導スピーカーは、骨伝導スピーカーがトランスジューサー部の筐体部と一体化されていることにより、眼鏡の着用者が運動して眼鏡が揺れ動いたりしたときには、骨伝導スピーカーがトランスジューサー部と共に揺れ動いて音を認識しにくくなることが考えられる。
【先行技術文献】
【特許文献】
【0005】
特許第6158317号公報
特開2014-59544号公報
特開2004-320605号公報
【発明の概要】
【発明が解決しようとする課題】
【0006】
本発明は、以上の状況に鑑みてなされたものであり、集音ユニットとマイクとを同一の筐体の内部に配備する一方で、イヤホンユニットを集音ユニットから分離することによって、集音ユニットを装着した眼鏡の揺れ動きの悪影響がイヤホンユニットに直接及ぶことを抑制すると共に、眼鏡に対する着脱性に優れ、しかも、眼鏡の着用者の視線の方向が変化しても常に視線方向で発生している音を主に集音することが可能になる眼鏡装着型骨伝導イヤホンを提供することを目的としている。
【課題を解決するための手段】
【0007】
本発明に係る眼鏡装着型骨伝導イヤホンは、眼鏡のつるに取り付けて使用する眼鏡装着型骨伝導イヤホンであって、振動素子を内蔵して骨伝導を利用する耳装着型のイヤホンユニットと、バッテリー及びこのバッテリーの電力により動作する信号処理回路を備える集音ユニットと、この集音ユニットの筐体に内蔵されて上記信号処理回路に接続されたマイクと、集音ユニットの筐体に設けられて眼鏡の上記つるに着脱可能な取付け具と、有し、集音ユニットが、マイクによって集音された音声信号を信号処理回路によってイヤホンユニットの振動素子の駆動信号に変換する機能を備えている。
【0008】
また、イヤホンユニットが集音ユニットから分離されていて、信号処理回路で生成した振動素子の上記駆動信号が、集音ユニットとイヤホンユニットとを連結する可撓性を有する折れ曲がり可能な被覆信号線を介してイヤホンユニットに入力されるように構成されている。さらに、集音ユニットの筐体に、当該集音ユニットの前方を指向する集音孔が備わっていると共に、上記取付け具が、上記つるに挟持状態で装着される二つ折り形状に塑性変形可能な帯板片でなる、というものである。
【0009】
眼鏡装着型骨伝導イヤホンが上記のように構成されていると、イヤホンユニットが集音ユニットから分離されていて、信号処理回路で生成した振動素子の駆動信号が、集音ユニットとイヤホンユニットとを連結する可撓性を有する折れ曲がり可能な被覆信号線を介してイヤホンユニットに入力されるようになるので、集音ユニットを装着した眼鏡の揺れ動きの悪影響がイヤホンユニットに直接及ぶという状況が抑制されるようになり、その結果、イヤホンユニットの振動素子の振動に伴う骨伝導による音の認識状態が安定する。また、集音ユニットの筐体に設けられた取付け具が、眼鏡のつるに挟持状態で装着される二つ折り形状に塑性変形可能な帯板片でなることにより、着脱が容易で装着安定性を向上させることも容易である。さらに、集音ユニットの筐体に前方を指向する集音孔が備わっていることにより、眼鏡の着用者の視線の方向が変化しても常に視線方向で発生している音を主に集音することが可能になる。なお、骨伝導には軟骨伝導が含まれる。
【0010】
本発明では、帯板片でなる上記取付け具が、帯板状の薄肉金属板と、この薄肉金属板の全体を覆う被覆層と、長手方向両端部に設けられて互いに吸着可能な磁性体と、を備える、という構成を採油することが可能である。薄肉金属板には二つ折り形状に変形することが容易で繰り返し変形に対する耐久性にも優れる薄肉銅板を好ましく採用することができる。
(【0011】以降は省略されています)
この特許をJ-PlatPat(特許庁公式サイト)で参照する
関連特許
個人
店内配信予約システム
2か月前
WHISMR合同会社
収音装置
1か月前
サクサ株式会社
中継装置
3か月前
サクサ株式会社
中継装置
4日前
サクサ株式会社
中継装置
3日前
アイホン株式会社
電気機器
25日前
キヤノン株式会社
撮像装置
1か月前
キヤノン株式会社
電子機器
2か月前
キヤノン電子株式会社
画像読取装置
1か月前
株式会社リコー
画像形成装置
2か月前
サクサ株式会社
無線システム
2日前
キヤノン電子株式会社
モバイル装置
3か月前
株式会社リコー
画像形成装置
1か月前
サクサ株式会社
無線通信装置
3日前
サクサ株式会社
無線通信装置
3日前
株式会社リコー
画像形成装置
1か月前
個人
ワイヤレスイヤホン対応耳掛け
23日前
ブラザー工業株式会社
読取装置
2か月前
個人
発信機及び発信方法
2日前
株式会社ニコン
撮像装置
2か月前
キヤノン株式会社
撮像システム
25日前
沖電気工業株式会社
画像形成装置
13日前
DXO株式会社
情報処理システム
2か月前
大日本印刷株式会社
写真撮影装置
24日前
キヤノン電子株式会社
シート材搬送装置
2か月前
株式会社小糸製作所
画像照射装置
1か月前
沖電気工業株式会社
画像形成装置
5日前
パテントフレア株式会社
超高速電波通信
1か月前
株式会社松平商会
携帯機器カバー
1か月前
国立大学法人電気通信大学
小型光学装置
1か月前
有限会社フィデリックス
マイクロフォン
9日前
パテントフレア株式会社
水中電波通信法
2か月前
株式会社JVCケンウッド
通信システム
9日前
日本無線株式会社
無線通信システム
17日前
日本無線株式会社
無線通信システム
1か月前
日本無線株式会社
無線通信システム
1か月前
続きを見る
他の特許を見る