TOP
|
特許
|
意匠
|
商標
特許ウォッチ
Twitter
他の特許を見る
10個以上の画像は省略されています。
公開番号
2025148990
公報種別
公開特許公報(A)
公開日
2025-10-08
出願番号
2024049405
出願日
2024-03-26
発明の名称
多方向入力装置の製造方法および多方向入力装置
出願人
ミツミ電機株式会社
代理人
個人
,
個人
,
個人
,
個人
主分類
H01H
11/00 20060101AFI20251001BHJP(基本的電気素子)
要約
【課題】操作軸に対する傾倒操作に応じた方向情報の入力を提供することが可能であり、かつ、製品寿命が長い多方向入力装置および該多方向入力装置の製造方法を提供すること。
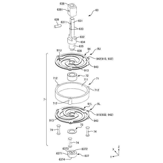
【解決手段】多方向入力装置1の製造方法S100は、保持機構7によって操作軸63を弾性的に保持する工程S130を含む。工程S130は、操作軸63を上側板バネ91Uの挿通孔913に挿通する工程と、操作軸63をブッシュ72に挿通する工程と、操作軸63を下側板バネ91Lの挿通孔913に挿通する工程と、を含む。
【選択図】図13
特許請求の範囲
【請求項1】
ハウジングと、
第1のスリット孔を有し、第1の軸方向回りに回動可能に、前記ハウジングに保持された第1の回動部材と、
第2のスリット孔を有し、前記第1の軸方向と直交する第2の軸方向回りに回動可能に、前記ハウジングに保持された第2の回動部材と、
前記第1のスリット孔および前記第2のスリット孔に挿通され、ユーザーから印加される傾倒操作に応じて、前記第1の回動部材および前記第2の回動部材を回動させる操作軸と、
前記操作軸を中立状態で弾性的に保持する保持機構と、
前記第1の回動部材および前記第2の回動部材のそれぞれの回動角度を検出するための検出機構と、を含む多方向入力装置の製造方法であって、
前記保持機構によって前記操作軸を弾性的に保持する工程を含み、
前記保持機構は、
上側板バネと、
前記上側板バネに対して高さ方向に離間して対向する下側板バネと、
前記上側板バネと前記下側板バネとの間に位置する円筒状のブッシュと、を備え、
前記上側板バネおよび前記下側板バネのそれぞれは、
外枠と、
前記外枠の内側に位置し、前記操作軸が挿通される挿通孔を有する内枠と、
前記外枠に対して前記内枠が変位可能に、前記外枠と前記内枠との間を接続する複数のバネ部と、を備え、
前記保持機構によって前記操作軸を弾性的に保持する前記工程は、
前記操作軸を前記上側板バネの前記挿通孔に挿通する工程と、
前記操作軸を前記ブッシュに挿通する工程と、
前記操作軸を前記下側板バネの前記挿通孔に挿通する工程と、を含むことを特徴とする多方向入力装置の製造方法。
続きを表示(約 1,100 文字)
【請求項2】
前記上側板バネの前記内枠は、前記ブッシュの上面に接しており、
前記下側板バネの前記内枠は、前記ブッシュの下面に接しており、
前記上側板バネの前記内枠と前記下側板バネの前記内枠は、前記高さ方向において、前記ブッシュの高さの分だけ離間している請求項1に記載の多方向入力装置の製造方法。
【請求項3】
前記操作軸は、円柱状の細径部と、前記細径部から下方に向かって延伸するフランジ部と、前記フランジ部から下方に向かって直線状に延伸する円柱状のバネ接続部と、を備え、
前記フランジ部の外径は、前記細径部および前記バネ接続部のそれぞれの外径よりも大きく、
前記バネ接続部が、前記上側板バネの前記挿通孔、前記ブッシュ、および前記下側板バネの前記挿通孔を挿通している請求項1に記載の多方向入力装置の製造方法。
【請求項4】
前記保持機構によって前記操作軸を弾性的に保持する前記工程は、前記操作軸の下端部に支持キャップを取り付け、前記下側板バネを下方から支持する工程をさらに含む請求項1に記載の多方向入力装置の製造方法。
【請求項5】
前記保持機構は、前記上側板バネの前記外枠と前記下側板バネの前記外枠との間に位置する筒状部をさらに含み、
前記上側板バネの前記外枠は、前記筒状部の上面上に固定されており、
前記下側板バネの前記外枠は、前記筒状部の下面上に固定されており、
前記上側板バネの前記外枠と前記下側板バネの前記外枠とは、前記高さ方向において、前記筒状部の高さの分だけ離間している請求項1に記載の多方向入力装置の製造方法。
【請求項6】
前記保持機構によって前記操作軸を弾性的に保持する前記工程は、前記筒状部の前記上面に前記上側板バネの前記外枠を固定し、さらに、前記筒状部の前記下面に前記下側板バネの前記外枠を固定する工程をさらに含む請求項5に記載の多方向入力装置の製造方法。
【請求項7】
前記操作軸を弾性的に保持している前記保持機構を前記ハウジング上に載置する工程と、
前記第1の回動部材を前記ハウジングによって前記第1の軸方向回りに回動可能に保持する工程と、
前記第2の回動部材を前記ハウジングによって前記第2の軸方向回りに回動可能に保持する工程と、をさらに含む請求項1に記載の多方向入力装置の製造方法。
【請求項8】
前記第1の回動部材および前記第2の回動部材を前記ハウジングによって保持した後に、前記操作軸の上端部にキャップを取り付ける工程をさらに含む請求項7に記載の多方向入力装置の製造方法。
【請求項9】
請求項1に記載の製造方法によって製造された多方向入力装置。
発明の詳細な説明
【技術分野】
【0001】
本発明は、一般に、多方向入力装置の製造方法および多方向入力装置に関し、より具体的には、操作軸に対する傾倒操作に応じた方向情報の入力を提供する多方向入力装置の製造方法および該製造方法を用いて製造された多方向入力装置に関する。
続きを表示(約 2,800 文字)
【背景技術】
【0002】
従来、ゲーム機器等の電子機器に用いられる多方向入力装置として、操作軸に対する傾倒操作が可能な多方向入力装置が知られている。ジョイスティックまたはスティックコントローラーと呼ばれるこの種の多方向入力装置では、ユーザーは、操作軸を中立状態から任意の方向に向けて傾倒させる傾倒操作を実行することにより、操作軸に対する傾倒操作に応じた方向情報の入力を提供する。
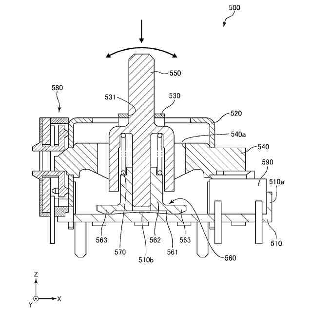
【0003】
例えば、特許文献1は、図1に示されている多方向入力装置500を開示している。多方向入力装置500は、底板510上に固定されるハウジング520と、第1の軸方向(Y方向)回りに回動可能に、ハウジング520に保持された第1の回動部材530と、第1の軸方向と直交する第2の軸方向(X方向)回りに回動可能に、ハウジング520に保持された第2の回動部材540と、第1の回動部材530のスリット孔531および第2の回動部材540のスリット孔540aに挿通され、ユーザーから印加される傾倒操作に応じて、第1の回動部材530および第2の回動部材540を回動させると共に、ユーザーからの押下操作に応じて下方に変位可能な操作軸550と、操作軸550の下端部に、操作軸550の軸方向に沿って移動可能に設けられた作動部材560と、操作軸550と作動部材560との間に設けられたコイルバネ570と、第1の回動部材530および第2の回動部材540の回動角度を検出するためにハウジング520上に設けられたセンサー580と、底板510の一方の側壁から外側に突出する部品取り付け部510a内に設けられたプッシュスイッチ590と、を備えている。
【0004】
ユーザーから操作軸550に対して任意の方向への傾倒操作が印加されると、操作軸550の傾倒動作に伴い、第1の回動部材530および第2の回動部材540が回動する。第1の回動部材530および第2の回動部材540の回動角度のそれぞれは、センサー580によって検出され、操作軸550に対するユーザーの傾倒操作に応じた方向情報の入力が提供される。また、ユーザーから操作軸550に対して押下操作が印加されると、操作軸550と係合している第2の回動部材540が下方に変位し、第2の回動部材540がプッシュスイッチ590を押下する。これにより、操作軸550に対するユーザーの押下操作に応じた押下情報の入力が提供される。
【0005】
作動部材560は、底面が皿状に湾曲された基部561と、基部561の中央部に形成され、操作軸550の下端部が挿入される筒状のボス部562と、基部561の外周部から外側に突出する円弧部563と、を備えている。このような多方向入力装置500では、ユーザーが操作軸550に対して傾倒操作を印加した場合、操作軸550の傾倒角度が小さい初期段階においては、作動部材560が底板510上をスライドする。その後、操作軸550の傾倒角度が一定値を超えると、作動部材560の円弧部563の下面が、底板510上に形成された突部510bに当接しながら作動部材560が傾斜し、コイルバネ570の弾性力に抗して、作動部材560が操作軸550の軸方向に持ち上げられる。その後、操作軸550に対する傾倒操作が解除されると、コイルバネ570の弾性復元力と基部561の底面の形状によって、操作軸550が直立の中立状態に復帰する。このように、作動部材560は、操作軸550を直立の中立状態で弾性的に保持する機能を提供している。
【0006】
しかしながら、多方向入力装置500では、操作軸550が傾倒動作を実行する際に、作動部材560が底板510上をスライドするので、作動部材560と底板510との間に摩擦が生じる。さらに、作動部材560が操作軸550の軸方向に沿って移動するので、作動部材560と操作軸550との間に摩擦が生じる。そのため、操作軸550に対する傾倒操作が繰り返し実行されると、作動部材560が摩耗してしまい、多方向入力装置500の製品寿命が短くなってしまうという問題があった。
【先行技術文献】
【特許文献】
【0007】
特開2000-305650号公報
【発明の概要】
【発明が解決しようとする課題】
【0008】
本発明は、上記従来の問題点を鑑みたものであり、その目的は、操作軸に対する傾倒操作に応じた方向情報の入力を提供することが可能であり、かつ、製品寿命が長い多方向入力装置の製造方法および該製造方法を用いて製造された多方向入力装置を提供することにある。
【課題を解決するための手段】
【0009】
このような目的は、以下の(1)および(2)によって規定される本発明により達成される。
【0010】
(1)ハウジングと、
第1のスリット孔を有し、第1の軸方向回りに回動可能に、前記ハウジングに保持された第1の回動部材と、
第2のスリット孔を有し、前記第1の軸方向と直交する第2の軸方向回りに回動可能に、前記ハウジングに保持された第2の回動部材と、
前記第1のスリット孔および前記第2のスリット孔に挿通され、ユーザーから印加される傾倒操作に応じて、前記第1の回動部材および前記第2の回動部材を回動させる操作軸と、
前記操作軸を中立状態で弾性的に保持する保持機構と、
前記第1の回動部材および前記第2の回動部材のそれぞれの回動角度を検出するための検出機構と、を含む多方向入力装置の製造方法であって、
前記保持機構によって前記操作軸を弾性的に保持する工程を含み、
前記保持機構は、
上側板バネと、
前記上側板バネに対して高さ方向に離間して対向する下側板バネと、
前記上側板バネと前記下側板バネとの間に位置する円筒状のブッシュと、を備え、
前記上側板バネおよび前記下側板バネのそれぞれは、
外枠と、
前記外枠の内側に位置し、前記操作軸が挿通される挿通孔を有する内枠と、
前記外枠に対して前記内枠が変位可能に、前記外枠と前記内枠との間を接続する複数のバネ部と、を備え、
前記保持機構によって前記操作軸を弾性的に保持する前記工程は、
前記操作軸を前記上側板バネの前記挿通孔に挿通する工程と、
前記操作軸を前記ブッシュに挿通する工程と、
前記操作軸を前記下側板バネの前記挿通孔に挿通する工程と、を含むことを特徴とする多方向入力装置の製造方法。
(2)上記(1)に記載の製造方法によって製造された多方向入力装置。
【発明の効果】
(【0011】以降は省略されています)
この特許をJ-PlatPat(特許庁公式サイト)で参照する
関連特許
ミツミ電機株式会社
半導体装置
18日前
ミツミ電機株式会社
音響変換装置
6日前
ミツミ電機株式会社
音響変換装置
6日前
ミツミ電機株式会社
音響変換装置
6日前
ミツミ電機株式会社
超音波風速計
6日前
ミツミ電機株式会社
超音波風速計
10日前
ミツミ電機株式会社
多方向入力装置
19日前
ミツミ電機株式会社
多方向入力装置
12日前
ミツミ電機株式会社
多方向入力装置
12日前
ミツミ電機株式会社
多方向入力装置
12日前
ミツミ電機株式会社
多方向入力装置
12日前
ミツミ電機株式会社
電気音響変換装置
12日前
ミツミ電機株式会社
電気音響変換装置
12日前
ミツミ電機株式会社
電気音響変換装置
12日前
ミツミ電機株式会社
電池パック及び充電制御回路
19日前
ミツミ電機株式会社
メンブレン、電気音響変換装置
12日前
ミツミ電機株式会社
超音波風速計、及び風速測定方法
10日前
ミツミ電機株式会社
駆動回路及び電気音響変換システム
12日前
ミツミ電機株式会社
駆動回路及び電気音響変換システム
12日前
ミツミ電機株式会社
MEMSデバイス、電気音響変換装置
12日前
ミツミ電機株式会社
MEMSデバイス、電気音響変換装置
12日前
ミツミ電機株式会社
MEMSデバイス、電気音響変換装置
12日前
ミツミ電機株式会社
MEMSデバイス、電気音響変換装置
12日前
ミツミ電機株式会社
アンテナ装置およびラジオ放送受信システム
11日前
ミツミ電機株式会社
多方向入力装置の製造方法および多方向入力装置
12日前
ミツミ電機株式会社
駆動装置、カメラモジュールおよびカメラ搭載装置
11日前
ミツミ電機株式会社
MEMSデバイス、電気音響変換装置、変位測定方法
12日前
ミツミ電機株式会社
半導体集積回路及びそれを備える装置、並びにバスシステム
1か月前
個人
フレキシブル電気化学素子
10日前
日本発條株式会社
積層体
21日前
日新イオン機器株式会社
イオン源
6日前
株式会社ユーシン
操作装置
10日前
ローム株式会社
半導体装置
19日前
ローム株式会社
半導体装置
19日前
ローム株式会社
半導体装置
19日前
個人
防雪防塵カバー
21日前
続きを見る
他の特許を見る