TOP
|
特許
|
意匠
|
商標
特許ウォッチ
Twitter
他の特許を見る
公開番号
2025142601
公報種別
公開特許公報(A)
公開日
2025-10-01
出願番号
2024042049
出願日
2024-03-18
発明の名称
電池パック及び充電制御回路
出願人
ミツミ電機株式会社
代理人
個人
,
個人
主分類
H02J
7/00 20060101AFI20250924BHJP(電力の発電,変換,配電)
要約
【課題】本開示は、二次電池における劣化状態を推定する技術を提供する。
【解決手段】二次電池と、充電制御回路と、を備え、前記充電制御回路は、定電流充電及び定電圧充電により前記二次電池を充電するように制御可能であり、前記充電制御回路は、前記定電流充電における前記二次電池の電圧の変化を用いて前記二次電池の劣化を推定する電池パック。
【選択図】図1
特許請求の範囲
【請求項1】
二次電池と、
充電制御回路と、を備え、
前記充電制御回路は、定電流充電及び定電圧充電により前記二次電池を充電するように制御可能であり、
前記充電制御回路は、前記定電流充電における前記二次電池の電圧の変化を用いて前記二次電池の劣化を推定する、
電池パック。
続きを表示(約 1,100 文字)
【請求項2】
前記充電制御回路は、前記二次電池の電圧が第1電圧になった時間を第1時間として検出し、前記二次電池の電圧が第2電圧になった時間を第2時間として検出する、
請求項1に記載の電池パック。
【請求項3】
前記充電制御回路は、前記第1電圧から第1充電率を推定し、前記第2電圧から第2充電率を推定し、前記第1時間、前記第2時間及び前記定電流充電時の電流の値から充電電荷量を算出し、前記第1充電率、第2充電率及び前記充電電荷量から、第1変化係数を算出する、
請求項2に記載の電池パック。
【請求項4】
前記充電制御回路は、記憶部を更に備え、
前記記憶部は、基準となる二次電池の第2変化係数を記憶し、
前記第1変化係数と前記第2変化係数の割合に基づいて前記二次電池の劣化を推定する、
請求項3に記載の電池パック。
【請求項5】
表示部を更に備え、
前記充電制御回路は、前記割合を前記表示部に送付する、
請求項4に記載の電池パック。
【請求項6】
前記充電制御回路は、前記定電圧充電より前に前記定電流充電を行い、前記定電流充電時において前記二次電池の電圧が判定電圧に達したときに前記定電圧充電を行う、
請求項1から請求項5のいずれか一項に記載の電池パック。
【請求項7】
二次電池の充電を制御する充電制御回路であって、
定電流充電及び定電圧充電により前記二次電池を充電するように制御可能であり、
前記定電流充電における前記二次電池の電圧の変化を用いて前記二次電池の劣化を推定する、
充電制御回路。
【請求項8】
前記二次電池の電圧が第1電圧になった時間を第1時間として検出し、前記二次電池の電圧が第2電圧になった時間を第2時間として検出する、
請求項7に記載の充電制御回路。
【請求項9】
前記第1電圧から第1充電率を推定し、前記第2電圧から第2充電率を推定し、前記第1時間、前記第2時間及び前記定電流充電時の電流の値から充電電荷量を算出し、前記第1充電率、第2充電率及び前記充電電荷量から、第1変化係数を算出する、
請求項8に記載の充電制御回路。
【請求項10】
記憶部を更に備え、
前記記憶部は、基準となる二次電池の第2変化係数を記憶し、
前記第1変化係数と前記第2変化係数の割合に基づいて前記二次電池の劣化を判定する、
請求項9に記載の充電制御回路。
(【請求項11】以降は省略されています)
発明の詳細な説明
【技術分野】
【0001】
本開示は、電池パック及び充電制御回路に関する。
続きを表示(約 1,400 文字)
【背景技術】
【0002】
特許文献1には、二次電池の劣化状態を推定する二次電池の劣化状態推定装置が開示されている。特許文献1には、劣化状態推定装置が、定電流定電圧充電から定電圧充電に移行した際の第1電流値と、定電圧充電に移行した後所定時間経過後の第2電流値とを取得することが開示されている。また、劣化状態推定装置が、第1電流値から第2電流値への変化の傾きを算出すること、傾きの値より前記二次電池の劣化状態を推定することが開示されている。
【0003】
特許文献2には、充放電が可能な電池と、電池の電圧を検出電圧値として検出する電圧検出器と、電池に流れる電流を検出電流値として検出する電流検出器と、電池の充放電を制御するとともに、電池の経年劣化を推定する制御装置が開示されている。
【先行技術文献】
【特許文献】
【0004】
特開2018-155706号公報
特開2018-185259号公報
【発明の概要】
【発明が解決しようとする課題】
【0005】
二次電池として一般的に利用されるリチウムイオン電池は、時間の経過や充放電サイクルを経て劣化する。そして、リチウムイオン電池は、劣化により充電量が減少し、バッテリの内部抵抗が増加する。例えば、リチウムイオン電池の劣化を示す指標として、SOH(State of Health)が用いられている。
【0006】
本開示は、二次電池における劣化状態を推定する技術を提供する。
【課題を解決するための手段】
【0007】
本開示の一態様では、二次電池と、充電制御回路と、を備え、前記充電制御回路は、定電流充電及び定電圧充電により前記二次電池を充電するように制御可能であり、前記充電制御回路は、前記定電流充電における前記二次電池の電圧の変化を用いて前記二次電池の劣化を推定する電池パックが提供される。
【発明の効果】
【0008】
本開示によれば、二次電池における劣化状態を推定できる。
【図面の簡単な説明】
【0009】
図1は、本実施形態に係る電池パックの概略の一例を示す図である。
図2は、本実施形態に係る電池パックにおける二次電池を使用した前後の二次電池のSOC値とセル電圧との関係の一例を示す図である。
図3は、本実施形態に係る電池パックにおける二次電池の充電電流と充電時間との関係の一例を示す図である。
図4は、本実施形態に係る電池パックにおける充電時の時間とセル電圧との関係の一例を示す図である。
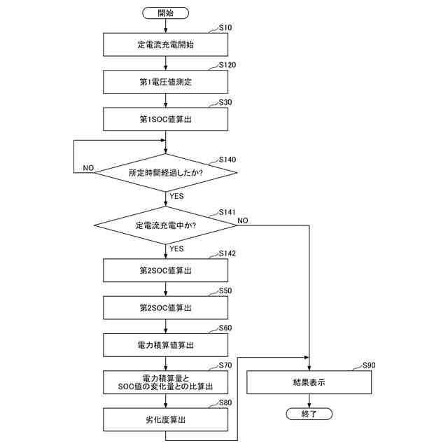
図5は、本実施形態に係る電池パックにおける処理の一例を示すフロー図である。
図6は、本実施形態に係る電池パックにおける表示部における表示の一例を示す図である。
図7は、本実施形態に係る電池パックにおける処理の変形例の一例を示すフロー図である。
図8は、充電制御部による二次電池に対する充電制御の一例を示す図である。
【発明を実施するための形態】
【0010】
以下、図面を参照して発明を実施するための形態について説明する。各図面において、同一構成部分には同一符号を付し、重複した説明を省略する場合がある。
(【0011】以降は省略されています)
この特許をJ-PlatPat(特許庁公式サイト)で参照する
関連特許
ミツミ電機株式会社
音響変換装置
26日前
ミツミ電機株式会社
音響変換装置
26日前
ミツミ電機株式会社
音響変換装置
26日前
ミツミ電機株式会社
超音波風速計
26日前
ミツミ電機株式会社
超音波風速計
1か月前
ミツミ電機株式会社
充電制御装置、及び、電池パック
17日前
ミツミ電機株式会社
超音波風速計、及び風速測定方法
1か月前
ミツミ電機株式会社
駆動装置、カメラモジュールおよびカメラ搭載装置
2日前
ミツミ電機株式会社
駆動装置、カメラモジュールおよびカメラ搭載装置
2日前
ミツミ電機株式会社
DC-DCコンバータおよび電源用半導体集積回路
10日前
ミツミ電機株式会社
駆動装置、カメラモジュールおよびカメラ搭載装置
1か月前
個人
単極モータ
26日前
個人
電気を重力で発電装置
3日前
キヤノン電子株式会社
モータ
2日前
キヤノン電子株式会社
モータ
10日前
株式会社アイシン
ロータ
26日前
株式会社アイシン
ロータ
1か月前
日星電気株式会社
ケーブル組立体
18日前
コーセル株式会社
電源装置
11日前
トヨタ自動車株式会社
固定子
1か月前
トヨタ自動車株式会社
モータ
2日前
株式会社デンソー
回転機
24日前
トヨタ自動車株式会社
製造装置
1か月前
個人
太陽エネルギー収集システム
1か月前
カヤバ株式会社
筒型リニアモータ
1か月前
株式会社ダイヘン
充電装置
1か月前
株式会社アイシン
ステータ
1か月前
株式会社ミツバ
ブラシレスモータ
1か月前
株式会社アイシン
ステータ
1か月前
株式会社アイシン
ステータ
1か月前
株式会社アイシン
ステータ
1か月前
株式会社ダイヘン
充電装置
1か月前
株式会社ダイヘン
充電装置
1か月前
株式会社ダイヘン
充電装置
1か月前
個人
二次電池繰返パルス放電器用印刷基板
16日前
株式会社kaisei
発電システム
26日前
続きを見る
他の特許を見る