TOP
|
特許
|
意匠
|
商標
特許ウォッチ
Twitter
他の特許を見る
10個以上の画像は省略されています。
公開番号
2025142532
公報種別
公開特許公報(A)
公開日
2025-10-01
出願番号
2024041951
出願日
2024-03-18
発明の名称
多方向入力装置
出願人
ミツミ電機株式会社
代理人
個人
,
個人
,
個人
,
個人
主分類
H01H
25/06 20060101AFI20250924BHJP(基本的電気素子)
要約
【課題】操作軸に対する傾倒操作および押下操作を実行した際のプッシュスイッチのクリック感の方向依存性が低減され、かつ、低背化可能な多方向入力装置を提供すること。
【解決手段】多方向入力装置1は、第1の回動部材81および第2の回動部材82と、第1の回動部材81および第2の回動部材82を回動させ、さらに、下方に変位する操作軸83と、操作軸83を弾性的に保持する保持機構7と、操作軸83の真下に位置するよう設けられたプッシュスイッチ4と、プッシュスイッチ4を押圧するアクチュエーター51と、を備えている。保持機構7は、操作軸83を下方から支持し、さらに、アクチュエーター51と係合する昇降スライダー72を備えている。操作軸83は、接続部832の下側部分から外側に向かって延伸する円環状のスカート部835と、スカート部835を貫通する貫通孔836と、を備えている。
【選択図】図4
特許請求の範囲
【請求項1】
基板上に固定されたハウジングと、
第1のスリット孔を有し、第1の軸方向回りに回動可能に、前記ハウジングに保持された第1の回動部材と、
第2のスリット孔を有し、前記第1の軸方向と直交する第2の軸方向回りに回動可能に、前記ハウジングに保持された第2の回動部材と、
前記第1のスリット孔および前記第2のスリット孔に挿通され、ユーザーから印加される傾倒操作に応じて、前記第1の回動部材および前記第2の回動部材を回動させ、さらに、前記ユーザーから印加される押下操作に応じて、下方に変位する操作軸と、
前記ハウジング内に設けられ、前記操作軸を中立状態で弾性的に保持する保持機構と、
前記第1の回動部材および前記第2の回動部材のそれぞれの回動角度を検出するための検出機構と、
前記基板上に、前記操作軸の真下に位置するよう設けられたプッシュスイッチと、
前記操作軸と前記プッシュスイッチとの間に設けられ、前記操作軸が下方へ変位した際、前記操作軸によって押下され、前記プッシュスイッチを押圧するアクチュエーターと、を備え、
前記保持機構は、前記基板上に設けられた弾性部材と、前記弾性部材上に載置され、前記操作軸を下方から支持し、さらに、前記アクチュエーターと係合する昇降スライダーと、を備えており、
前記操作軸は、前記ユーザーから前記傾倒操作および前記押下操作が印加される操作部と、前記操作部から下方に向かって直線状に延伸する接続部と、前記接続部の下側部分から外側に向かって延伸する円環状のスカート部と、前記スカート部を貫通する貫通孔と、を備え、
前記操作軸の前記スカート部の下面は、球面形状を有しており、
前記操作軸の前記スカート部の前記下面が、前記昇降スライダーと接触していることを特徴とする多方向入力装置。
続きを表示(約 1,100 文字)
【請求項2】
前記昇降スライダー上には潤滑剤が塗布されており、
前記操作軸の前記スカート部の前記下面と前記昇降スライダーとの間は、前記潤滑剤によって気密に封止されている請求項1に記載の多方向入力装置。
【請求項3】
前記潤滑剤は、グリスまたはオイルである請求項2に記載の多方向入力装置。
【請求項4】
前記操作軸の前記スカート部の前記下面は、前記操作軸の前記接続部の下面よりも下方に位置し、
前記操作軸の前記貫通孔は、前記スカート部の内周面、前記接続部の前記下面、および前記昇降スライダーの上面によって規定される前記スカート部の内部空間内への空気の流入を可能としている請求項1に記載の多方向入力装置。
【請求項5】
前記スカート部の内径は、上方から下方に向かって漸増しており、
前記スカート部の前記内部空間は、テーパー形状を有している請求項4に記載の多方向入力装置。
【請求項6】
前記ユーザーから前記操作軸に対して前記傾倒操作または前記押下操作が印加された際、前記スカート部が前記昇降スライダーを下方に押圧する請求項1に記載の多方向入力装置。
【請求項7】
前記昇降スライダーは、前記操作軸の前記スカート部が載置される板状の本体部と、前記本体部を高さ方向に貫通するよう形成されたガイド孔と、を備えており、
前記アクチュエーターは、前記プッシュスイッチと対向する押圧部と、前記押圧部の上側において、上方に向かって直線状に延伸するガイド軸と、を備え、
前記アクチュエーターの前記ガイド軸が前記昇降スライダーの前記ガイド孔に挿入されている請求項1に記載の多方向入力装置。
【請求項8】
前記昇降スライダーは、前記本体部の上面上に形成された収納凹部をさらに備えており、
前記操作軸の前記スカート部が前記収納凹部の底面上に載置されている請求項7に記載の多方向入力装置。
【請求項9】
前記第1の回動部材は、高さ方向と直交する方向に前記第1のスリット孔を横断するシャフトを備えており、
前記操作軸は、前記接続部を前記高さ方向と直交する前記方向に貫通し、前記高さ方向に長尺な長孔と、を備えており、
前記操作軸の前記長孔の前記高さ方向の幅は、前記第1の回動部材の前記シャフトの径よりも大きく、
前記第1の回動部材の前記シャフトが前記操作軸の前記長孔に挿通されることにより、前記操作軸が前記長孔の長尺方向に沿って変位可能に前記第1の回動部材によって支持されている請求項1に記載の多方向入力装置。
発明の詳細な説明
【技術分野】
【0001】
本発明は、一般に、多方向入力装置に関し、より具体的には、操作軸に対する傾倒操作および押下操作にそれぞれ応じた方向情報および押圧情報の入力を提供する多方向入力装置に関する。
続きを表示(約 3,500 文字)
【背景技術】
【0002】
従来、ゲーム機器等の電子機器に用いられる多方向入力装置として、操作軸に対する傾倒操作が可能な多方向入力装置が知られている。ジョイスティックまたはスティックコントローラーと呼ばれるこの種の多方向入力装置では、ユーザーは、操作軸を中立状態から任意の方向に向けて傾倒させることにより、操作軸に対する傾倒操作に応じた方向情報を入力することができる。
【0003】
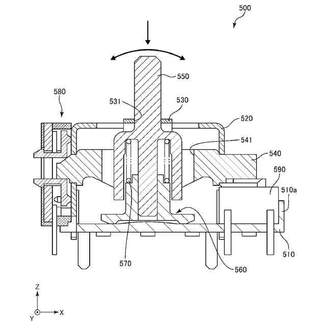
例えば、特許文献1は、図1に示されている多方向入力装置500を開示している。多方向入力装置500は、底板510上に固定されるハウジング520と、第1の軸方向(Y方向)回りに回動可能に、ハウジング520に保持された第1の回動部材530と、第1の軸方向と直交する第2の軸方向(X方向)回りに回動可能に、ハウジング520に保持された第2の回動部材540と、第1の回動部材530のスリット孔531および第2の回動部材540のスリット孔541に挿通され、ユーザーから印加される傾倒操作に応じて、第1の回動部材530および第2の回動部材540を回動させると共に、ユーザーからの押下操作に応じて下方に変位可能な操作軸550と、操作軸550の下端部に、操作軸550の軸方向に沿って移動可能に設けられた作動部材560と、操作軸550と作動部材560との間に設けられたコイルバネ570と、第1の回動部材530および第2の回動部材540の回動角度を検出するためにハウジング520上に設けられたセンサー580と、底板510の一方の側壁から外側に突出する部品取り付け部510a内に設けられたプッシュスイッチ590と、を備えている。
【0004】
ユーザーから操作軸550に対して任意の方向への傾倒操作が印加されると、操作軸550の傾倒動作に伴い、第1の回動部材530および第2の回動部材540が回動する。第1の回動部材530および第2の回動部材540の回動角度は、センサー580によって検出され、操作軸550に対するユーザーの傾倒操作に応じた方向情報の入力が提供される。また、ユーザーから操作軸550に対して押下操作が印加されると、操作軸550と係合している第2の回動部材540が下方に変位し、第2の回動部材540がプッシュスイッチ590を押下する。これにより、操作軸550に対するユーザーの押下操作に応じた押下情報の入力が提供される。
【0005】
ユーザーは、操作軸550に対して、傾倒操作と押下操作を同時に印加する場合がある。多方向入力装置500がゲーム機器のコントローラーにおいて用いられる場合、操作軸550の傾倒方向によって、プッシュスイッチ590のクリック感が変化しないことが求められる。しかしながら、多方向入力装置500においては、プッシュスイッチ590が底板510の一方の側壁から外側に突出する部品取り付け部510a内に設けられている。そのため、操作軸550をプッシュスイッチ590の側へ傾倒させた状態で操作軸550を押下した場合には、良好なクリック感が得られる。一方、操作軸550をプッシュスイッチ590の反対側へ傾倒させた状態で操作軸550を押下した場合には、十分なクリック感を得ることができない。
【0006】
このような傾倒操作および押下操作を印加した際のクリック感の方向性依存性という問題に対し、特許文献2は、図2に示されている多方向入力装置600を開示している。多方向入力装置600は、基板上に固定されたハウジング610と、第1の回動軸(X方向)回りに回動可能に、ハウジング610に保持された第1の回動部材620と、第1の回動軸と直交する第2の回動軸(Y方向)回りに回動可能に、ハウジング610に保持された第2の回動部材630と、ユーザーからの傾倒操作に応じて傾倒し、さらに、ユーザーからの押下操作に応じて下方に変位可能な操作軸640と、ハウジング610内において操作軸640を中立状態で弾性的に保持する保持機構650と、操作軸640の真下に位置するよう基板上に設けられたプッシュスイッチ700と、を備えている。保持機構650は、コイルバネ660と、コイルバネ660上に積置され、操作軸640を下方から支持する昇降スライダー670と、を備えている。
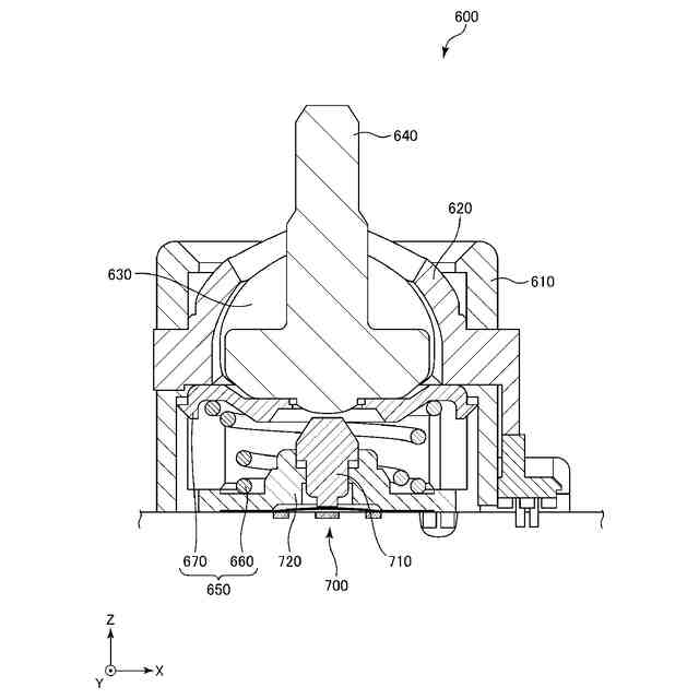
【0007】
多方向入力装置600の構成では、プッシュスイッチ700を操作軸640の真下に位置させることにより、操作軸640に対して傾倒操作および押下操作を印加した際のプッシュスイッチ700のクリック感の方向依存性を大幅に低減している。しかしながら、多方向入力装置600の構成では、操作軸640が傾斜している場合であっても、プッシュスイッチ700に対して垂直な押圧力を印加することを可能とするために、操作軸640とプッシュスイッチ700との間に、アクチュエーター710とアクチュエーター710の傾きを防止するスペーサー720を設ける必要がある。アクチュエーター710は高さ方向に変位可能にスペーサー720によって支持されている。さらに、アクチュエーター710とスペーサー720との係合によって、アクチュエーター710の傾斜が防止されている。また、アクチュエーター710とスペーサー720との係合によってアクチュエーター710の傾斜を確実に防止するためには、アクチュエーター710およびスペーサー720の高さをある程度確保する必要がある。この結果、操作軸640とプッシュスイッチ700との間に、スペーサー720と、スペーサー720から上方に突出するアクチュエーター710とを配置するスペースを確保しなければならず、多方向入力装置600の高さが増大してしまうという問題があった。
【先行技術文献】
【特許文献】
【0008】
特開2000-305650号公報
特開2004-103253号公報
【発明の概要】
【発明が解決しようとする課題】
【0009】
本発明は、上記従来の問題点を鑑みたものであり、その目的は、操作軸に対する傾倒操作および押下操作を実行した際のプッシュスイッチのクリック感の方向依存性が低減され、かつ、低背化可能な多方向入力装置を提供することにある。
【課題を解決するための手段】
【0010】
このような目的は、以下の(1)によって規定される本発明により達成される。
(1)基板上に固定されたハウジングと、
第1のスリット孔を有し、第1の軸方向回りに回動可能に、前記ハウジングに保持された第1の回動部材と、
第2のスリット孔を有し、前記第1の軸方向と直交する第2の軸方向回りに回動可能に、前記ハウジングに保持された第2の回動部材と、
前記第1のスリット孔および前記第2のスリット孔に挿通され、ユーザーから印加される傾倒操作に応じて、前記第1の回動部材および前記第2の回動部材を回動させ、さらに、前記ユーザーから印加される押下操作に応じて、下方に変位する操作軸と、
前記ハウジング内に設けられ、前記操作軸を中立状態で弾性的に保持する保持機構と、
前記第1の回動部材および前記第2の回動部材のそれぞれの回動角度を検出するための検出機構と、
前記基板上に、前記操作軸の真下に位置するよう設けられたプッシュスイッチと、
前記操作軸と前記プッシュスイッチとの間に設けられ、前記操作軸が下方へ変位した際、前記操作軸によって押下され、前記プッシュスイッチを押圧するアクチュエーターと、を備え、
前記保持機構は、前記基板上に設けられた弾性部材と、前記弾性部材上に載置され、前記操作軸を下方から支持し、さらに、前記アクチュエーターと係合する昇降スライダーと、を備えており、
前記操作軸は、前記ユーザーから前記傾倒操作および前記押下操作が印加される操作部と、前記操作部から下方に向かって直線状に延伸する接続部と、前記接続部の下側部分から外側に向かって延伸する円環状のスカート部と、前記スカート部を貫通する貫通孔と、を備え、
前記操作軸の前記スカート部の下面は、球面形状を有しており、
前記操作軸の前記スカート部の前記下面が、前記昇降スライダーと接触していることを特徴とする多方向入力装置。
【発明の効果】
(【0011】以降は省略されています)
この特許をJ-PlatPat(特許庁公式サイト)で参照する
関連特許
個人
フレキシブル電気化学素子
8日前
ローム株式会社
半導体装置
10日前
株式会社ユーシン
操作装置
8日前
日新イオン機器株式会社
イオン源
4日前
株式会社ホロン
冷陰極電子源
2日前
太陽誘電株式会社
コイル部品
8日前
株式会社GSユアサ
蓄電設備
8日前
オムロン株式会社
電磁継電器
9日前
株式会社GSユアサ
蓄電設備
8日前
ノリタケ株式会社
熱伝導シート
8日前
日東電工株式会社
積層体
9日前
サクサ株式会社
電池の固定構造
8日前
トヨタ自動車株式会社
バッテリ
9日前
トヨタ自動車株式会社
蓄電装置
8日前
株式会社ダイヘン
搬送装置
8日前
日本製紙株式会社
導電性フィルム
9日前
日本製紙株式会社
導電性フィルム
9日前
ベストテック株式会社
装置支持具
8日前
ローム株式会社
半導体装置
10日前
ローム株式会社
半導体装置
10日前
株式会社トクヤマ
シリコンエッチング液
2日前
トヨタ自動車株式会社
電池パック
1日前
古河電気工業株式会社
端子
8日前
SMK株式会社
キートップ及びスイッチ
10日前
ローム株式会社
半導体装置
9日前
トヨタ自動車株式会社
電池パック
1日前
東レエンジニアリング株式会社
実装装置
9日前
株式会社トクヤマ
シリコンエッチング液
2日前
日本電気株式会社
レーザモジュール
9日前
太陽誘電株式会社
コイル部品
9日前
APB株式会社
二次電池モジュール
8日前
APB株式会社
二次電池モジュール
8日前
エイブリック株式会社
半導体集積回路装置
4日前
太陽誘電株式会社
コイル部品
4日前
株式会社半導体エネルギー研究所
二次電池
1日前
太陽誘電株式会社
コイル部品
8日前
続きを見る
他の特許を見る