TOP
|
特許
|
意匠
|
商標
特許ウォッチ
Twitter
他の特許を見る
公開番号
2025148946
公報種別
公開特許公報(A)
公開日
2025-10-08
出願番号
2024049330
出願日
2024-03-26
発明の名称
中空糸膜モジュール、中空糸膜モジュールの運転方法及び中空糸膜モジュールの製造方法
出願人
東レ株式会社
代理人
主分類
B01D
63/02 20060101AFI20251001BHJP(物理的または化学的方法または装置一般)
要約
【課題】熱殺菌及び高濃縮が可能な耐熱性中空糸膜モジュールおよびその運転方法を提供すること。
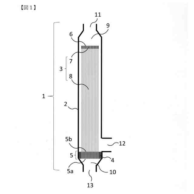
【解決手段】ハウジングの内部に気体透過領域と水透過領域を有する中空糸膜を備える中空糸膜モジュールであり、上記中空糸膜は、ポッティング部材に固定された固定端部と、ポッティング部材で固定されていない非固定端部を備え、上記固定端部において開口しており、かつ上記非固定端部において封止されており、上記ハウジングの一方の端部を上端、他方の端部の下端としたとき、上記固定端部は前記ハウジングの下端側に直接又は封止部材により固定されており、上記ハウジングは、上記固定端部より上端側に位置する上記ハウジング内の空間1と、上記固定端部より下端側に位置する上記ハウジング内の空間2と、を備え、上記ハウジングは、上記空間1と連通し、非固定端部より上端側に位置する第1開口部と、上記空間1と連通し、非固定端部より下端側に位置する第2開口部と、上記空間2と連通する第3開口部と、を備える、中空糸膜モジュール。
【選択図】図1
特許請求の範囲
【請求項1】
ハウジングの内部に気体透過領域と水透過領域を有する中空糸膜を備える中空糸膜モジュールであり、
前記中空糸膜は、
ポッティング部材に固定された固定端部と、ポッティング部材で固定されていない非固定端部を備え、
前記固定端部において開口しており、かつ前記非固定端部において封止されており、
前記ハウジングの一方の端部を上端、他方の端部の下端としたとき、前記固定端部は前記ハウジングの下端側に直接又は封止部材を介して固定されており、
前記ハウジングは、
前記固定端部より上端側に位置する前記ハウジング内の空間1と、前記固定端部より下端側に位置する前記ハウジング内の空間2と、を備え、
前記空間1と連通し、非固定端部より上端側に位置する第1開口部と、前記空間1と連通し、非固定端部より下端側に位置する第2開口部と、前記空間2と連通する第3開口部と、を備える、中空糸膜モジュール。
続きを表示(約 870 文字)
【請求項2】
前記固定端部が封止部材を介して前記ハウジングに固定されている、請求項1に記載の中空糸膜モジュール。
【請求項3】
前記中空糸膜の前記非固定端部に前記気体透過領域がある、請求項1又は2に記載の中空糸膜モジュール。
【請求項4】
前記中空糸膜の全長に対する前記気体透過領域が占める割合が30%未満であり、前記気体透過領域の平均長さが1mm以上である、請求項1又は2に記載の中空糸膜モジュール。
【請求項5】
前記ハウジングが略円筒形であり、前記第2開口部よりも前記非固定端部に近い位置で前記空間1と連通する第4開口部を備える、請求項1又は2に記載の中空糸膜モジュール。
【請求項6】
前記気体透過領域が、親水化液への浸漬後においても液体が透過しない多孔質膜である、請求項1又は2に記載の中空糸膜モジュール。
【請求項7】
前記第1開口部が、前記ハウジングの上端に位置する、請求項1又は2に記載の中空糸膜モジュール。
【請求項8】
請求項1又は2に記載の中空糸膜モジュールを前記固定端部が鉛直下方向に位置するように設置する、中空糸膜モジュールの運転方法。
【請求項9】
前記第1開口部又は前記第2開口部のいずれか一方から原液を供給し、前記原液を供給していない前記第1開口部又は前記第2開口部から濃縮液を排出し、前記第3開口部から透過液を排出するクロスフローろ過運転を行う、請求項8に記載の中空糸膜モジュールの運転方法。
【請求項10】
請求項1又は2に記載の中空糸膜モジュールの製造方法であって、
前記ハウジングの内部に全体が気体透過領域である中空糸膜を備える中空糸膜モジュールを前記第3開口部が鉛直下方向に位置するように設置し、
前記第2開口部から親水化液を供給して、前記中空糸膜の一部を水透過領域に改質する、中空糸膜モジュールの製造方法。
(【請求項11】以降は省略されています)
発明の詳細な説明
【技術分野】
【0001】
本発明は、中空糸膜モジュール、中空糸膜モジュールの運転方法及び中空糸膜モジュールの製造方法に関する。
続きを表示(約 1,500 文字)
【背景技術】
【0002】
医薬品製造及び食品飲料製造の分野においては、有用物を高度に精製・濃縮した液体製品が製造されている。上記製造プロセスには分離膜による精製・濃縮工程があり、分離膜の閉塞、いわゆるファウリングを抑制するために、クロスフローろ過運転が広く採用されている。
【0003】
クロスフローろ過運転とは、分離膜表面に平行な原液の流れ、いわゆるクロスフローを常に作用させ、その内の一部をろ過するという方法である。この方法では、クロスフローの作用により分離膜表面への濁質蓄積を予防しながら運転できるため、ファウリングを大幅に低減することが可能となる。例えば、特許文献1には、クロスフローろ過システムを用いてゼラチン溶液を濃縮する方法が開示されている。
【0004】
クロスフローろ過システムに適応される分離膜モジュールの中でも、外圧式中空糸膜モジュールを用いたろ過システムは、処理水量の大きさ、洗浄の容易さ等から、多くの分野で用いられている。外圧式中空糸膜モジュールには、特許文献2に開示されるような両端固定膜モジュールと特許文献3に開示されるような片端フリー膜モジュールがある。いずれも中空糸膜が固定されている開口端部が鉛直上方向であり、原液は鉛直下方向側からモジュールに導入される。これは中空糸膜モジュール内部の空気を液体に置換する操作、いわゆるエア抜きにおいて中空糸膜の中空部の空気を鉛直上方向に抜くためである。
【0005】
開口端部が鉛直下方向である中空糸膜モジュールとしては、例えば、特許文献4に開示される輸液フィルターがある。これは全量ろ過運転のみ可能な小スケール装置であり、原液導入配管が十分小さいため、表面張力によって原液導入配管部内の空気を鉛直下方向に押し込める前提での構造であるため、医薬品製造及び食品飲料製造の分野で使用する大スケール装置としては実用的ではない。
【先行技術文献】
【特許文献】
【0006】
特表2021-516685号公報
特開2023-33334号公報
特開2022-184640号公報
特開平5-42220号公報
【発明の概要】
【発明が解決しようとする課題】
【0007】
有用物を高度に精製・濃縮した液体製品には適切な微生物管理が求められる他、高付加価値化のために高濃縮されていることが好ましい。膜濃縮工程の微生物管理には一般に熱殺菌が実施されるが、熱殺菌を行うごとに膜モジュールを構成する部材へ巨視的または微視的な熱ひずみと熱応力が発生して、弾塑性変形による損傷、いわゆる熱疲労が生じる。特に、中空糸膜がハウジングの両方の端部で固定化されている中空糸膜モジュールにおいては、中空糸膜の長手方向への変形に起因する膜固定部材の熱疲労が課題である。
【0008】
また、中空糸膜がハウジングの上端側の端部のみ固定化されている中空糸膜モジュールにおいてはクロスフローによる膜の非固定端部がせり上がる現象が生じる。特に膜濃縮工程を高濃縮化した際に、原液粘度が増加し上記せり上がりが顕著に生じることが課題である。
【0009】
本発明は、熱殺菌及び高濃縮が可能な耐熱性中空糸膜モジュールおよびその運転方法を提供することを目的とする。
【課題を解決するための手段】
【0010】
上述の課題に対して、発明者らは鋭意検討する中で、気体透過領域を備える中空糸膜モジュールが、耐熱性と高濃縮運転性能を両立できることを見出し、本願の発明に至った。
(【0011】以降は省略されています)
この特許をJ-PlatPat(特許庁公式サイト)で参照する
関連特許
東レ株式会社
防護服
5日前
東レ株式会社
浄水器
23日前
東レ株式会社
複合半透膜
1か月前
東レ株式会社
積層多孔質膜
2か月前
東レ株式会社
積層フィルム
4日前
東レ株式会社
風車ブレード
1か月前
東レ株式会社
積層フィルム
1か月前
東レ株式会社
積層フィルム
3か月前
東レ株式会社
黒色樹脂組成物
9日前
東レ株式会社
加飾用フィルム
9日前
東レ株式会社
光透過性表皮材
4日前
東レ株式会社
多孔質炭素シート
1か月前
東レ株式会社
多層積層フィルム
25日前
東レ株式会社
不織布の製造装置
3日前
東レ株式会社
遮熱性アクリル繊維
10日前
東レ株式会社
中空糸膜モジュール
9日前
東レ株式会社
マルチフィラメント
3か月前
東レ株式会社
溶融紡糸口金パック
10日前
東レ株式会社
繊維断面の検査方法
10日前
東レ株式会社
サンドイッチ構造体
1か月前
東レ株式会社
合成繊維の巻取装置
2か月前
東レ株式会社
織物および繊維製品
2か月前
東レ株式会社
熱硬化性樹脂組成物
1か月前
東レ株式会社
フィルムの製造方法
3か月前
東レ株式会社
フィルムの製造方法
3か月前
東レ株式会社
テーパ付き円筒部材
4日前
東レ株式会社
太陽電池モジュール
4日前
東レ株式会社
引抜成形品の製造方法
1か月前
東レ株式会社
複合成形体の製造方法
23日前
東レ株式会社
フィルムの製造方法。
2か月前
東レ株式会社
ガス拡散層の製造方法
1か月前
東レ株式会社
ポリエステルフィルム
3か月前
東レ株式会社
ポリエステルフィルム
17日前
東レ株式会社
ポリプロピレンフィルム
9日前
東レ株式会社
ポリオレフィン微多孔膜
2か月前
東レ株式会社
霧化状活性液体供給装置
1か月前
続きを見る
他の特許を見る