TOP
|
特許
|
意匠
|
商標
特許ウォッチ
Twitter
他の特許を見る
公開番号
2025147294
公報種別
公開特許公報(A)
公開日
2025-10-07
出願番号
2024047502
出願日
2024-03-25
発明の名称
業務支援装置、業務支援方法、及び、プログラム
出願人
日本電気株式会社
代理人
個人
,
個人
主分類
G06Q
30/06 20230101AFI20250930BHJP(計算;計数)
要約
【課題】 商品の陳列位置の把握を容易にする。
【解決手段】 本開示に係る業務支援装置は、品出しする商品を特定するための商品特定用情報を用いて、品出しする商品を特定する商品特定手段と、特定された商品の陳列位置を特定する商品位置特定手段と、店員端末が撮影した棚の画像に商品の陳列位置を指示する情報を重畳して表示するための表示制御情報を、店員端末に出力する出力手段と、を備える。
【選択図】 図1
特許請求の範囲
【請求項1】
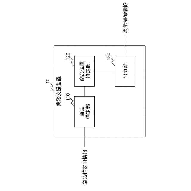
品出しする商品を特定するための商品特定用情報を用いて、品出しする前記商品を特定する商品特定手段と、
特定された前記商品の陳列位置を特定する商品位置特定手段と、
店員端末が撮影した棚の画像に前記商品の陳列位置を指示する情報を重畳して表示するための表示制御情報を、前記店員端末に出力する出力手段と、
を備える業務支援装置。
続きを表示(約 1,100 文字)
【請求項2】
前記商品の陳列位置を指示する情報は、前記商品を陳列するフェイス数を示す情報を含む、
請求項1に記載の業務支援装置。
【請求項3】
前記店員端末が撮影した棚が前記商品を陳列する棚とは異なる場合に、前記出力手段は、異なる棚であることを示すアラートを出力するためのアラート情報を、前記店員端末に出力する、
請求項1又は2に記載の業務支援装置。
【請求項4】
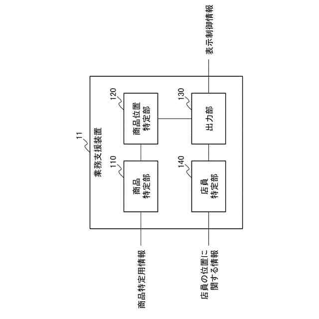
店員の位置を特定する店員特定手段をさらに備え、
店員の位置が前記商品を陳列する棚の前とは異なる位置の場合に、前記出力手段は、店員が前記商品を陳列する棚とは異なる位置にいることを示すアラートを出力するためのアラート情報を、前記店員端末に出力する、
請求項1又は2に記載の業務支援装置。
【請求項5】
前記店員特定手段は、店員が向いている方向を特定し、
店員の向いている方向が前記商品を陳列する棚の方向とは異なる方向の場合に、前記出力手段は、店員が前記商品を陳列する棚の方向とは異なる方向を向いていることを示すアラートを出力するためのアラート情報を、前記店員端末に出力する、
請求項4に記載の業務支援装置。
【請求項6】
前記出力手段は、特定された店員の位置に基づいて、表示制御情報を変更する、
請求項5に記載の業務支援装置。
【請求項7】
前記出力手段は、前記商品を陳列する棚に関する業務指示の情報を、前記店員端末に出力する、
請求項1又は2に記載の業務支援装置。
【請求項8】
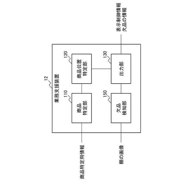
棚の画像を用いて棚における欠品を検知する欠品検知手段をさらに備え、
欠品が検知された場合、前記出力手段は、欠品を示す情報を表示するための表示制御情報を、前記店員端末に出力する、
請求項1又は2に記載の業務支援装置。
【請求項9】
品出しする商品を特定するための商品特定用情報を用いて、品出しする前記商品を特定し、
特定された前記商品の陳列位置を特定し、
店員端末が撮影した棚の画像に前記商品の陳列位置を指示する情報を重畳して表示するための表示制御情報を、前記店員端末に出力する、
業務支援方法。
【請求項10】
品出しする商品を特定するための商品特定用情報を用いて、品出しする前記商品を特定する処理と、
特定された前記商品の陳列位置を特定する処理と、
店員端末が撮影した棚の画像に前記商品の陳列位置を指示する情報を重畳して表示するための表示制御情報を、前記店員端末に出力する処理と、
をコンピュータに実行させるプログラム。
発明の詳細な説明
【技術分野】
【0001】
本開示は、業務支援装置、業務支援方法、及び、プログラムに関する。
続きを表示(約 1,300 文字)
【背景技術】
【0002】
特許文献1には、店員が撮影した陳列棚の画像に基づいて、陳列棚に陳列された商品に対応するように棚割情報を変更する技術が開示されている。
【先行技術文献】
【特許文献】
【0003】
国際公開第2023/080239号
【発明の概要】
【発明が解決しようとする課題】
【0004】
店員が商品を品出しする場合、店員は、棚割情報に応じた商品の陳列位置を把握することが必要である。しかし、ドラッグストア及びスーパーマーケットなどでは、商品の種類が多く、商品を陳列する棚の数も多い。そのため、店員は、商品の陳列位置を把握することが容易ではない。
【0005】
本開示の目的は、商品の陳列位置の把握を容易にする業務支援装置などを提供することにある。
【課題を解決するための手段】
【0006】
本開示の一形態における業務支援装置は、品出しする商品を特定するための商品特定用情報を用いて、品出しする商品を特定する商品特定手段と、特定された商品の陳列位置を特定する商品位置特定手段と、店員端末が撮影した棚の画像に商品の陳列位置を指示する情報を重畳して表示するための表示制御情報を、店員端末に出力する出力手段と、を備える。
【0007】
本開示の一形態における業務支援方法は、品出しする商品を特定するための商品特定用情報を用いて、品出しする商品を特定し、特定された商品の陳列位置を特定し、店員端末が撮影した棚の画像に商品の陳列位置を指示する情報を重畳して表示するための表示制御情報を、店員端末に出力する。
【0008】
本開示の一形態におけるプログラムは、品出しする商品を特定するための商品特定用情報を用いて、品出しする商品を特定する処理と、特定された商品の陳列位置を特定する処理と、店員端末が撮影した棚の画像に商品の陳列位置を指示する情報を重畳して表示するための表示制御情報を、店員端末に出力する処理と、をコンピュータに実行させる。
【発明の効果】
【0009】
本開示によれば、商品の陳列位置の把握を容易にするとの効果を奏することができる。
【図面の簡単な説明】
【0010】
業務支援装置の構成の一例を示すブロック図である。
店員端末における商品の陳列位置の表示の一例を示す図である。
業務支援装置の動作の一例を示すフロー図である。
店員の位置などを用いる業務支援装置の構成の一例を示すブロック図である。
店員端末における異なる棚を示す表示の一例を示す図である。
欠品を検知する業務支援装置の構成の一例を示すブロック図である。
業務支援装置のハードウェアの一例を示すブロック図である。
業務支援装置を利用する業務支援システムの一例を示すブロック図である。
【発明を実施するための形態】
(【0011】以降は省略されています)
この特許をJ-PlatPat(特許庁公式サイト)で参照する
関連特許
日本電気株式会社
光集積回路素子
2日前
日本電気株式会社
超伝導量子回路装置
3日前
日本電気株式会社
システム、装置及び方法
3日前
日本電気株式会社
情報処理装置、制御方法及び記憶媒体
3日前
日本電気株式会社
追跡支援装置、追跡支援方法及びプログラム
2日前
日本電気株式会社
情報処理装置、計算方法、およびプログラム
3日前
日本電気株式会社
情報処理装置、提示方法、およびプログラム
3日前
日本電気株式会社
追跡支援装置、追跡支援方法及びプログラム
2日前
日本電気株式会社
原子発振器、制御方法、制御装置、プログラム
3日前
日本電気株式会社
情報処理装置、情報処理方法、及び、プログラム
3日前
日本電気株式会社
セルロース系樹脂組成物及びこれを用いた成形体
2日前
日本電気株式会社
情報処理装置、情報処理方法及び情報処理プログラム
3日前
日本電気株式会社
健康改善支援装置、健康改善支援方法及びプログラム
2日前
日本電気株式会社
情報処理装置、情報処理方法及び情報処理プログラム
3日前
日本電気株式会社
不動産取引支援装置、不動産取引支援方法、及びプログラム
3日前
日本電気株式会社
情報処理システム、情報処理方法、及び情報処理プログラム
2日前
日本電気株式会社
不動産取引支援装置、不動産取引支援方法、及びプログラム
3日前
日本電気株式会社
画像処理装置、情報処理装置、画像処理方法、及びプログラム
2日前
日本電気株式会社
情報処理装置、情報処理システム、情報処理方法、プログラム
3日前
日本電気株式会社
情報処理装置、情報処理システム、情報処理方法及びプログラム
3日前
日本電気株式会社
衛星間光通信における光通信装置およびドップラシフト補償方法
2日前
日本電気株式会社
情報処理装置、情報管理システム、情報処理方法、およびプログラム
2日前
日本電気株式会社
情報処理装置、推論モデルの生成方法、推論方法、及び推論プログラム
2日前
日本電気株式会社
コンテンツ生成装置、コンテンツ生成方法、及びコンテンツ生成プログラム
2日前
個人
工程設計支援装置
1か月前
個人
地球保全システム
11日前
個人
QRコードの彩色
2日前
個人
フラワーコートA
2か月前
個人
為替ポイント伊達夢貯
1か月前
個人
冷凍食品輸出支援構造
1か月前
個人
残土処理システム
4日前
個人
表変換編集支援システム
1か月前
個人
携帯情報端末装置
1か月前
個人
知的財産出願支援システム
5日前
個人
結婚相手紹介支援システム
1か月前
個人
知財出願支援AIシステム
1か月前
続きを見る
他の特許を見る