TOP
|
特許
|
意匠
|
商標
特許ウォッチ
Twitter
他の特許を見る
公開番号
2025146825
公報種別
公開特許公報(A)
公開日
2025-10-03
出願番号
2025048495
出願日
2025-03-24
発明の名称
ヘッドホン
出願人
安克創新科技股フン有限公司
代理人
個人
,
個人
,
個人
主分類
H04R
1/10 20060101AFI20250926BHJP(電気通信技術)
要約
【課題】薄型軽量を実現するヘッドホンを提供する。
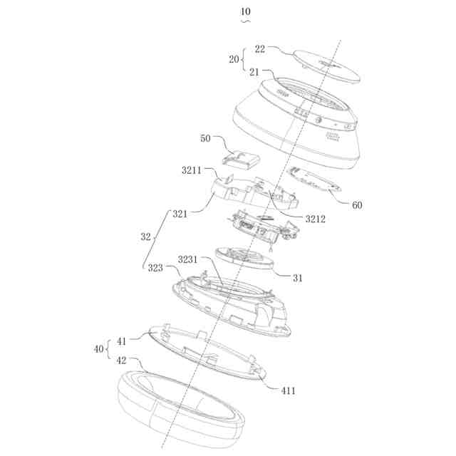
【解決手段】ヘッドホンは、ヘッドバンドと、ヘッドバンドの両端にそれぞれ接続された2つのヘッドホンユニット10と、を備える。2つのヘッドホンユニット10のそれぞれは、ヘッドホンハウジング20、スピーカーハウジング32、イヤーパッド42及び電池50を含み、2つのヘッドホンユニット10のうちの少なくとも一方は、回路基板60をさらに含む。イヤーパッド42は、ヘッドホンハウジング20に接続される。スピーカーハウジング32の表面とヘッドホンハウジング20の内壁面とは、組み合わせられて取付キャビティを囲む。スピーカーハウジング32の表面には、第1取付面3211及び第2取付面3212が形成される。第1取付面3211は、電池50に接続され、第2取付面3212は、回路基板60に接続される。
【選択図】図2
特許請求の範囲
【請求項1】
ヘッドバンドと、
前記ヘッドバンドの両端にそれぞれ接続され、それぞれがヘッドホンハウジング、スピーカーアセンブリ、イヤーパッドアセンブリ、及び電池を含む2つのヘッドホンユニットであって、少なくとも1つの前記ヘッドホンユニットは、回路基板をさらに含む、2つのヘッドホンユニットと、
を含み、
前記ヘッドホンハウジングは、前記ヘッドバンドに接続され、
前記イヤーパッドアセンブリは、前記ヘッドホンハウジングに接続され、ユーザの耳部の外側をカバーし、
前記スピーカーアセンブリは、前記ヘッドホンハウジング内に設けられ、スピーカー本体及びスピーカーハウジングを含み、前記スピーカーハウジングは、前記ヘッドホンハウジングに接続され、前記スピーカー本体は、前記スピーカーハウジングに接続され、
前記スピーカーハウジングの前記イヤーパッドアセンブリとは反対側の表面と前記ヘッドホンハウジングの内壁面とは、組み合わせられて取付キャビティを囲み、前記スピーカーハウジングの前記表面には、第1取付面及び第2取付面が形成され、前記第1取付面は、前記電池に接続され、前記第2取付面は、前記回路基板に接続され、
前記第1取付面及び前記第2取付面は、前記ヘッドホンユニットの厚さ方向に垂直な方向に配列され、前記第1取付面及び前記第2取付面のうちの少なくとも一方は、他方から離れる方向において、前記イヤーパッドアセンブリとの間の距離が小さくなるように設けられる、ことを特徴とするヘッドホン。
続きを表示(約 1,000 文字)
【請求項2】
前記第1取付面には、位置制限部材がさらに接続され、前記位置制限部材は、前記第1取付面と連携して取付溝を囲み、
前記電池は、前記取付溝内に嵌設される、ことを特徴とする請求項1に記載のヘッドホン。
【請求項3】
前記電池と前記第1取付面との間に接着層がさらに設けられる、ことを特徴とする請求項1に記載のヘッドホン。
【請求項4】
前記回路基板の少なくとも一部は、前記電池の前記イヤーパッドアセンブリとは反対側に位置する、ことを特徴とする請求項1に記載のヘッドホン。
【請求項5】
前記スピーカー本体は、前記イヤーパッドアセンブリに向かう放音面を含み、
前記第1取付面は、前記第2取付面から離れる方向において、前記イヤーパッドアセンブリとの間の距離が小さくなるように設けられ、前記第1取付面は、前記放音面と平行である、ことを特徴とする請求項1~4のいずれか一項に記載のヘッドホン。
【請求項6】
前記イヤーパッドアセンブリは、前記スピーカーハウジングに接続されたイヤーパッドフレームを含み、前記イヤーパッドフレームは、前記スピーカーハウジングに向かう接続面を有し、前記接続面と前記放音面とは、夾角をなして設けられる、ことを特徴とする請求項5に記載のヘッドホン。
【請求項7】
前記接続面と前記放音面との間の夾角は、5度以上かつ15度以下である、ことを特徴とする請求項6に記載のヘッドホン。
【請求項8】
前記スピーカーハウジングは、取り外し可能に接続されたスピーカーバックカバー及びスピーカーフレームを含み、前記スピーカーフレームは、前記ヘッドホンハウジングに接続され、前記スピーカーバックカバーは、前記スピーカーフレームの前記イヤーパッドアセンブリとは反対側にカバーされ、かつ前記スピーカーフレームとともに収容キャビティを囲み、
前記スピーカー本体は、前記収容キャビティ内に設けられ、前記スピーカーバックカバーは、前記第1取付面及び前記第2取付面を有する、ことを特徴とする請求項6に記載のヘッドホン。
【請求項9】
前記スピーカーフレームの前記収容キャビティ内での部分には、位置制限溝が形成され、前記スピーカー本体は、前記位置制限溝内に嵌設される、ことを特徴とする請求項8に記載のヘッドホン。
【請求項10】
前記接続面は、前記第2取付面と平行に設けられる、ことを特徴とする請求項6に記載のヘッドホン。
発明の詳細な説明
【技術分野】
【0001】
本願は、イヤホンの技術分野に関し、特にヘッドホンに関する。
続きを表示(約 2,500 文字)
【背景技術】
【0002】
関連技術において、ヘッドホンは、一般的に、単一のヘッドホンユニット内に1つの電池が取り付けられ、ヘッドホンが比較的長い航続能力を有することを保証するために、電池は、一般的に、十分な電池容量を得るために体積が大きいため、該体積が大きい電池は、ヘッドホンユニットにおける多くの内部空間を占め、ヘッドホンユニットの内部の他の電子部品と電池とをヘッドホンユニットのハウジング内に積み重ねた形態でレイアウトする必要があり、このような形態により、ヘッドホンのヘッドホンユニットの全体構造における厚さ寸法が大きく、装着して使用することに不利である。
【発明の概要】
【0003】
本願の実施例に係るヘッドホンでは、ヘッドホンの薄型軽量を実現することができる。
【0004】
本願の実施例に係るヘッドホンは、ヘッドバンドと、前記ヘッドバンドの両端にそれぞれ接続され、それぞれがヘッドホンハウジング、スピーカーアセンブリ、イヤーパッドアセンブリ、及び電池を含む2つのヘッドホンユニットであって、少なくとも1つの前記ヘッドホンユニットは、回路基板をさらに含む、2つのヘッドホンユニットと、を含み、前記ヘッドホンハウジングは、前記ヘッドバンドに接続され、前記イヤーパッドアセンブリは、前記ヘッドホンハウジングに接続され、ユーザの耳部の外側をカバーし、前記スピーカーアセンブリは、前記ヘッドホンハウジング内に設けられ、スピーカー本体及びスピーカーハウジングを含み、前記スピーカーハウジングは、前記ヘッドホンハウジングに接続され、前記スピーカー本体は、前記スピーカーハウジングに接続され、前記スピーカーハウジングの前記イヤーパッドアセンブリとは反対側の表面と前記ヘッドホンハウジングの内壁面とは、組み合わせられて取付キャビティを囲み、前記スピーカーハウジングの前記表面には、第1取付面及び第2取付面が形成され、前記第1取付面は、前記電池に接続され、前記第2取付面は、前記回路基板に接続され、前記第1取付面及び前記第2取付面は、前記ヘッドホンユニットの厚さ方向に垂直な方向に配列され、前記第1取付面及び前記第2取付面のうちの少なくとも一方は、他方から離れる方向において、前記イヤーパッドアセンブリとの間の距離が小さくなるように設けられる。
【0005】
本願の実施例に係るヘッドホンでは、ヘッドホンユニットは、ヘッドホンハウジングが設けられることによってその内部の様々な部品を保護するとともに、粉塵、水垢などの不純物がヘッドホンユニットの内部に入って部品の損傷を引き起こすことを防止し、かつスピーカーハウジングのイヤーパッドアセンブリとは反対側の表面とヘッドホンハウジングの内壁面とは、組み合わせられて、電池、回路基板などの部品を収容する取付キャビティを囲む。イヤーパッドアセンブリは、ヘッドホンハウジングに接続され、装着者の耳に接触してユーザの耳部の外側に覆われることにより、装着者の耳介に対するヘッドホンユニットの圧迫感を軽減し、装着者が該ヘッドホンを装着したときの快適性を向上させる。
【0006】
本願では、2つのヘッドホンユニットの両方に電池がさらに設けられ、理解できるように、ヘッドホンの従来の設計と同様の航続能力を満たす場合、2つの電池を設けることにより、各電池の体積及び重量が必然的に減少し、また、本願は、さらに、スピーカーハウジングの上記表面に第1取付面及び第2取付面が形成され、第1取付面及び第2取付面がヘッドホンユニットの厚さ方向に垂直な方向に配列され、かつ第1取付面及び第2取付面の少なくとも一方は、他方から離れる方向において、イヤーパッドアセンブリとの間の距離が小さくなるように設けられることにより、スピーカーハウジングの裏面には、ヘッドホンユニットの厚さ方向に勾配をもって設けられた取付空間が形成され、電池は、その体積が減少した場合、回路基板とともにヘッドホンユニットの径方向に並列に配置されることを実現することができ、以上から分かるように、本願の構造レイアウト形態は、従来の設計における電池と回路基板とがヘッドホンユニットの厚さ方向に簡単に積み重ねられた形態に比べて、電池が偏って取り付けられ、かつ回路基板とヘッドホンユニットの径方向に並列に配置されるため、取付キャビティ内の空間を十分に利用することにより、ヘッドホンユニットの厚さ及び全体の体積を減少させ、ヘッドホンをより軽薄にし、製品の造形の肥大化を回避することができ、装着して使用することに有利である。
【0007】
本願の実施例又は従来技術における技術手段をより明確に説明するために、以下、実施例又は従来技術の説明に必要な図面を簡単に説明するが、明らかに、以下の説明における図面は本願のいくつかの実施例に過ぎず、当業者であれば、創造的な労働をせずにこれらの図面に示す構造に基づいて他の図面を得ることもできる。
【図面の簡単な説明】
【0008】
本願のヘッドホンの一実施例に係るヘッドホンユニットの概略図である。
図1に示すヘッドホンにおけるヘッドホンユニットの分解図である。
図2に示すヘッドホンユニットの断面図である。
図2に示すヘッドホンユニットの他の断面図である。
図2に示すヘッドホンユニットのスピーカーアセンブリの分解図である。
図2に示すヘッドホンユニットのイヤーパッドアセンブリの概略構成図である。
【発明を実施するための形態】
【0009】
図面を参照しながら、本願の目的の実現、機能的特徴及び利点を実施例と組み合わせてさらに説明する。
【0010】
本願の目的、技術手段及び利点をより明確にするために、以下、図面を参照しながら本願の実施例の形態をさらに詳細に説明する。
(【0011】以降は省略されています)
この特許をJ-PlatPat(特許庁公式サイト)で参照する
関連特許
個人
店内配信予約システム
2か月前
サクサ株式会社
中継装置
3か月前
WHISMR合同会社
収音装置
1か月前
サクサ株式会社
中継装置
2日前
サクサ株式会社
中継装置
3日前
キヤノン株式会社
撮像装置
1か月前
キヤノン株式会社
電子機器
2か月前
アイホン株式会社
電気機器
24日前
日本精機株式会社
画像投映システム
3か月前
サクサ株式会社
無線通信装置
2日前
サクサ株式会社
無線通信装置
2日前
キヤノン電子株式会社
画像読取装置
1か月前
サクサ株式会社
無線システム
1日前
株式会社リコー
画像形成装置
1か月前
株式会社リコー
画像形成装置
2か月前
個人
ワイヤレスイヤホン対応耳掛け
22日前
キヤノン電子株式会社
モバイル装置
3か月前
株式会社リコー
画像形成装置
1か月前
株式会社ニコン
撮像装置
2か月前
個人
発信機及び発信方法
1日前
キヤノン株式会社
撮像システム
24日前
ブラザー工業株式会社
読取装置
1か月前
株式会社松平商会
携帯機器カバー
1か月前
有限会社フィデリックス
マイクロフォン
8日前
国立大学法人電気通信大学
小型光学装置
1か月前
DXO株式会社
情報処理システム
2か月前
大日本印刷株式会社
写真撮影装置
23日前
株式会社JVCケンウッド
通信システム
8日前
沖電気工業株式会社
画像形成装置
4日前
パテントフレア株式会社
超高速電波通信
1か月前
キヤノン電子株式会社
シート材搬送装置
2か月前
株式会社小糸製作所
画像照射装置
1か月前
沖電気工業株式会社
画像形成装置
12日前
パテントフレア株式会社
水中電波通信法
2か月前
日本無線株式会社
無線通信システム
1か月前
株式会社国際電気
遠隔監視システム
1か月前
続きを見る
他の特許を見る