TOP
|
特許
|
意匠
|
商標
特許ウォッチ
Twitter
他の特許を見る
公開番号
2025146630
公報種別
公開特許公報(A)
公開日
2025-10-03
出願番号
2024204132
出願日
2024-11-22
発明の名称
通知装置、通知方法、及びプログラム
出願人
株式会社JVCケンウッド
代理人
個人
主分類
G08B
25/00 20060101AFI20250926BHJP(信号)
要約
【課題】対象者の異変や不具合を適切にユーザに通知することができる通知装置、通知方法、及びプログラムを提供する。
【解決手段】
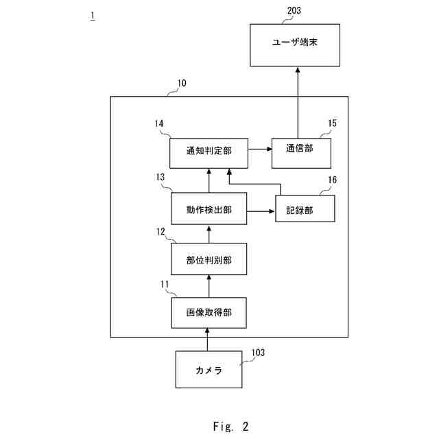
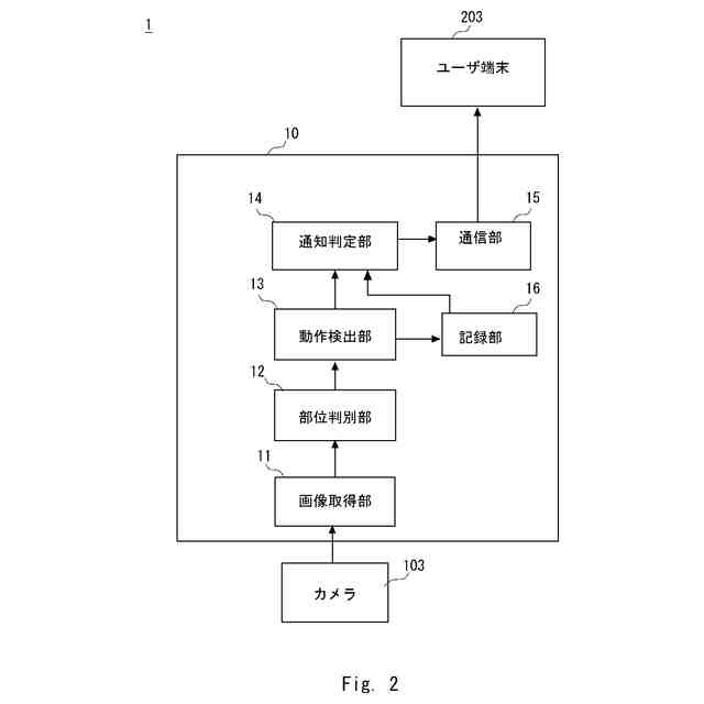
本実施の形態にかかる通知装置10は、撮像画像を取得する画像取得部11と、撮像画像に基づいて、対象者の部位を判別する部位判別部12と、対象者の部位の動きに基づいて、繰り返し動作を検出する動作検出部と、繰り返し動作の検出結果に基づいて、対象者に対応付けられたユーザに通知を行うか否かを判定する通知判定部14と、通知判定部14の判定結果に基づいて、通知を行う通信部15と、を備えている。
【選択図】図2
特許請求の範囲
【請求項1】
対象者を撮像した撮像画像を取得する画像取得部と、
前記撮像画像に基づいて、前記対象者の部位を判別する部位判別部と、
前記対象者の判別された前記部位の動きに基づいて、繰り返し動作を検出する動作検出部と、
前記繰り返し動作の検出結果に基づいて、前記対象者に対応付けられたユーザに通知を行うか否かを判定する通知判定部と、
前記通知判定部の判定結果に基づいて、通知を行う通信部と、を備えた通知装置。
続きを表示(約 900 文字)
【請求項2】
前記通知判定部は、前記前記繰り返し動作の継続時間に基づいて、前記通知を行うか否かを判定する請求項1に記載の通知装置。
【請求項3】
前記通知判定部は、前記繰り返し動作の頻度に基づいて、前記通知判定部が前記通知を行うか否かを判定する請求項1、又は2に記載の通知装置。
【請求項4】
前記動作検出部は、前記対象者の対象部位に対する所定部位の位置変化に基づいて、前記対象部位に対する前記所定部位の繰り返し動作を検出する請求項1に記載の通知装置。
【請求項5】
前記動作検出部は、前記対象者が所定方向への動作中において、所定部位の減速を検出して検出回数を計数する請求項1に記載の通知装置。
【請求項6】
前記動作検出部は、前記対象者の顔の部位の動きに基づいて、所定の表情を検出して検出回数を計数する請求項1に記載の通知装置。
【請求項7】
対象者を撮像した撮像画像を取得するステップと、
前記撮像画像に基づいて、前記対象者の部位を判別するステップと、
前記対象者の判別された前記部位の動きに基づいて、繰り返し動作を検出するステップと、
前記繰り返し動作の検出結果に基づいて、前記対象者に対応付けられたユーザに通知を行うか否かを判定するステップと、
判定の結果に基づいて、通知を行うステップと、を通知装置が実行する通知方法。
【請求項8】
コンピュータに対して、通知方法を実行させるためのプログラムであって、
前記通知方法は、
対象者を撮像した撮像画像を取得するステップと、
前記撮像画像に基づいて、前記対象者の部位を判別するステップと、
前記対象者の判別された前記部位の動きに基づいて、繰り返し動作を検出するステップと、
前記繰り返し動作の検出結果に基づいて、前記対象者に対応付けられたユーザに通知を行うか否かを判定するステップと、
判定結果に基づいて、通知を行うステップと、を備えた、
プログラム。
発明の詳細な説明
【技術分野】
【0001】
本開示は、通知装置、通知方法、及びプログラムに関する。
続きを表示(約 1,500 文字)
【背景技術】
【0002】
特許文献1には、被監視対象の安全に供し得るシステムが開示されている。このシステムでは、非監視対象の画像を撮像している。システムは、画像から、被監視対象の所定部位の座標と、他の人物の所定部位の座標を検出する。システムは、非監視対象の右手首又は左手首が他の人物の胸、腰、尻、手、もしくは肩に向けて移動した場合、警告信号を出力する。
【0003】
また、遠隔地にいる老人などを見守る介護システムがある(特許文献2)。特許文献2のシステムでは、カメラの映像を分析して、老人が転倒したか否かを判定している。そして、転倒した場合に通知が行われる。さらに、転倒時間が基準時間を超えている場合、通知が監視者に送信される。
【先行技術文献】
【特許文献】
【0004】
特開2022-55250号公報
特開2010-40017号公報
【発明の概要】
【発明が解決しようとする課題】
【0005】
ところで、遠隔地にいる老人などを見守る見守りサービスがある(特許文献2)。このようなサービスでは、見守りの対象者に重篤な異変等が生じたことに基づいて、監視者に通知を行うものであり、対象者本人や監視者、周囲の人物が意識していないような不具合や、重篤な状態となる前に生じる対象者の変化などの通知を行うものではない。
【0006】
本開示は上記の点に鑑みなされたものであり、対象者の異変や不具合を適切にユーザに通知することができる通知装置、通知方法、及びプログラムを提供することを目的とする。
【課題を解決するための手段】
【0007】
本実施形態にかかる通知装置は、対象者を撮像した撮像画像を取得する画像取得部と、前記撮像画像に基づいて、前記対象者の部位を判別する部位判別部と、前記対象者の判別された部位の動きに基づいて、繰り返し動作を検出する動作検出部と、前記繰り返し動作の検出結果に基づいて、前記対象者に対応付けられたユーザに通知を行うか否かを判定する通知判定部と、前記通知判定部の判定結果に基づいて、通知を行う通信部と、を備えている。
【0008】
本実施形態にかかる通知方法は、対象者を撮像した撮像画像を取得するステップと、前記撮像画像に基づいて、前記対象者の部位を判別するステップと、前記対象者の判別された前記部位の動きに基づいて、繰り返し動作を検出するステップと、前記繰り返し動作の検出結果に基づいて、前記対象者に対応付けられたユーザに通知を行うか否かを判定するステップと、判定の結果に基づいて、通知を行うステップと、を通知装置が実行する通知方法。
【0009】
本実施形態にかかるプログラムは、コンピュータに対して、通知方法を実行させるためのプログラムであって、前記通知方法は、対象者を撮像した撮像画像を取得するステップと、前記撮像画像に基づいて、前記対象者の部位を判別するステップと、前記対象者の判別された前記部位の動きに基づいて、繰り返し動作を検出するステップと、前記繰り返し動作の検出結果に基づいて、前記対象者に対応付けられたユーザに通知を行うか否かを判定するステップと、判定結果に基づいて、通知を行うステップと、を備えている。
【発明の効果】
【0010】
本開示によれば、対象者の異変や不具合を適切にユーザに通知することができる通知装置、通知方法、及びプログラムを提供することができる。
【図面の簡単な説明】
(【0011】以降は省略されています)
この特許をJ-PlatPat(特許庁公式サイト)で参照する
関連特許
日本精機株式会社
路面投影装置
3か月前
日本精機株式会社
警報システム
1か月前
個人
自動電動車椅子
18日前
スズキ株式会社
運転支援装置
1か月前
エムケー精工株式会社
車両誘導装置
1か月前
ニッタン株式会社
検知器
28日前
株式会社国際電気
防災システム
1か月前
ニッタン株式会社
検知器
4日前
ニッタン株式会社
検知器
26日前
ニッタン株式会社
検知器
26日前
個人
防犯に特化したアプリケーション
3か月前
個人
磁気路上での車両の路線離脱防御
7日前
ニッタン株式会社
発信機
3か月前
ニッタン株式会社
発信機
2か月前
ニッタン株式会社
発信機
2か月前
ニッタン株式会社
発信機
3か月前
トヨタ自動車株式会社
車両
2か月前
TOA株式会社
拡声放送システム
3か月前
東京都公立大学法人
液滴検出装置
3か月前
個人
乗り物の移動を支援する方法及び装置
2か月前
株式会社SUBARU
運転支援装置
5日前
株式会社JVCケンウッド
警報装置
3か月前
トヨタ自動車株式会社
サーバ
11日前
大阪瓦斯株式会社
音声出力システム
3日前
日本信号株式会社
異常走行検出装置
11日前
日本信号株式会社
情報提供システム
2か月前
日本信号株式会社
信号情報システム
2か月前
株式会社小糸製作所
移動体検出装置
28日前
株式会社アジラ
データ転送システム
3か月前
株式会社CCT
通信装置及び表示方法
4日前
日本精機株式会社
報知装置及び報知システム
17日前
株式会社小糸製作所
車両検出システム
28日前
三菱自動車工業株式会社
制御システム
3日前
個人
現示内容に関する情報放送機能付き信号機
2か月前
日本信号株式会社
交通信号制御システム
2か月前
トヨタ自動車株式会社
回避動作判別装置
2か月前
続きを見る
他の特許を見る