TOP
|
特許
|
意匠
|
商標
特許ウォッチ
Twitter
他の特許を見る
公開番号
2025146003
公報種別
公開特許公報(A)
公開日
2025-10-03
出願番号
2024046559
出願日
2024-03-22
発明の名称
UAV(Uncrewed Aerial Vehicle)
出願人
シャープ株式会社
代理人
個人
主分類
H04W
60/00 20090101AFI20250926BHJP(電気通信技術)
要約
【課題】5GS (5G System)を利用したUAV (Uncrewed Aerial Vehicle)として動作するUE間、及びUAVとネットワーク間の通信の規格化が推進されている。一方、新たに議論が始まった、特定の周波数バンドの使用が許可されていない区域であるNTZ(No-Transmit Zone)において、NTZに関する情報の送受信や、NTZの区域内に入ったUAV、及びUAVの接続先のネットワーク又は各装置との通信に関連する処理を含む挙動が明確になっていない。
【解決手段】NTZをサポートするネットワーク及びUAVが、NTZのサポートに関する情報、及びNTZに関する情報を適切に送受信し記憶し処理することで、NTZに入ったUAVが主導するモビリティマネジメント手続き及びセッションマネジメント手続きの開始を、ネットワークから受信したNTZに関する情報に基づいて、適切に規制するための手法を提供する。
【選択図】図1
特許請求の範囲
【請求項1】
送受信部と制御部とを備えたUAV(Uncrewed Aerial Vehicle)であって、
前記送受信部は、
NTZ(No-Transmit Zone)をサポートすることを示す能力情報をネットワークに送信し、
NTZ情報を前記ネットワークから受信し、
前記制御部は、前記NTZ内で、登録エリアが切り替わった場合、モビリティ登録更新手続きを開始しない、
ことを特徴とするUAV。
続きを表示(約 780 文字)
【請求項2】
送受信部と制御部とを備えたUAV(Uncrewed Aerial Vehicle)であって、
前記送受信部は、
NTZ(No-Transmit Zone)をサポートすることを示す能力情報をネットワークに送信し、
NTZ情報を前記ネットワークから受信し、
前記制御部は、NTZ内で、定期的登録更新のタイマーが満了した場合、登録更新手続きを開始しない、
ことを特徴とするUAV。
【請求項3】
前記NTZ情報は、前記NTZ内で規制の対象となる周波数バンド、及び/又は前記NTZで規制の対象となるセルID、及び/又は前記NTZで規制の対象となる地理位置エリア、及び/又は前記NTZで規制の対象となるTA(Tracking Area)、及び/又は前記NTZで規制の対象となるRA(Registration Area)を含む、
ことを特徴とする請求項1に記載のUAV。
【請求項4】
送受信部と制御部とを備えたUAV(Uncrewed Aerial Vehicle)であって、
前記送受信部は、
NTZ(No-Transmit Zone)をサポートすることを示す能力情報をネットワークに送信し、
NTZ情報を前記ネットワークから受信し、
前記制御部は、前記UAVがNTZ内にある場合、モビリティマネジメント手続き、及びセッションマネジメント手続きを開始しない、
ことを特徴とするUAV。
【請求項5】
前記制御部は、前記UAVが前記NTZ内にある場合、緊急サービスのためのマネジメント手続き、及び緊急サービスのためのセッションマネジメント手続きを開始する、
ことを特徴とする請求項4に記載のUAV。
発明の詳細な説明
【技術分野】
【0001】
本発明は、UAV(Uncrewed Aerial Vehicle)に関する。
続きを表示(約 3,100 文字)
【背景技術】
【0002】
3GPP(3rd Generation Partnership Project:登録商標)では、第5世代(5G)の移動通信システムである5GS(5G System)のシステムアーキテクチャが検討されており、新しい手続きや新しい機能のサポートするための議論が行われている(非特許文献1~4を参照)。5G規格のRelease 19において、UAV(Uncrewed Aerial Vehicle)間、又はUAVとネットワーク又はシステム間の通信のための新たなアーキテクチャやアーキテクチャの拡張、又は通信や制御のための手続きや制御情報等が検討されている(非特許文献4を参照)。
【先行技術文献】
【非特許文献】
【0003】
3GPP TS 23.501 V18.4.0 (2023-12); 3rd Generation Partnership Project; Technical Specification Group Services and System Aspects; System architecture for the 5G System (5GS); Stage 2 (Release 18)
3GPP TS 23.502 V18.4.0 (2023-12); 3rd Generation Partnership Project; Technical Specification Group Services and System Aspects; Procedures for the 5G System (5GS); Stage 2 (Release 18)
3GPP TS 24.501 V18.5.0 (2023-12); 3rd Generation Partnership Project; Technical Specification Group Core Network and Terminals; Non-Access-Stratum (NAS) protocol for 5G System (5GS); Stage 3; (Release 18)
3GPP TR 23.700-59 V0.2.0 (2024-03); 3rd Generation Partnership Project; Technical Specification Group Services and System Aspects; Study on architecture enhancements of UAS, UAV and UAM; Phase 3 (Release 19)
【発明の概要】
【発明が解決しようとする課題】
【0004】
5GS (5G System)では、多種多様なサービスを提供するために、新たなコアネットワークである5GCN (5G Core Network)が検討されている。5GSが提供するUAV(Uncrewed Aerial Vehicle)間、又はUAVとネットワーク又はシステム間の通信において、特定の周波数バンドの使用が許可されていない区域であるNTZ(No-Transmit Zone)のサポートに関する機能の拡張の検討が進められている。しかしながら、NTZに関する情報の送受信や、NTZの区域内に入ったUAV、及びUAVの接続先のネットワーク又は各装置との通信に関連する処理を含む挙動が明確になっていない。
【0005】
本実施例の一態様は、以上のような事情を鑑みてなされたものであり、その目的は、NTZをサポートするネットワーク及びUAVが、NTZに関する情報を適切に送受信することで、NTZの区域内に入ったUAVがネットワークから受信したNTZに関する情報に基づいて、NTZに入ったUAVが主導するモビリティマネジメント手続き及びセッションマネジメント手続きの開始を適切に規制するための手法を提供することである。
【課題を解決するための手段】
【0006】
本実施例の一態様のUAV(Uncrewed Aerial Vehicle)は、送受信部と制御部とを備えたUAV(Uncrewed Aerial Vehicle)であって、前記送受信部は、NTZ(No-Transmit Zone)をサポートすることを示す能力情報をネットワークに送信し、NTZ情報を前記ネットワークから受信し、前記制御部は、前記NTZ内で、登録エリアが切り替わった場合、モビリティ登録更新手続きを開始しない、ことを特徴とする。本実施例の一態様のUAV(Uncrewed Aerial Vehicle)は、送受信部と制御部とを備えたUAV(Uncrewed Aerial Vehicle)であって、前記送受信部は、NTZ(No-Transmit Zone)をサポートすることを示す能力情報をネットワークに送信し、NTZ情報を前記ネットワークから受信し、前記制御部は、NTZ内で、定期的登録更新のタイマーが満了した場合、登録更新手続きを開始しない、ことを特徴とする。本実施例の一態様のUAV(Uncrewed Aerial Vehicle)は、送受信部と制御部とを備えたUAV(Uncrewed Aerial Vehicle)であって、前記送受信部は、NTZ(No-Transmit Zone)をサポートすることを示す能力情報をネットワークに送信し、NTZ情報を前記ネットワークから受信し、前記制御部は、前記UAVがNTZ内にある場合、モビリティマネジメント手続き、及びセッションマネジメント手続きを開始しない、ことを特徴とする。
【発明の効果】
【0007】
本実施例の一態様によれば、NTZ(No-Transmit Zone)をサポートするネットワーク及びUAV(Uncrewed Aerial Vehicle)が、NTZに関する情報を適切に送受信することで、NTZの区域内に入ったUAVがネットワークから受信したNTZに関する情報に基づいて、NTZ内において、UAVが主導するモビリティマネジメント手続き、及びセッションマネジメント手続きを適切に規制することが可能となる。
【図面の簡単な説明】
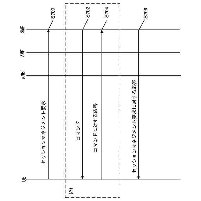
【0008】
移動通信システム(EPS/5GS)の概略を説明する図である。
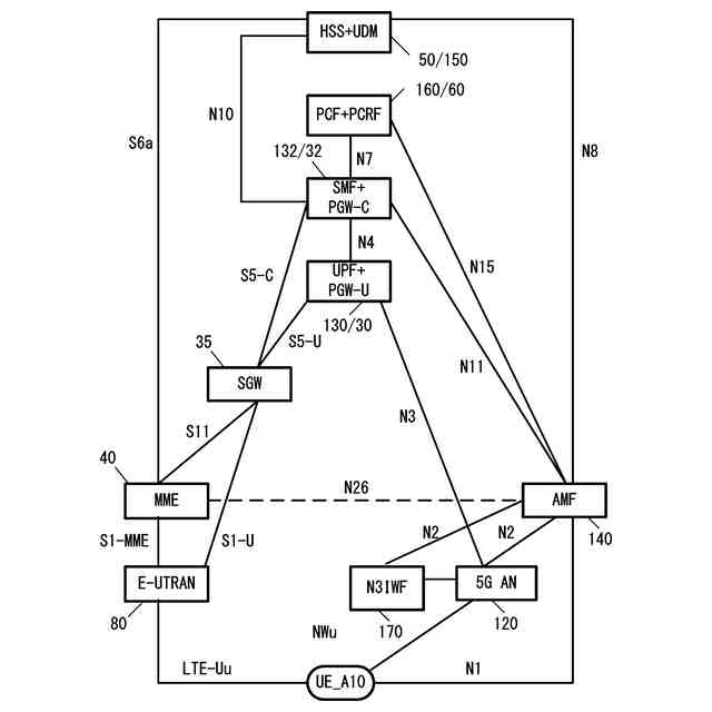
移動通信システム(EPS/5GS)の詳細構成を説明する図である。
UEの装置構成を説明する図である。
5GSにおけるアクセスネットワーク装置(gNB)の構成を説明する図である。
5GSにおけるコアネットワーク装置(AMF/SMF/UPF)の構成を説明する図である。
登録手続きを説明する図である。
セッションマネジメント手続きを説明する図である。
【発明を実施するための形態】
【0009】
以下、図面を参照して本実施例の一態様を実施する為に最良の形態について説明する。尚、本実施形態では1例として、本実施例の一態様を適用した場合の移動通信システムの実施形態について説明する。
【0010】
[1. システムの概要]
まず、図1は、各実施形態で使用される移動通信システム1の概略を説明する為の図であり、図2は、その移動通信システム1の詳細構成を説明する為の図である。
(【0011】以降は省略されています)
この特許をJ-PlatPat(特許庁公式サイト)で参照する
関連特許
個人
店内配信予約システム
2か月前
サクサ株式会社
中継装置
今日
サクサ株式会社
中継装置
3か月前
WHISMR合同会社
収音装置
28日前
サクサ株式会社
中継装置
1日前
キヤノン株式会社
撮像装置
1か月前
キヤノン株式会社
電子機器
2か月前
アイホン株式会社
電気機器
22日前
株式会社リコー
画像形成装置
1か月前
サクサ株式会社
無線通信装置
今日
サクサ株式会社
無線通信装置
今日
日本精機株式会社
画像投映システム
3か月前
キヤノン電子株式会社
モバイル装置
3か月前
株式会社リコー
画像形成装置
2か月前
株式会社リコー
画像形成装置
1か月前
キヤノン電子株式会社
画像読取装置
29日前
個人
ワイヤレスイヤホン対応耳掛け
20日前
株式会社ニコン
撮像装置
2か月前
ブラザー工業株式会社
読取装置
1か月前
キヤノン株式会社
撮像システム
22日前
沖電気工業株式会社
画像形成装置
2日前
大日本印刷株式会社
写真撮影装置
21日前
国立大学法人電気通信大学
小型光学装置
1か月前
パテントフレア株式会社
超高速電波通信
1か月前
株式会社JVCケンウッド
通信システム
6日前
パテントフレア株式会社
水中電波通信法
2か月前
有限会社フィデリックス
マイクロフォン
6日前
株式会社小糸製作所
画像照射装置
1か月前
株式会社松平商会
携帯機器カバー
1か月前
キヤノン電子株式会社
シート材搬送装置
1か月前
DXO株式会社
情報処理システム
2か月前
沖電気工業株式会社
画像形成装置
10日前
株式会社オーディオテクニカ
受光器
3か月前
株式会社リコー
画像形成装置
1か月前
日本無線株式会社
無線通信システム
1か月前
株式会社JVCケンウッド
スピーカ
29日前
続きを見る
他の特許を見る