TOP
|
特許
|
意匠
|
商標
特許ウォッチ
Twitter
他の特許を見る
公開番号
2025145701
公報種別
公開特許公報(A)
公開日
2025-10-03
出願番号
2024046022
出願日
2024-03-22
発明の名称
電子機器、認証システム、制御方法及びプログラム
出願人
カシオ計算機株式会社
代理人
弁理士法人光陽国際特許事務所
主分類
G06F
21/44 20130101AFI20250926BHJP(計算;計数)
要約
【課題】セキュリティを確保しつつ、本人認証の煩わしさを低減できるようにする。
【解決手段】電子時計の制御部は、通信部によりリングデバイスとの無線通信における電波強度を示す情報を取得し、電波強度が所定の閾値以上であることを示す情報が所定時間以上継続して取得された場合に、所定の機能に対するロックを解除する。
【選択図】図4
特許請求の範囲
【請求項1】
所定のウェアラブル機器と無線通信可能な通信部と、
予め定められた条件を満たす場合に所定の機能に対してロックをかける制御部と、
を備え、
前記制御部は、前記通信部により前記ウェアラブル機器との無線通信における電波強度を示す情報を取得し、前記電波強度が所定の閾値以上であることを示す前記情報が所定時間以上継続して取得された場合に、前記所定の機能に対するロックを解除する、
電子機器。
続きを表示(約 1,500 文字)
【請求項2】
前記閾値は、事前に計測された、前記ウェアラブル機器及び前記電子機器をユーザに装着したときの前記ウェアラブル機器と前記電子機器との間の前記無線通信における電波強度に基づいて決定された値である、
請求項1に記載の電子機器。
【請求項3】
前記ウェアラブル機器は、当該ウェアラブル機器を装着している人物が使用を許可されたユーザ本人であるか否かを静脈認証又は指紋認証により認証することが可能であり、
前記制御部は、前記通信部により前記ウェアラブル機器から前記ユーザ本人であることが認証されたことを示す情報が受信され、且つ、前記電波強度が所定の閾値以上であることを示す前記情報が所定時間以上継続して取得された場合に、前記所定の機能に対するロックを解除する、
請求項1に記載の電子機器。
【請求項4】
前記電子機器が装着された状態であるか否かを検出する検出部を備え、
前記制御部は、
前記検出部により前記電子機器が装着された状態であることが検出され、且つ、前記電波強度が所定の閾値以上であることを示す前記情報が所定時間以上継続して取得された場合に、前記所定の機能に対するロックを解除する、
請求項1に記載の電子機器。
【請求項5】
加速度センサ、ジャイロセンサ又は傾斜センサのうち少なくとも1つを含むセンサを備え、
前記制御部は、
前記センサからの検出値に基づいて所定の動作が検出された場合に、前記ウェアラブル機器と前記電子機器との無線通信を前記通信部に開始させる、
請求項1に記載の電子機器。
【請求項6】
前記制御部は、前記ウェアラブル機器と前記電子機器が左右の同じ手に装着されているか否かによって前記閾値を変更する、
請求項1に記載の電子機器。
【請求項7】
前記制御部は、前記ウェアラブル機器と前記電子機器が左右の同じ手に装着されている場合の方が異なる手に装着されている場合よりも低い前記閾値を用いる、
請求項6に記載の電子機器。
【請求項8】
前記制御部は、前記ウェアラブル機器と前記電子機器が左右の異なる手に装着されている状態で、前記電波強度の値が徐々に大きくなるように変化しており、且つ、前記電波強度が所定の閾値以上であることを示す前記情報が所定時間以上継続して取得された場合に、前記所定の機能に対するロックを解除する、
請求項1に記載の電子機器。
【請求項9】
所定のウェアラブル機器と、前記ウェアラブル機器と無線通信可能な電子機器と、を備え、
前記電子機器は、
予め定められた条件を満たす場合に所定の機能に対してロックをかける制御部を備え、
前記制御部は、
前記ウェアラブル機器との無線通信の電波強度を示す情報を取得し、前記電波強度が所定の閾値以上であることを示す前記情報が所定時間以上継続して取得された場合に、前記所定の機能に対するロックを解除する、
認証システム。
【請求項10】
前記ウェアラブル機器は、当該ウェアラブル機器を装着している人物が使用を許可されたユーザ本人であるか否かを静脈認証又は指紋認証により認証する認証部を備え、前記認証部により前記ウェアラブル機器を装着している人物が前記ユーザ本人であることが認証された場合に、前記電子機器と無線通信を行う、
請求項9に記載の認証システム。
(【請求項11】以降は省略されています)
発明の詳細な説明
【技術分野】
【0001】
本発明は、電子機器、認証システム、制御方法及びプログラムに関する。
続きを表示(約 1,700 文字)
【背景技術】
【0002】
従来、生体認証によってロックを解除可能なモバイル機器におけるユーザビリティ向上のため、モバイル機器とウェアラブル機器との無線通信における受信電波強度に応じて、モバイル機器の生体認証のレベルを調整する技術が存在する(例えば、特許文献1参照)。
【先行技術文献】
【特許文献】
【0003】
特開2021-163341号公報
【発明の概要】
【発明が解決しようとする課題】
【0004】
しかしながら、上記技術のモバイル機器では生体認証を用いたロック解除が前提となっている。生体認証を用いない本人認証によりロック解除を行う機器において、本人認証の煩わしさを低減するために、電波強度に応じて認証のレベルを下げてしまうと、ウェアラブル機器を装着しているユーザと、該ユーザのモバイル機器を盗み見ようとした他人と、がモバイル機器で電波強度を判定するタイミングでたまたま近くにいたときに、簡単にロック解除されてしまう可能性があり、セキュリティが確保できない。
【0005】
本発明は、上記の問題点を鑑みてなされたものであり、セキュリティを確保しつつ、本人認証の煩わしさを低減できるようにすることを目的とする。
【課題を解決するための手段】
【0006】
以上の課題を解決するため、本発明の一態様の電子機器は、
所定のウェアラブル機器と無線通信可能な通信部と、
予め定められた条件を満たす場合に所定の機能に対してロックをかける制御部と、
を備え、
前記制御部は、前記通信部により前記ウェアラブル機器との無線通信における電波強度を示す情報を取得し、前記電波強度が所定の閾値以上であることを示す前記情報が所定時間以上継続して取得された場合に、前記所定の機能に対するロックを解除する。
【発明の効果】
【0007】
本発明によれば、セキュリティを確保しつつ、本人認証の煩わしさを低減できる。
【図面の簡単な説明】
【0008】
本発明に係る認証システムの構成例を示す図である。
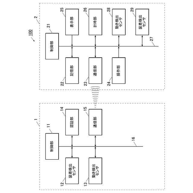
第1の実施形態における認証システムの機能的構成を示すブロック図である。
第1の実施形態においてリングデバイスの制御部により実行されるリング側認証処理Aの流れを示すフローチャートである。
第1の実施形態において電子時計の制御部により実行される時計側認証処理Aの流れを示すフローチャートである。
第2の実施形態における認証システムの機能的構成を示すブロック図である。
第2の実施形態においてリングデバイスの制御部により実行されるリング側認証処理Bの流れを示すフローチャートである。
第2の実施形態において電子時計の制御部により実行される時計側認証処理Bの流れを示すフローチャートである。
第2の実施形態において電子時計の制御部により実行される時計側認証処理Bの流れを示すフローチャートである。
【発明を実施するための形態】
【0009】
以下に、本発明を実施するための形態について、図面を用いて説明する。但し、以下に述べる実施形態には、本発明を実施するために技術的に好ましい種々の限定が付されている。そのため、本発明の技術的範囲を以下の実施形態及び図示例に限定するものではない。
【0010】
まず、本発明の実施形態における認証システム100について説明する。認証システム100は、図1に示すように、リングデバイス(ウェアラブル機器)1と、電子時計2(電子機器)とを備える。リングデバイス1は、基本的にユーザの手(指)に常時装着される。電子時計2は、ユーザの手(腕)に着脱可能である。認証システム100は、リングデバイス1と電子時計2の双方がユーザの手に装着されている場合に、リングデバイス1と電子時計2との距離が、図1(a)に示す距離D1又は図1(b)に示す距離D2に維持されることを利用して、電子時計2の所定の機能のロックを解除するシステムである。
(【0011】以降は省略されています)
この特許をJ-PlatPat(特許庁公式サイト)で参照する
関連特許
カシオ計算機株式会社
支持台
1日前
カシオ計算機株式会社
減音器具
3日前
カシオ計算機株式会社
減音器具
3日前
カシオ計算機株式会社
電子鍵盤楽器
1日前
カシオ計算機株式会社
装飾板及び時計
2日前
カシオ計算機株式会社
光源装置及び投影装置
3日前
カシオ計算機株式会社
光源装置及び投影装置
3日前
カシオ計算機株式会社
端末装置及びプログラム
3日前
カシオ計算機株式会社
外装部品ユニット及び時計
1日前
カシオ計算機株式会社
電子機器、及び表示制御方法
5日前
カシオ計算機株式会社
カッターユニット及び切断装置
1日前
カシオ計算機株式会社
制御装置、方法およびプログラム
5日前
カシオ計算機株式会社
制御装置、方法およびプログラム
5日前
カシオ計算機株式会社
補助バスマスタ回路及び電子機器
5日前
カシオ計算機株式会社
演奏装置、方法およびプログラム
3日前
カシオ計算機株式会社
演奏装置、方法およびプログラム
2日前
カシオ計算機株式会社
ロボット、及びロボットの製造方法
1日前
カシオ計算機株式会社
情報処理装置、方法およびプログラム
1日前
カシオ計算機株式会社
外装部品、外装部品ユニット及び時計
1日前
カシオ計算機株式会社
制御装置、制御方法、及びプログラム
2日前
カシオ計算機株式会社
プログラム、電子機器及び登録処理方法
1日前
カシオ計算機株式会社
電子機器、登録処理方法及びプログラム
1日前
カシオ計算機株式会社
情報処理装置、表示方法、及びプログラム
5日前
カシオ計算機株式会社
情報処理装置、プログラム及び情報処理方法
1日前
カシオ計算機株式会社
情報提供装置、情報提供方法及びプログラム
3日前
カシオ計算機株式会社
音声提供装置、音声提供方法及びプログラム
1日前
カシオ計算機株式会社
電子時計、電子時計の制御方法及びプログラム
5日前
カシオ計算機株式会社
電子機器、電子機器の制御方法及びプログラム
5日前
カシオ計算機株式会社
電子楽器、電子楽器の制御方法及びプログラム
1日前
カシオ計算機株式会社
情報処理装置、表示制御方法、及びプログラム
1日前
カシオ計算機株式会社
印刷装置、印刷装置の制御方法及びプログラム
1日前
カシオ計算機株式会社
投影装置、投影装置の調整方法及びプログラム
2日前
カシオ計算機株式会社
投影装置、投影装置の調整方法及びプログラム
2日前
カシオ計算機株式会社
情報処理装置、表示制御方法、及び、プログラム
1日前
カシオ計算機株式会社
画像処理装置、プログラム、及び、画像処理方法
1日前
カシオ計算機株式会社
機器の制御装置、機器の制御方法及びプログラム
1日前
続きを見る
他の特許を見る