TOP
|
特許
|
意匠
|
商標
特許ウォッチ
Twitter
他の特許を見る
10個以上の画像は省略されています。
公開番号
2025145667
公報種別
公開特許公報(A)
公開日
2025-10-03
出願番号
2024045966
出願日
2024-03-22
発明の名称
故障判定方法及び故障判定装置
出願人
日産自動車株式会社
代理人
個人
,
個人
,
個人
主分類
B60G
17/0185 20060101AFI20250926BHJP(車両一般)
要約
【課題】車体上の複数箇所の変位を複数の変位センサにより検出する際に、変位センサの出力に異常が生じた場合、これら複数箇所のうちどこで故障が発生したのか判定する。
【解決手段】故障判定方法では、車体上の略同一平面をなす少なくとも4つの複数の位置の変位を、複数の変位センサのそれぞれにより検出し(S1)、複数の変位センサの出力結果に基づいて、同一平面のゆがみ量が0であると仮定した場合に複数の変位センサが各々出力すべき変位を演算し(S2、S3)、複数の変位センサのうちいずれかの変位センサの出力結果と演算した変位との間の差分が閾値以上である場合に、複数の変位センサのうちいずれかの変位センサ、いずれかの変位センサを車両に取り付けている取付部品又は取付部品によりいずれかの変位センサが取り付けられている車両の構成部品が故障していると判定する(S4、S5)。
【選択図】図5
特許請求の範囲
【請求項1】
車体上の略同一平面をなす少なくとも4つの複数の位置の変位を、複数の変位センサのそれぞれにより検出し、
前記複数の変位センサの出力結果に基づいて、前記同一平面のゆがみ量が0であると仮定した場合に前記複数の変位センサが各々出力すべき変位を演算し、
前記複数の変位センサのうちいずれかの前記変位センサの出力結果と演算した前記変位との間の差分が閾値以上である場合に、前記複数の変位センサのうち前記いずれかの変位センサ、前記いずれかの変位センサを車両に取り付けている取付部品又は前記取付部品により前記いずれかの変位センサが取り付けられている前記車両の構成部品が故障していると判定する、
ことを特徴とする故障判定方法。
続きを表示(約 820 文字)
【請求項2】
前記差分が前記閾値以上である状態が所定時間以上継続した場合に、前記いずれかの変位センサ、前記いずれかの変位センサを取り付けている前記取付部品又は前記いずれかの変位センサが取り付けられている前記構成部品の少なくとも一方が故障していると判定することを特徴とする請求項1に記載の故障判定方法。
【請求項3】
前記閾値は、前記同一平面のゆがみ量が、前記変位センサの出力結果に基づいて車両制御への悪影響を与える大きさに応じて設定されることを特徴とする請求項2に記載の故障判定方法。
【請求項4】
前記車両制御へ悪影響を与えるゆがみ量の大きさは、前記車両を制動する自動制動装置の誤作動を生じさせる大きさであることを特徴とする請求項3に記載の故障判定方法。
【請求項5】
前記所定時間は、前記変位センサが前記車体上の位置の変位を検出する時点から、前記変位センサの出力結果に基づいて前記車両を制動する自動制動装置がブレーキを作動させる時点までの所要時間に応じて設定されることを特徴とする請求項2に記載の故障判定方法。
【請求項6】
車体上の略同一平面をなす少なくとも4つの複数の位置の変位をそれぞれ検出する複数の変位センサと、
前記複数の変位センサの出力結果に基づいて、前記同一平面のゆがみ量が0であると仮定した場合に前記複数の変位センサが各々出力すべき変位を演算し、前記複数の変位センサのうちいずれかの前記変位センサの出力結果と演算した前記変位との間の差分が閾値以上である場合に、前記複数の変位センサのうち前記いずれかの変位センサ、前記いずれかの変位センサを車両に取り付けている取付部品又は前記取付部品により前記いずれかの変位センサが取り付けられている前記車両の構成部品が故障していると判定するコントローラと、
を備えることを特徴とする故障判定装置。
発明の詳細な説明
【技術分野】
【0001】
本発明は、故障判定方法及び故障判定装置に関する。
続きを表示(約 1,900 文字)
【背景技術】
【0002】
下記特許文献1には、車両が直進走行状態にあるとき、前輪及び後輪の車体に対するストロークをそれぞれ検出する前後のストロークセンサの出力をそれぞれ所定時間に亘って積分し、算出した前後の積分値の偏差が閾値以上のときに異常を判定する異常判定装置が記載されている。
【先行技術文献】
【特許文献】
【0003】
特開2007-015633号公報
【発明の概要】
【発明が解決しようとする課題】
【0004】
特許文献1の異常判定装置は、ストロークセンサの出力に異常が生じた場合に、前輪又は後輪のどちらの箇所で、故障が発生したのかを特定できない。
本発明は、車体上の複数箇所の変位を複数の変位センサにより検出する際に、変位センサの出力に異常が生じた場合、これら複数箇所のうちどこで故障が発生したのかを判定することを目的とする。
【課題を解決するための手段】
【0005】
本発明の一態様の故障判定方法では、車体上の略同一平面をなす少なくとも4つの複数の位置の変位を、複数の変位センサのそれぞれにより検出し、複数の変位センサの出力結果に基づいて、同一平面のゆがみ量が0であると仮定した場合に複数の変位センサが各々出力すべき変位を演算し、複数の変位センサのうちいずれかの変位センサの出力結果と演算した変位との間の差分が閾値以上である場合に、複数の変位センサのうちいずれかの変位センサ、いずれかの変位センサを車両に取り付けている取付部品又は取付部品によりいずれかの変位センサが取り付けられている車両の構成部品が故障していると判定する。
【発明の効果】
【0006】
本発明によれば、車体上の複数箇所の変位を複数の変位センサにより検出する際に、変位センサの出力に異常が生じた場合、これら複数箇所のうちどこで故障が発生したのかを判定できる。
【図面の簡単な説明】
【0007】
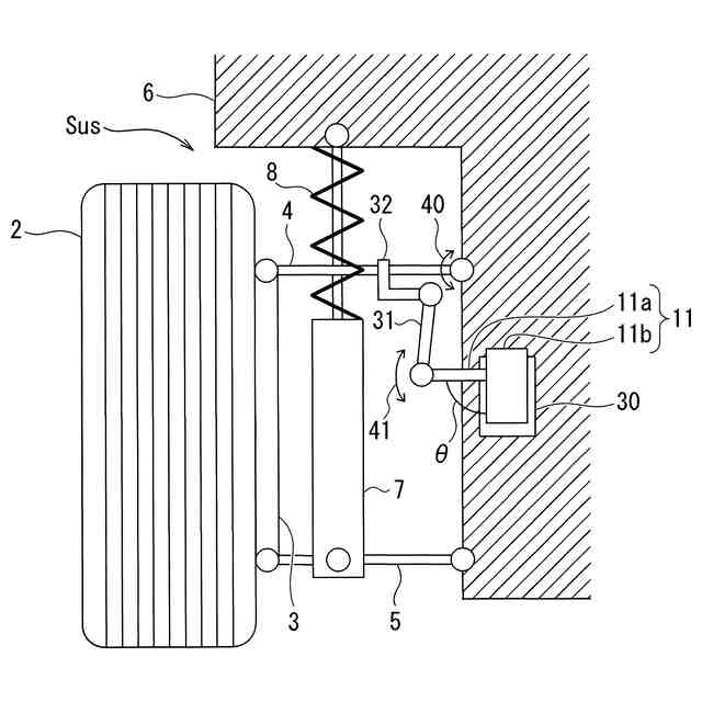
故障判定装置の実施形態としての変位検出装置を備えた車両の一例の概略構成図である。
サスペンション装置の構成の一例を示す図である。
(a)及び(b)は変位センサの説明図である。
第1実施形態のサスペンションコントローラの機能構成の一例のブロック図である。
第1実施形態の故障判定方法の一例のフローチャートである。
第2実施形態のサスペンションコントローラの機能構成の一例のブロック図である。
第2実施形態の故障判定方法の一例のフローチャートである。
【発明を実施するための形態】
【0008】
以下、本発明の実施形態について、図面を参照しつつ説明する。なお、各図面は模式的なものであって、現実のものとは異なる場合がある。また、以下に示す本発明の実施形態は、本発明の技術的思想を具体化するための装置や方法を例示するものであって、本発明の技術的思想は、構成部品の構造、配置等を下記のものに特定するものではない。本発明の技術的思想は、特許請求の範囲に記載された請求項が規定する技術的範囲内において、種々の変更を加えることができる。
【0009】
(第1実施形態)
(構成)
図1は、故障判定装置の実施形態としての変位検出装置10を備えた車両1の一例の概略構成図である。車両1は、変位検出装置10と自動制動装置20とを備える。
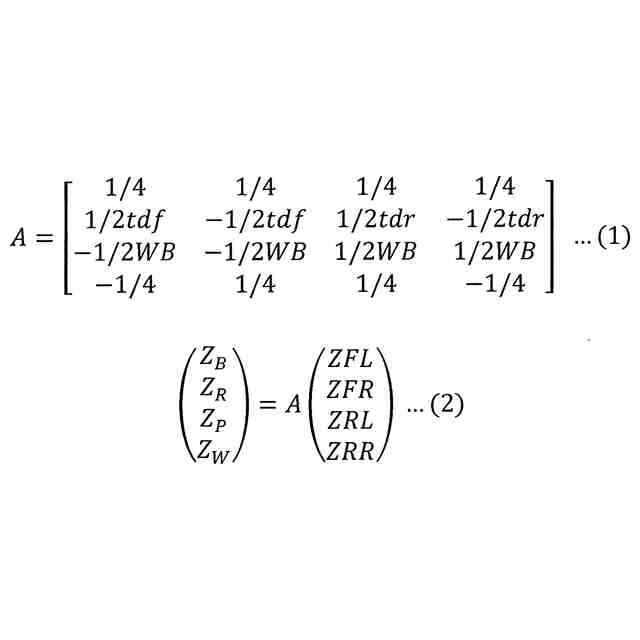
変位検出装置10は、車両1の車体上の所定位置の上下方向(高さ方向)変位を検出する。例えば変位検出装置10は、車両1の車体に対する車輪のホイールセンタの上下方向の変位であるホイールストロークを、車体上の所定位置の変位として検出してよい。変位検出装置10は、変位センサ11FR、11RL、11RR及び11RLと、サスペンションコントローラ12を備える。
【0010】
変位センサ11FL、11FR、11RL及び11RRは、車体に対する車両1の左前輪2FL、右前輪2FR、左後輪2RL及び右後輪2RRのホイールセンタ上下方向の変位であるホイールストロークをそれぞれ検出するハイトセンサ(ストロークセンサ)である。変位センサ11FL、11FR、11RL及び11RRは、検出したホイールストロークに対応する電気信号であるセンサ信号ZFL、ZFR、ZRL及びZRRをサスペンションコントローラ12へ出力する。
(【0011】以降は省略されています)
この特許をJ-PlatPat(特許庁公式サイト)で参照する
関連特許
日産自動車株式会社
電子部品
14日前
日産自動車株式会社
内燃機関
今日
日産自動車株式会社
内燃機関
今日
日産自動車株式会社
伝動部材
1日前
日産自動車株式会社
ステータ
1日前
日産自動車株式会社
ターボ過給機付き内燃機関
今日
日産自動車株式会社
ステータ及びその製造方法
14日前
日産自動車株式会社
ステータ及びその製造方法
14日前
日産自動車株式会社
故障判定方法及び故障判定装置
今日
日産自動車株式会社
車両のエアサスペンション装置
今日
日産自動車株式会社
製品検査方法及び製品検査装置
2日前
日産自動車株式会社
打ち抜き金型用薄鋼帯搬送装置
今日
日産自動車株式会社
情報処理方法及び情報処理装置
14日前
日産自動車株式会社
内燃機関の回転数表示方法および装置
今日
日産自動車株式会社
電池パック及び電池パックの製造方法
1日前
日産自動車株式会社
充放電制御方法及び充放電制御システム
2日前
日産自動車株式会社
経路選出装置、経路選出方法及びプログラム
2日前
日産自動車株式会社
経路選出装置、経路選出方法及びプログラム
2日前
日産自動車株式会社
燃料タンクおよびマフラを含む構造体、および車両
15日前
日産自動車株式会社
車両用内燃機関のトルクダウン制御方法および装置
15日前
日産自動車株式会社
金属粉末形成方法
8日前
TOPPANエッジ株式会社
駐車管理システム、駐車管理方法および情報処理装置
4日前
個人
カーテント
4か月前
個人
タイヤレバー
2か月前
個人
前輪キャスター
1か月前
個人
車窓用防虫網戸
4か月前
個人
警告装置
5か月前
個人
小型EVシステム
5か月前
個人
上部一体型自動車
今日
個人
ホイルのボルト締結
3か月前
個人
ルーフ付きトライク
1か月前
個人
タイヤ脱落防止構造
1か月前
個人
車輪清掃装置
4か月前
日本精機株式会社
表示装置
2か月前
井関農機株式会社
作業車両
3か月前
個人
車両通過構造物
2か月前
続きを見る
他の特許を見る