TOP
|
特許
|
意匠
|
商標
特許ウォッチ
Twitter
他の特許を見る
公開番号
2025145226
公報種別
公開特許公報(A)
公開日
2025-10-03
出願番号
2024045302
出願日
2024-03-21
発明の名称
暗号システム、暗号化方法、プログラム記録媒体
出願人
日本電気株式会社
代理人
個人
,
個人
主分類
H04L
9/32 20060101AFI20250926BHJP(電気通信技術)
要約
【課題】プロキシ再暗号化等において、委託元での秘密鍵の管理を不要とする。
【解決手段】第1の生体情報を取得して第1の生体利用分散鍵を生成する委託元装置と、前記委託元装置から前記第1の生体利用分散鍵を受け取り記憶部に記憶する委託元分散先装置と、第2の生体情報を取得して第2の生体利用分散鍵を生成し前記委託元分散先装置に送信する鍵分散生成装置と、を備え、前記委託元分散先装置は、前記第1の生体利用分散鍵と前記第2の生体利用分散鍵の差分から、委託先の公開鍵を用いて、鍵利用分散鍵を生成して前記鍵分散生成装置に送信し、前記鍵分散生成装置は、前記鍵利用分散鍵とから再暗号化鍵を生成する。
【選択図】図5
特許請求の範囲
【請求項1】
第1の生体情報を取得して第1の生体利用分散鍵を生成する委託元装置と、
前記委託元装置から前記第1の生体利用分散鍵を受け取り記憶部に記憶する委託元分散先装置と、
第2の生体情報を取得して第2の生体利用分散鍵を生成し前記委託元分散先装置に送信する鍵分散生成装置と、
を備え、
前記委託元分散先装置は、前記第1の生体利用分散鍵および前記第2の生体利用分散鍵と委託先の公開鍵を用いて鍵利用分散鍵を生成して前記鍵分散生成装置に送信し、
前記鍵分散生成装置は、前記鍵利用分散鍵を用いて委託元から前記委託先への再暗号化鍵を生成する、暗号システム。
続きを表示(約 2,900 文字)
【請求項2】
前記委託元の公開鍵を用いてメッセージを暗号化して暗号文を出力する暗号化装置を備え、
前記委託元装置は、前記第1の生体情報を用いて第1の生体利用分散復号鍵を生成して前記委託元分散先装置に送信し、
前記委託元分散先装置は、前記第1の生体利用分散復号鍵を前記記憶部に記憶し、
前記鍵分散生成装置は、前記第2の生体情報を用いて第2の生体利用分散復号鍵を生成して前記委託元分散先装置に送信し、
前記委託元分散先装置は、少なくとも前記第1の生体利用分散復号鍵と前記第2の生体利用分散復号鍵を用いて生成した情報を、前記鍵分散生成装置に送信し、
前記鍵分散生成装置は、前記第2の生体利用分散復号鍵と、前記委託元分散先装置で生成した前記情報とに基づき、復号鍵を復元し、
前記暗号化装置から出力される前記暗号文に対して、前記復号鍵を用いて前記メッセージを復号する、請求項1記載の暗号システム。
【請求項3】
前記委託元装置は、秘密鍵と前記委託元の前記公開鍵を生成し、前記秘密鍵を符号化した第1の符号化鍵と前記第1の生体情報とを合成して前記第1の生体利用分散鍵を生成し、
前記鍵分散生成装置は、一時的秘密鍵を生成し、前記一時的秘密鍵を符号化した第2の符号化鍵と前記第2の生体情報とを合成して前記第2の生体利用分散鍵を生成し、
前記委託元分散先装置は、前記第1の生体利用分散鍵および前記第2の生体利用分散鍵の差分を復号して、前記秘密鍵と前記一時的秘密鍵の差分である第1の差分鍵を取得し、
前記第1の差分鍵と前記委託先の前記公開鍵を用いて前記鍵利用分散鍵を生成し、
前記鍵分散生成装置は、前記委託先の前記公開鍵と、前記一時的秘密鍵および前記鍵利用分散鍵を用いて、前記再暗号化鍵を生成する、請求項2記載の暗号システム。
【請求項4】
前記委託元装置は、前記秘密鍵の要素の逆元を符号化した第3の符号化鍵と前記第1の生体情報とを合成して前記第1の生体利用分散復号鍵を生成し、
前記鍵分散生成装置は、前記一時的秘密鍵の要素を符号化した第4の符号化鍵と前記第2の生体情報を合成して前記第2の生体利用分散復号鍵を生成し、
前記委託元分散先装置は、前記第1の生体利用分散復号鍵と前記第2の生体利用分散復号鍵の差分を復号して、前記秘密鍵の前記要素の前記逆元と前記一時的秘密鍵の前記要素の差分である第2の差分鍵を取得し、
前記第2の差分鍵と前記暗号文を用いて生成した情報を前記鍵分散生成装置に送信し、
前記鍵分散生成装置は、前記一時的秘密鍵の前記要素、および、前記第2の差分鍵と前記暗号文を用いて生成した情報を用いて前記暗号文から前記メッセージを復号する、請求項3記載の暗号システム。
【請求項5】
前記暗号化装置から出力される前記暗号文に対して、前記再暗号化鍵を用いて、前記暗号文を、前記委託先の暗号文に再暗号化して出力するプロキシ装置と、
前記プロキシ装置から前記委託先の前記暗号文を受け取り、前記委託先の秘密鍵を用いて前記委託先の前記暗号文を復号する委託先装置と、
を備えた、請求項2記載の暗号システム。
【請求項6】
ペアリングベースのプロキシ再暗号方式を用いる、請求項1記載の暗号システム。
【請求項7】
委託元が、第1の生体情報を取得して第1の生体利用分散鍵を生成し、
委託元分散先ノードは、前記委託元の処理から前記第1の生体利用分散鍵を受け取り記憶部に記憶し、
鍵分散生成ノードは、第2の生体情報を取得して第2の生体利用分散鍵を生成し前記委託元分散先ノードに送信し、
前記委託元分散先ノードは、前記第1の生体利用分散鍵および前記第2の生体利用分散鍵と、委託先の公開鍵を用いて、鍵利用分散鍵を生成して前記鍵分散生成ノードに送信し、
前記鍵分散生成ノードは、前記鍵利用分散鍵を用いて前記委託元から前記委託先への再暗号化鍵を生成する、暗号化方法。
【請求項8】
前記委託元の公開鍵を用いてメッセージを暗号化して暗号文を出力する暗号化処理を有し、
前記委託元は、前記第1の生体情報を用いて第1の生体利用分散復号鍵を生成して前記委託元分散先ノードに送信し、
前記委託元分散先ノードは、前記第1の生体利用分散復号鍵を前記記憶部に記憶し、
前記鍵分散生成ノードは、前記第2の生体情報を用いて第2の生体利用分散復号鍵を生成して前記委託元分散先ノードに送信し、
前記委託元分散先ノードは、少なくとも前記第1の生体利用分散復号鍵と前記第2の生体利用分散復号鍵を用いて生成した情報を、前記鍵分散生成ノードに送信し、
前記鍵分散生成ノードは、前記第2の生体利用分散復号鍵と、前記委託元分散先ノードで生成した前記情報とに基づき、復号鍵を復元し、
前記暗号化処理で生成された前記暗号文に対して、前記復号鍵を用いて前記メッセージを復号する、請求項7記載の暗号化方法。
【請求項9】
前記委託元は、秘密鍵と前記委託元の前記公開鍵を生成し、前記秘密鍵を符号化した第1の符号化鍵と前記第1の生体情報とを合成して前記第1の生体利用分散鍵を生成し、
前記鍵分散生成ノードは、一時的秘密鍵を生成し、前記一時的秘密鍵を符号化した第2の符号化鍵と前記第2の生体情報とを合成して前記第2の生体利用分散鍵を生成し、
前記委託元分散先ノードは、前記第1の生体利用分散鍵および前記第2の生体利用分散鍵の差分を復号して、前記秘密鍵と前記一時的秘密鍵の差分である第1の差分鍵を取得し、
前記第1の差分鍵と前記委託先の前記公開鍵を用いて前記鍵利用分散鍵を生成し、
前記鍵分散生成ノードは、前記委託先の前記公開鍵と、前記一時的秘密鍵および前記鍵利用分散鍵を用いて、前記再暗号化鍵を生成する、請求項8記載の暗号化方法。
【請求項10】
前記委託元は、前記秘密鍵の要素の逆元を符号化した第3の符号化鍵と前記第1の生体情報とを合成して前記第1の生体利用分散復号鍵を生成し、
前記鍵分散生成ノードは、前記一時的秘密鍵の要素を符号化した第4の符号化鍵と前記第2の生体情報を合成して前記第2の生体利用分散復号鍵を生成し、
前記委託元分散先ノードは、前記第1の生体利用分散復号鍵と前記第2の生体利用分散復号鍵の差分を復号して、前記秘密鍵の前記要素の前記逆元と前記一時的秘密鍵の前記要素の差分である第2の差分鍵を取得し、
前記第2の差分鍵と前記暗号文を用いて生成した情報を前記鍵分散生成ノードに送信し、
前記鍵分散生成ノードは、前記一時的秘密鍵の前記要素、および、前記第2の差分鍵と前記暗号文を用いて生成した情報を用いて前記暗号文から前記メッセージを復号する、請求項9記載の暗号化方法。
(【請求項11】以降は省略されています)
発明の詳細な説明
【技術分野】
【0001】
本開示は、暗号システム、暗号化方法、プログラム記録媒体に関する。
続きを表示(約 1,700 文字)
【背景技術】
【0002】
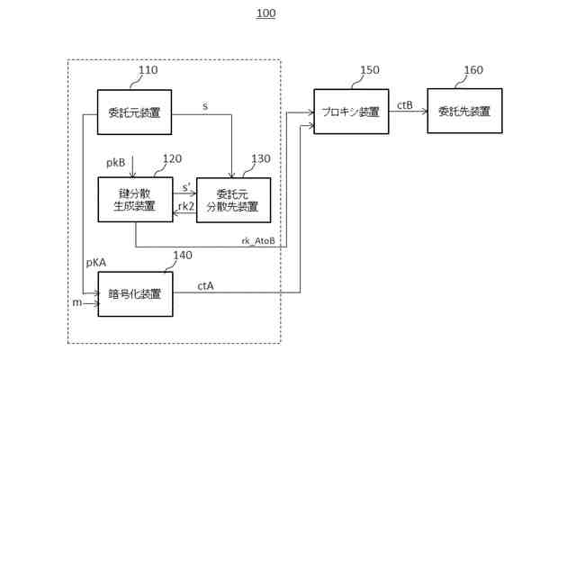
暗号化されたデータを復号せずに、該暗号化されたデータを復号できる人を変更可能な技術として、プロキシ再暗号化が知られている。プロキシ再暗号化(Proxy Re-Encryption: PRE)では、例えば図1に示すように、A(委託元)の秘密鍵で暗号化された暗号文(Aだけが復号可能な暗号文)をプロキシ(代理者)と呼ばれる第三者Pが、Aの秘密鍵や平文の情報を知ることなく、暗号文のまま、再暗号化鍵を用いて、B(委託先)の秘密鍵だけで復号できる形に変形する。プロキシ再暗号化の一般的な手順の一例を説明する。
【0003】
不図示のセットアップ処理(setup)では、セキュリティパラメータλに基づき公開パラメータppを生成する。公開パラメータppは、セットアップアルゴリズムを実行するノードに接続する各処理10~50で参照可能とされる。処理10~50はそれぞれ通信ノードに実装してもよい。
pp←Setup(1
λ
) …(1)
【0004】
鍵生成処理(10)(KeyGen)では、公開パラメータppに基づき公開鍵pkと秘密鍵skの鍵ペアを出力する。
(sk, pk)←KeyGen(pp) …(2)
委託元では、公開鍵pkAと秘密鍵skAの鍵ペアを生成する。委託先では、公開鍵pkBと秘密鍵skBの鍵ペアを生成する。公開鍵pkA、pkBは鍵サーバ(公開鍵データベース)等に格納するようにしてもよい。
【0005】
再暗号化鍵生成処理(20)(ReKeyGen)では、A(委託元)の秘密鍵skAと、B(委託先)の公開鍵pkB(A≠B)を入力し、AからBへの再暗号化鍵rk_AtoBを出力する。
rk_AtoB←ReKeyGen(skA, pkB) …(3)
【0006】
暗号化処理(30)(Encryption)では、公開鍵pkAとメッセージmを入力し暗号文ctAを出力する。
ctA←Encrypt(pkA, m) …(4)
【0007】
P(プロキシ)による再暗号化処理(40)(ReEncryption)では、AからBへの再暗号化鍵rk_AtoBと暗号文ctAを入力し、暗号文ctBを出力する。
ctB←ReEncrypt(rk_AtoB, ctA) …(5)
【0008】
復号処理(50)(Decryption)では、B(委託先)の秘密鍵skBと暗号文CtBからメッセージmを出力する。
m←Decrypt(skB, ctB) …(6)
【先行技術文献】
【非特許文献】
【0009】
Giuseppe Ateniese, Kevin Fu, Matthew Green, and Susan Hohenberger. 2006, "Improved proxy re-encryption schemes with applications to secure distributed storage", ACM Transaction on Information and System Security, 9, 1 (February 2006), 1-30.
【発明の概要】
【発明が解決しようとする課題】
【0010】
再暗号化鍵rk_AtoBの生成には、A(委託元)の秘密鍵skAが必要となる。この秘密鍵が他人に渡った場合、A(委託元)に無断で暗号化データが復号されたり、他の鍵で復号できる形に変形されたりする可能性がある。また、A(委託元)で保管している自身の秘密鍵を紛失した場合、委託元であるA本人であっても暗号化データの復号・変形ができなくなる。
(【0011】以降は省略されています)
この特許をJ-PlatPat(特許庁公式サイト)で参照する
関連特許
個人
店内配信予約システム
2か月前
WHISMR合同会社
収音装置
25日前
サクサ株式会社
中継装置
2か月前
キヤノン株式会社
撮像装置
3か月前
キヤノン株式会社
電子機器
2か月前
アイホン株式会社
電気機器
19日前
キヤノン株式会社
撮像装置
1か月前
個人
ワイヤレスイヤホン対応耳掛け
17日前
キヤノン電子株式会社
モバイル装置
2か月前
電気興業株式会社
無線中継器
3か月前
株式会社リコー
画像形成装置
1か月前
キヤノン電子株式会社
画像読取装置
26日前
日本精機株式会社
画像投映システム
3か月前
株式会社リコー
画像形成装置
1か月前
株式会社リコー
画像形成装置
1か月前
ヤマハ株式会社
信号処理装置
3か月前
キヤノン株式会社
撮像システム
19日前
株式会社ニコン
撮像装置
2か月前
ブラザー工業株式会社
読取装置
1か月前
パテントフレア株式会社
水中電波通信法
2か月前
DXO株式会社
情報処理システム
2か月前
株式会社JVCケンウッド
通信システム
3日前
有限会社フィデリックス
マイクロフォン
3日前
大日本印刷株式会社
写真撮影装置
18日前
キヤノン電子株式会社
シート材搬送装置
1か月前
国立大学法人電気通信大学
小型光学装置
1か月前
株式会社松平商会
携帯機器カバー
28日前
沖電気工業株式会社
画像形成装置
7日前
株式会社小糸製作所
画像照射装置
1か月前
パテントフレア株式会社
超高速電波通信
1か月前
テックス通信株式会社
電話システム
3か月前
株式会社国際電気
遠隔監視システム
1か月前
株式会社JVCケンウッド
スピーカ
26日前
個人
外部ヘッダ変換通信装置および通信網
3か月前
日本無線株式会社
無線通信システム
1か月前
日本無線株式会社
無線通信システム
11日前
続きを見る
他の特許を見る