TOP
|
特許
|
意匠
|
商標
特許ウォッチ
Twitter
他の特許を見る
10個以上の画像は省略されています。
公開番号
2025145156
公報種別
公開特許公報(A)
公開日
2025-10-03
出願番号
2024045191
出願日
2024-03-21
発明の名称
ディスプレイ、表示方法、表示システムおよびプログラム
出願人
株式会社デンソーテン
代理人
弁理士法人秀和特許事務所
主分類
G09F
9/30 20060101AFI20250926BHJP(教育;暗号方法;表示;広告;シール)
要約
【課題】簡易な構成で、単一の表示面と、複数に分割された複数の表示面のそれぞれの向きを視聴者の方向に設定可能な複数の表示面とで切り替え可能なディスプレイを提供する。
【解決手段】ディスプレイは、車両に搭載され、少なくとも一つの折り曲げ部で折り曲げ可能である。本ディスプレイは、折り曲げ部で折り曲げられていない状態と、折り曲げ部で折り曲げられた状態との間で変形可能である。そして、本ディスプレイは、折り曲げられた状態において、折り曲げ部により分割される複数の表示面のそれぞれが、車両の複数の座席の方向に向きを調整可能である。
【選択図】図1
特許請求の範囲
【請求項1】
車両に搭載され、少なくとも一つの折り曲げ部で折り曲げ可能なディスプレイであり、
前記折り曲げ部で折り曲げられていない状態と、前記折り曲げ部で折り曲げられた状態との間で変形可能であり、
前記折り曲げられた状態において、前記折り曲げ部により分割される複数の表示面のそれぞれが、前記車両の複数の座席の方向に向きを調整可能な
ディスプレイ。
続きを表示(約 1,600 文字)
【請求項2】
折り曲げられていない状態で、前記車両の天井に沿うように配置され、使用状態でディスプレイ中央部の車両幅方向に延びる前記折り曲げ部が下方にせり出して、車両前方と後方に分割された表示面を形成する請求項1に記載のディスプレイ。
【請求項3】
車両前席が後方に反転可能であり、反転と連動して折り曲げ状態となる請求項2に記載のディスプレイ。
【請求項4】
少なくとも一つの折り曲げ部で折りたたまれた平面状態で車両後席のセンターコンソールに収納されており、使用状態で前記センターコンソールから上方にせり出し展開される請求項1に記載のディスプレイ。
【請求項5】
中心軸に垂直な断面が多角形状となる多角形柱に展開されて、前記多角形柱の前記中心軸に平行な各面が前記車両の各乗員の方向に向く請求項1に記載のディスプレイ。
【請求項6】
4枚のディスプレイパネルが環状に連結され、前記断面が四角形状の箱型に展開する請求項5に記載のディスプレイ。
【請求項7】
筒状のフレキシブルディスプレイの内部にフレームを備え、該フレームの柱の部分が移動することで前記折り曲げ部を形成し、前記断面が前記多角形状に展開する請求項5に記載のディスプレイ。
【請求項8】
ディスプレイと、前記ディスプレイに画像を表示する制御部とを備える表示システムであり、
前記ディスプレイは、車両に搭載され、少なくとも一つの折り曲げ部で折り曲げ可能なディスプレイであり、前記折り曲げ部で折り曲げられていない状態と、前記折り曲げ部で折り曲げられた状態との間で変形可能であり、前記折り曲げられた状態において、前記折り曲げ部により分割される複数の表示面のそれぞれが、前記車両の複数の座席の方向に向きを調整可能であり、
前記制御部は、前記折り曲げ部で前記折り曲げられていない状態においては、前記ディスプレイに単一のコンテンツ画像を表示し、前記折り曲げ部で前記折り曲げられた状態においては、分割される前記複数の表示面のそれぞれに、異なるコンテンツ画像を表示可能である、
表示システム。
【請求項9】
コンピュータが、ディスプレイに画像を表示する表示方法であって、
前記ディスプレイは、車両に搭載され、少なくとも一つの折り曲げ部で折り曲げ可能なディスプレイであり、前記折り曲げ部で折り曲げられていない状態と、前記折り曲げ部で折り曲げられた状態との間で変形可能であり、前記折り曲げられた状態において、前記折り曲げ部により分割される複数の表示面のそれぞれが、前記車両の複数の座席の方向に向きを調整可能であり、
前記コンピュータは、前記折り曲げ部で前記折り曲げられていない状態においては、前
記ディスプレイに単一のコンテンツ画像を表示し、前記折り曲げ部で前記折り曲げられた状態においては、分割される前記複数の表示面のそれぞれに、異なるコンテンツ画像を表示可能である、
表示方法。
【請求項10】
コンピュータに、ディスプレイに画像を表示させるプログラムであって、
前記ディスプレイは、車両に搭載され、少なくとも一つの折り曲げ部で折り曲げ可能なディスプレイであり、前記折り曲げ部で折り曲げられていない状態と、前記折り曲げ部で折り曲げられた状態との間で変形可能であり、前記折り曲げられた状態において、前記折り曲げ部により分割される複数の表示面のそれぞれが、前記車両の複数の座席の方向に向きを調整可能であり、
前記コンピュータに、前記折り曲げ部で前記折り曲げられていない状態においては、前記ディスプレイに単一のコンテンツ画像を表示させ、前記折り曲げ部で前記折り曲げられた状態においては、分割される前記複数の表示面のそれぞれに、異なるコンテンツ画像を表示させることが可能である、
プログラム。
発明の詳細な説明
【技術分野】
【0001】
本発明は、ディスプレイ、表示方法、表示システムおよびプログラムに関するものである。
続きを表示(約 2,500 文字)
【背景技術】
【0002】
特許文献1には、2つのディスプレイにおいて拡張画面モードと非拡張画面モードとで切り替え可能なものが開示されている。ここで、拡張画面モードは、2つのディスプレイが相互に隣接した状態のとき、2つのディスプレイを一つの画面として使用するモードである。また、非拡張画面モードは、2つのディスプレイが前後または左右方向に離間した状態のとき、両方にそれぞれ同一のコンテンツ画像または異なるコンテンツ画像を表示するモードである。
【先行技術文献】
【特許文献】
【0003】
特開2017-74875号公報
【発明の概要】
【発明が解決しようとする課題】
【0004】
しかし、上記従来の技術では、非拡張画面モードにおいて、2つのディスプレイが車幅方向または車両の前後方向に延出されたレールにしたがって移動し、離間した状態となるものであり、ディスプレイの向きを視聴者の方向に調整することができない。また、この技術では、2つのディスプレイが相互に隣接した状態のとき一つの画面として使用されるものであるので、一つの画面が2つのディスプレイ間で不連続となり、かつ、ディスプレイの構成が複雑となる。
【0005】
そこで、開示の実施形態の側面は、簡易な構成で、単一の表示面と、複数に分割された複数の表示面のそれぞれの向きを視聴者の方向に設定可能な複数の表示面とで切り替え可能なディスプレイを提供する。
【課題を解決するための手段】
【0006】
開示の実施形態は、ディスプレイによって例示される。本ディスプレイは、車両に搭載され、少なくとも一つの折り曲げ部で折り曲げ可能である。そして、本ディスプレイは、折り曲げ部で折り曲げられていない状態と、折り曲げ部で折り曲げられた状態との間で変形可能である。そして、本ディスプレイは、折り曲げられた状態において、折り曲げ部により分割される複数の表示面のそれぞれが、車両の複数の座席の方向に向きを調整可能である。
【発明の効果】
【0007】
本ディスプレイは、車両に搭載され、少なくとも一つの折り曲げ部で折り曲げ可能である。そして、本ディスプレイは、折り曲げ部で折り曲げられていない状態と、折り曲げ部で折り曲げられた状態との間で変形可能である。したがって、本ディスプレイは、単一の表示面と、複数に分割された複数の表示面とを切り替え可能である。さらに、本ディスプレイは、折り曲げられた状態において、折り曲げ部により分割される複数の表示面のそれぞれが、車両の複数の座席の方向に向きを調整可能であるので、複数に分割された複数の表示面のそれぞれの向きを視聴者の方向に設定可能である。すなわち、本ディスプレイは、単一の表示面と、複数に分割された複数の表示面のそれぞれの向きを視聴者の方向に設定可能な複数の表示面とで切り替え可能である。
【図面の簡単な説明】
【0008】
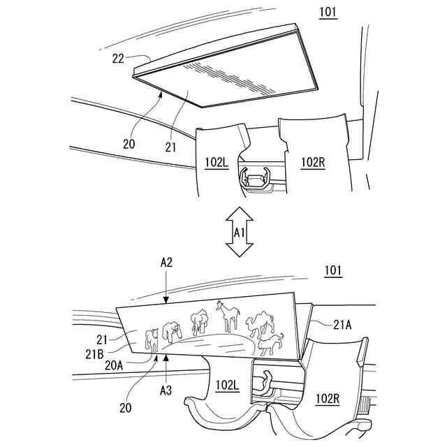
図1は、第1実施形態のディスプレイの利用の仕方を例示する図である。
図2は、使用状態でのディスプレイを例示する図である。
図3は、車両の前後方向に平行な鉛直の断面でディスプレイを切断した断面図である。
図4は、第1実施形態のディスプレイの変形例を例示する図である。
図5は、センターコンソールから平坦な状態に展開されたディスプレイを例示する斜視図である。
図6は、車両の上側から車室内を見た平面図である。
図7は、折り曲げ部で折り曲げられたディスプレイを例示する図である。
図8は、車両の上側から車室内を見た平面図である。
図9は、ディスプレイがセンターコンソールの内部に収納された状態を例示する図である。
図10は、車両の上側から車室内を見た平面図である。
図11は、第3実施形態のディスプレイを搭載した車両の車室を例示する斜視図である。
図12は、ディスプレイが平坦な状態において車両の車室内を鉛直上側から見た平面図である。
図13は、図12における支柱が分離するように引き離れた状態を例示する図である。
図14は、第3実施形態の変形例2に係るディスプレイを例示する図である。
図15は、車室内の乗員の数に合わせて、表示面の数を変更可能なディスプレイを例示する図である。
図16は、図15で例示された各形状に変形可能なディスプレイの構成を例示する断面図である。
図17は、第4実施形態のディスプレイを例示する図である。
図18は、第5実施形態のディスプレイを例示する図である。
図19は、情報処理装置のハードウェア構成を例示する図である。
図20は、情報処理装置のCPUを含む制御部が実行する画面制御処理を例示するフローチャートである。
【発明を実施するための形態】
【0009】
以下、図面を参照して、各実施形態に係るディスプレイ20、表示方法、表示システムおよびプログラムが説明される。
【0010】
<第1実施形態>
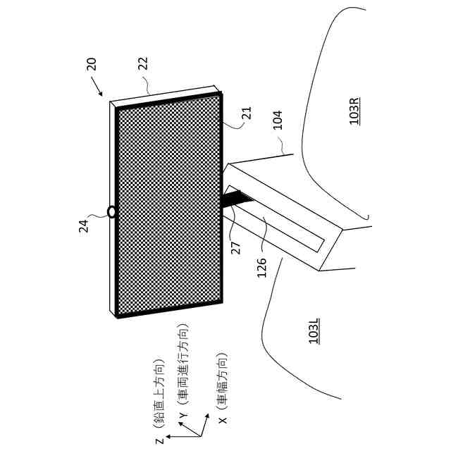
図1乃至図4を参照して、第1実施形態に係るディスプレイ20、表示方法、表示システムおよびプログラムが説明される。図1は、本実施形態のディスプレイ20の利用の仕方を例示する図である。図1は、矢印A1を挟んで上下2つの状態をディスプレイ20が取り得ることを例示する。図1は、車両の2列目のシートから1列目(運転席、助手席)方向を見た車内を例示する。本実施形態では、運転席は座席102R、助手席は座席102Lと呼ばれる。ディスプレイ20は、例えば、1列目のシートと2列目のシートとの間付近で車両の天井101に吊り下げて設置される。なお、本実施形態は、車両の進行方向をY軸、鉛直上方向をZ軸、車幅方向で、車両の左側(助手席側)から右側(運転席側)に向く座標軸をX軸とする(図3参照)。
(【0011】以降は省略されています)
この特許をJ-PlatPat(特許庁公式サイト)で参照する
関連特許
株式会社デンソーテン
車載映像装置
1日前
株式会社デンソーテン
電源制御システム
8日前
株式会社デンソーテン
通知装置およびプログラム
5日前
株式会社デンソーテン
通知装置およびプログラム
5日前
株式会社デンソーテン
車載装置、及びプログラム
5日前
株式会社デンソーテン
車載装置およびプログラム
5日前
株式会社デンソーテン
管理装置、及び管理プログラム
15日前
株式会社デンソーテン
通信方法、通信装置、及びプログラム
9日前
株式会社デンソーテン
運行管理装置および運行管理プログラム
5日前
株式会社デンソーテン
情報処理装置および情報処理プログラム
15日前
株式会社デンソーテン
情報処理装置および情報処理プログラム
15日前
株式会社デンソーテン
車載装置、情報処理方法およびプログラム
8日前
株式会社デンソーテン
画像処理装置、画像処理プログラムおよび車両
5日前
株式会社デンソーテン
情報処理装置、情報処理方法、およびプログラム
15日前
株式会社デンソーテン
情報処理装置、情報処理システムおよび情報処理方法
15日前
株式会社デンソーテン
情報処理装置、情報処理システムおよび情報処理方法
15日前
株式会社デンソーテン
ディスプレイ、表示方法、表示システムおよびプログラム
1日前
株式会社デンソーテン
車両制御装置、車両制御プログラムおよび運転代行サーバ
15日前
株式会社デンソーテン
警告装置、警告システム、警告方法および警告プログラム
5日前
株式会社デンソーテン
センタ装置、安全運転教育システムおよび安全運転教育方法
5日前
株式会社デンソーテン
センタ装置、安全運転教育システムおよび安全運転教育方法
5日前
株式会社デンソーテン
運転評価システム、情報処理装置および運転評価プログラム
2日前
株式会社デンソーテン
運転評価システム、情報処理装置および運転評価プログラム
2日前
株式会社デンソーテン
通信方法、通信装置、受信プログラム、および、送信プログラム
5日前
株式会社デンソーテン
電子機器、情報処理システム、情報処理方法、およびプログラム
5日前
株式会社デンソーテン
車載機器、表示制御方法、車載システム及び表示制御プログラム
1日前
株式会社デンソーテン
車載音声操作装置、音声操作システム、音声操作方法およびプログラム
15日前
株式会社デンソーテン
情報通知装置、通知パターン設定方法、プログラム及び通知パターン設定システム
5日前
株式会社デンソーテン
ナビゲーション装置、ナビゲーションシステム、ナビゲーション方法およびプログラム
5日前
株式会社デンソーテン
画像検索方法、画像生成方法、画像検索プログラム、画像検索装置および画像検索システム
8日前
株式会社デンソーテン
シェアモビリティの利用料算出方法、利用料算出装置、利用料算出プログラム、シェアモビリティ管理装置、及びシェアモビリティシステム
1日前
個人
回転式カード学習具
1か月前
日本精機株式会社
表示装置
3か月前
日本精機株式会社
表示装置
1か月前
日本精機株式会社
表示装置
9日前
個人
時刻表示機能つき手帳
1か月前
続きを見る
他の特許を見る