TOP
|
特許
|
意匠
|
商標
特許ウォッチ
Twitter
他の特許を見る
公開番号
2025146171
公報種別
公開特許公報(A)
公開日
2025-10-03
出願番号
2024046810
出願日
2024-03-22
発明の名称
シェアモビリティの利用料算出方法、利用料算出装置、利用料算出プログラム、シェアモビリティ管理装置、及びシェアモビリティシステム
出願人
株式会社デンソーテン
代理人
弁理士法人秀和特許事務所
主分類
G06Q
50/43 20240101AFI20250926BHJP(計算;計数)
要約
【課題】返却したシェアモビリティの邪魔度合や回収容易性に応じた適切な利用料金を算出する技術を提供できる。
【解決手段】シェアモビリティの料金算出方法が、ユーザに対して貸し出したシェアモビリティの返却位置を示す返却位置情報を取得し、前記返却位置情報に基づいて、返却されたシェアモビリティの邪魔度合またはシェアモビリティの回収容易性を算出し、前記邪魔度合または前記回収容易性に基づいて、前記シェアモビリティの利用料金を算出する。
【選択図】図1
特許請求の範囲
【請求項1】
ユーザに対して貸し出したシェアモビリティの返却位置を示す返却位置情報を取得し、
前記返却位置情報に基づいて、返却されたシェアモビリティの邪魔度合またはシェアモビリティの回収容易性を算出し、
前記邪魔度合または前記回収容易性に基づいて、前記シェアモビリティの利用料金を算出する利用料算出方法。
続きを表示(約 1,000 文字)
【請求項2】
前記シェアモビリティの貸し出し開始から返却までの走行距離又は利用時間に応じた従量料金に、前記邪魔度合または前記回収容易性に応じた係数を乗じて前記利用料金を算出する請求項1に記載の利用料算出方法。
【請求項3】
前記シェアモビリティの貸し出し開始から返却までの走行距離又は利用時間に応じた従量料金に、前記邪魔度合または前記回収容易性に応じた追加料金を加算して前記利用料金を算出する請求項1に記載の利用料算出方法。
【請求項4】
前記返却位置に置かれた前記シェアモビリティの周囲の状況を検出した状況情報を取得し、
前記状況情報に基づいて前記邪魔度合を算出する請求項1、請求項2、または請求項3に記載の利用料算出方法。
【請求項5】
前記シェアモビリティの回収ルートと前記返却位置との距離を示す回収距離情報に基づいて前記回収容易性を算出する請求項1、請求項2、または請求項3に記載の利用料算出方法。
【請求項6】
シェアモビリティ回収用のポートと前記返却位置との距離を示す回収距離情報に基づいて前記回収容易性を算出する請求項1、請求項2、または請求項3に記載の利用料算出方法。
【請求項7】
前記返却位置が、有料エリア内である場合に、前記利用料金に追加料金を加える請求項1、請求項2、または請求項3に記載の利用料算出方法。
【請求項8】
シェアモビリティ回収用のポート以外の前記返却位置からシェアモビリティが貸し出された場合、前記邪魔度合または前記回収容易性に基づいて割引料金を算出し、前記割引料金を差し引いて利用料金を算出する請求項1、請求項2、または請求項3に記載の利用料算出方法。
【請求項9】
前記ユーザが用いる情報端末に、前記利用料金、前記シェアモビリティの返却が可能なエリア、及び前記シェアモビリティの返却が禁止されているエリアの少なくとも1つを示す情報を通知する請求項1、請求項2、または請求項3に記載の利用料算出方法。
【請求項10】
ユーザに対して貸し出したシェアモビリティの返却位置を示す返却位置情報を取得し、
前記返却位置情報に基づいて、返却されたシェアモビリティの邪魔度合またはシェアモビリティの回収容易性を算出し、
前記邪魔度合または前記回収容易性に基づいて、前記シェアモビリティの利用料金を算出する利用料算出装置。
(【請求項11】以降は省略されています)
発明の詳細な説明
【技術分野】
【0001】
本発明は、シェアモビリティの利用料算出方法、利用料算出装置、利用料算出プログラム、シェアモビリティ管理装置、及びシェアモビリティシステムに関する。
続きを表示(約 1,900 文字)
【背景技術】
【0002】
都心部を中心に、電動キックボードや自転車等のシェアモビリティサービスが、普及してきており、徒歩での移動が距離的に難しい目的地等への移動に利用されている。また、電動キックボードや自転車での移動は、化石燃料を用いる自動車での移動と比べてCO
2
排出量を削減できるため、利用の促進が望まれている。
【0003】
特許文献1では、シェアサイクル利用者が、指定返却場所を厳守する等シェアサイクル事業に貢献したと認められた場合に、シェアサイクル事業者の管理サーバ(ホスト装置)からシェアサイクル利用者の端末装置に電子ポイントを送信付与するシェア・レンタル事業システムが提案されている。
【先行技術文献】
【特許文献】
【0004】
特開2021-149901号公報
【発明の概要】
【発明が解決しようとする課題】
【0005】
シェアモビリティサービスでは、モビリティを置くポートが対象地域内に複数箇所設置され、ユーザが出発地近くのポートでモビリティを借り、目的地近くのポートへ移動してモビリティを返却する。このようにポート間でモビリティを利用する場合、例えばモビリティを返却したポートから目的地までは徒歩で移動することになるので、目的地の近くにポートが無いと徒歩での移動が長くなり、利便性が損なわれてしまう。このため、ポートがシェアモビリティサービスの対象地域において隈なく配置されることが望ましいが、ポートを増やすためには、設置スペースの確保や、設置費用、維持費用等が必要であり、容易に増やせるものではない。そこで、ユーザが、モビリティをポートではない任意の箇所でも返却(以下、乗り捨てとも称す)できるようにすることで、利便性を確保することが考えられる。しかしながら、モビリティをポート以外に乗り捨てるシステムの場合、乗り捨てられたモビリティを回収してポートに再配置する作業(回収作業)を行う手間がかかり、この回収作業の費用をモビリティの利用料金に反映させることになる。この場合シェアモビリティ1をポートに返却するユーザにとっては、利用料金に余計な費用が含まれることになり、利用料金が適切ではないという問題があった。
【0006】
そこで本開示は、ポート以外の場所で返却されたシェアモビリティの邪魔度合や回収容易性に応じた適切な利用料金を算出する技術の提供を目的とする。
【課題を解決するための手段】
【0007】
上記課題を解決するため、本開示の利用料算出方法は、
ユーザに対して貸し出したシェアモビリティの返却位置を示す返却位置情報を取得し、
前記返却位置情報に基づいて、返却されたシェアモビリティの邪魔度合またはシェアモビリティの回収容易性を算出し、
前記邪魔度合または前記回収容易性に基づいて、前記シェアモビリティの利用料金を算出する。
【発明の効果】
【0008】
本開示の技術によれば、ポート以外の場所で返却されたシェアモビリティの邪魔度合や回収容易性に応じた適切な利用料金を算出する技術を提供できる。
【図面の簡単な説明】
【0009】
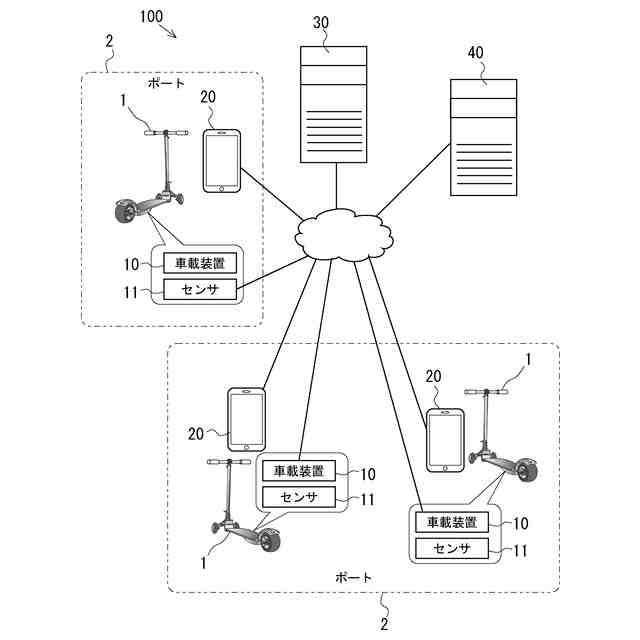
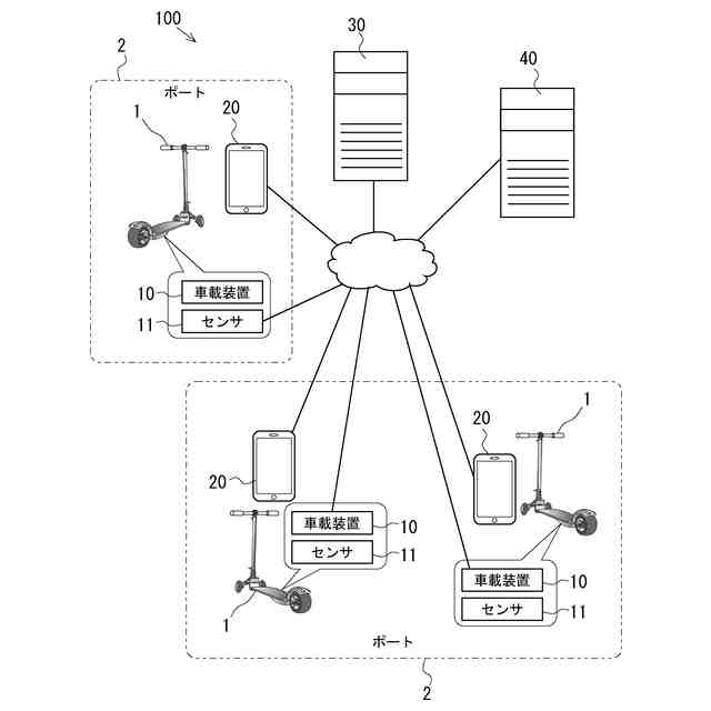
図1は、実施形態に係るシェアモビリティシステムの構成を示す図である。
図2は、シェアモビリティ管理装置が利用料金を算出する例を示す図である。
図3は、サービスの対象地域を複数のメッシュに分割し、各メッシュに邪魔度合及び回収容易性を割り当てた例を示す図である。
図4は、情報処理装置のハードウェア構成を示す図である。
図5は、シェアモビリティシステムにおいて、シェアモビリティ管理装置が実行する処理のフローであって、利用開始時に開始位置情報等を取得するフローを示す図である。
図6は、シェアモビリティシステムにおいて、シェアモビリティ管理装置が実行する処理のフローであって、返却時に返却位置情報を取得し、利用料金を算出する処理のフローである。
図7は、利用料計算に用いられるデータが登録されるデータテーブルの一例を示す図である。
図8は、エリア情報の一例を示す図である。
【発明を実施するための形態】
【0010】
以下に、図面を参照して本開示の実施形態に係る表示装置及び表示装置の展開方法が説明される。なお、各実施形態における各構成及びそれらの組み合わせ等は一例であって、本発明の主旨から逸脱しない範囲内で、適宜、構成の付加、省略、置換、及びその他の変更が可能である。
(【0011】以降は省略されています)
この特許をJ-PlatPat(特許庁公式サイト)で参照する
関連特許
株式会社デンソーテン
車載映像装置
2日前
株式会社デンソーテン
画像処理装置、画像処理プログラムおよび車両
6日前
株式会社デンソーテン
ディスプレイ、表示方法、表示システムおよびプログラム
2日前
株式会社デンソーテン
運転評価システム、情報処理装置および運転評価プログラム
3日前
株式会社デンソーテン
運転評価システム、情報処理装置および運転評価プログラム
3日前
株式会社デンソーテン
車載機器、表示制御方法、車載システム及び表示制御プログラム
2日前
株式会社デンソーテン
シェアモビリティの利用料算出方法、利用料算出装置、利用料算出プログラム、シェアモビリティ管理装置、及びシェアモビリティシステム
2日前
個人
地球保全システム
4日前
個人
フラワーコートA
1か月前
個人
工程設計支援装置
1か月前
個人
冷凍食品輸出支援構造
1か月前
個人
介護情報提供システム
2か月前
個人
為替ポイント伊達夢貯
1か月前
個人
表変換編集支援システム
24日前
個人
携帯情報端末装置
1か月前
個人
結婚相手紹介支援システム
1か月前
個人
知財出願支援AIシステム
1か月前
個人
パスワード管理支援システム
24日前
個人
行動時間管理システム
26日前
個人
AIによる情報の売買の仲介
1か月前
個人
海外支援型農作物活用システム
16日前
個人
AIキャラクター制御システム
24日前
個人
システム及びプログラム
17日前
日本精機株式会社
施工管理システム
1か月前
個人
食品レシピ生成システム
3日前
個人
アンケート支援システム
2か月前
株式会社キーエンス
受発注システム
3日前
個人
パスポートレス入出国システム
1か月前
株式会社キーエンス
受発注システム
3日前
株式会社アジラ
進入判定装置
1か月前
株式会社キーエンス
受発注システム
3日前
大阪瓦斯株式会社
住宅設備機器
1か月前
個人
ジェスチャーパッドのガイド部材
2か月前
個人
音声対話型帳票生成支援システム
24日前
個人
人格進化型対話応答制御システム
24日前
個人
SaaS型勤務調整支援システム
24日前
続きを見る
他の特許を見る