TOP
|
特許
|
意匠
|
商標
特許ウォッチ
Twitter
他の特許を見る
10個以上の画像は省略されています。
公開番号
2025144981
公報種別
公開特許公報(A)
公開日
2025-10-03
出願番号
2024044939
出願日
2024-03-21
発明の名称
イヤーデバイス、イヤーデバイス通知システム、イヤーデバイス通知方法及びプログラム
出願人
カシオ計算機株式会社
代理人
個人
主分類
H04R
25/00 20060101AFI20250926BHJP(電気通信技術)
要約
【課題】イヤーデバイスの耳からの落下を検出することができる。
【解決手段】イヤーデバイス100は、耳に装着されていることを検知する装着検知部150と、ユーザがタッチしたことを検知するタッチ検知部160と、タッチ検知部160でユーザがタッチしたことを検知していないのに、装着検知部150で耳に装着されていないことを検知したら、落下したと判定する、制御部110と、を備える。
【選択図】図2
特許請求の範囲
【請求項1】
耳に装着されていることを検知する装着検知部と、
ユーザがタッチしたことを検知するタッチ検知部と、
前記タッチ検知部で前記ユーザがタッチしたことを検知していないのに、前記装着検知部で耳に装着されていないことを検知したら、落下したと判定する、制御部と、
を備えるイヤーデバイス。
続きを表示(約 1,100 文字)
【請求項2】
もう一方のイヤーデバイスと通信する通信部をさらに備え、
前記制御部は、
落下したと判定したら、前記通信部で前記もう一方のイヤーデバイスに通知する、
請求項1に記載のイヤーデバイス。
【請求項3】
前記制御部は、
落下したと判定したら、音量閾値以上の音量でアラーム音を発生させる、
請求項2に記載のイヤーデバイス。
【請求項4】
前記制御部は、
落下したと判定した後に前記タッチ検知部でタッチを検知したら、前記アラーム音を停止させる、
請求項3に記載のイヤーデバイス。
【請求項5】
前記制御部は、
前記もう一方のイヤーデバイスから通知指示を受信したら、前記装着検知部が装着を検知している場合に、通常音量でアラーム音を発生させる、
請求項2に記載のイヤーデバイス。
【請求項6】
前記通信部は携帯端末とも通信し、
前記制御部は、
前記携帯端末と前記通信部を介してストリーミングモードで接続することで前記携帯端末が再生する音声データを取得することができ、
落下したと判定したら、前記携帯端末と前記ストリーミングモードで接続されているか否かを判定し、
前記ストリーミングモードで接続していると判定したら、前記携帯端末に再生の停止を指示する、
請求項2に記載のイヤーデバイス。
【請求項7】
2つのイヤーデバイスを備え、
前記2つのイヤーデバイスはそれぞれ、
もう一方の前記イヤーデバイスと通信する通信部と、
耳に装着されていることを検知する装着検知部と、
ユーザがタッチしたことを検知するタッチ検知部と、
前記タッチ検知部で前記ユーザがタッチしたことを検知していないのに、前記装着検知部で耳に装着されていないことを検知したら、落下したと判定し、
落下したと判定したら、前記通信部で前記もう一方のイヤーデバイスに通知指示を送信し、
前記もう一方のイヤーデバイスから前記通知指示を受信したらアラーム音を発生させる、
制御部と、
を備える、
イヤーデバイス通知システム。
【請求項8】
制御部が、
タッチ検知部でユーザがタッチしたことを検知していないのに、装着検知部で耳に装着されていないことを検知したら、落下したと判定する、
イヤーデバイス通知方法。
【請求項9】
制御部に、
タッチ検知部でユーザがタッチしたことを検知していないのに、装着検知部で耳に装着されていないことを検知したら、落下したと判定する、
処理を実行させるプログラム。
発明の詳細な説明
【技術分野】
【0001】
本発明は、イヤーデバイス、イヤーデバイス通知システム、イヤーデバイス通知方法及びプログラムに関する。
続きを表示(約 1,400 文字)
【背景技術】
【0002】
ワイヤレスイヤホン、補聴器等のイヤーデバイスは、小型でしかも軽量のため、落としてしまってもユーザは気付かないことがある。この問題に関して、特許文献1には、片耳の補聴器を紛失してしまっても、容易に発見できる補聴補助装置が開示されている。
【先行技術文献】
【特許文献】
【0003】
特開2010-45772号公報
【発明の概要】
【発明が解決しようとする課題】
【0004】
特許文献1に開示されている補聴補助装置では、所定の時間(例えば30秒)以上ハウリングが継続したら、イヤーデバイスが耳に装着されていない(耳から取り外された、又は落下した)と判定する。しかし、ユーザが意図して取り外したのか、意図せず落下したのかを区別することはできない。
【0005】
本発明は、上記実情に鑑みてなされたものであり、イヤーデバイスの耳からの落下を検出することができるイヤーデバイス、イヤーデバイス通知システム、イヤーデバイス通知方法及びプログラムを提供することを目的とする。
【課題を解決するための手段】
【0006】
上記目的を達成するため、本発明に係るイヤーデバイスの一態様は、
耳に装着されていることを検知する装着検知部と、
ユーザがタッチしたことを検知するタッチ検知部と、
前記タッチ検知部で前記ユーザがタッチしたことを検知していないのに、前記装着検知部で耳に装着されていないことを検知したら、落下したと判定する、制御部と、
を備える。
【発明の効果】
【0007】
本発明によれば、イヤーデバイスの耳からの落下を検出することができる。
【図面の簡単な説明】
【0008】
イヤーデバイス通知システムの一例を示す図である。
イヤーデバイスの機能構成の一例を示すブロック図である。
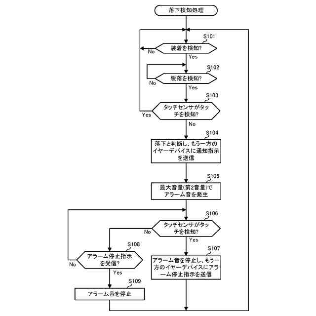
落下検知処理の手順の一例を示すフローチャートである。
通知指示受信処理の手順の一例を示すフローチャートである。
携帯端末を備えるイヤーデバイス通知システムの一例を示す図である。
携帯端末の機能構成の一例を示す図である。
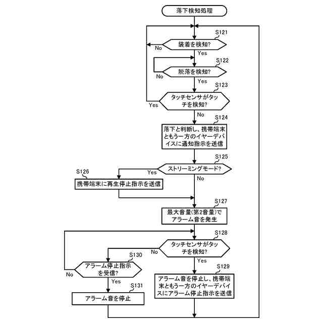
携帯端末を備えるイヤーデバイス通知システムにおける落下検知処理の手順の一例を示すフローチャートである。
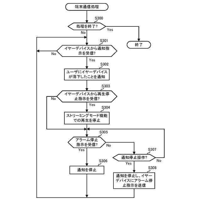
端末通信処理の手順の一例を示すフローチャートである。
イヤーデバイスを1つのみ備えるイヤーデバイス通知システムの一例を示す図である。
【発明を実施するための形態】
【0009】
イヤーデバイス通知システム等について図面を参照して説明する。なお、図中同一又は相当する部分には同一符号を付す。
【0010】
イヤーデバイス通知システム1000は、図1に示すように、ユーザが耳に装着して用いる集音器を含む補聴器である2つのイヤーデバイス100(右耳に装着するイヤーデバイス100Rと左耳に装着するイヤーデバイス100Lとを区別する必要がない場合には、イヤーデバイス100と言う)を備え、これらがBluetooth(登録商標)等の近距離無線通信規格により通信接続して動作する。
(【0011】以降は省略されています)
この特許をJ-PlatPat(特許庁公式サイト)で参照する
関連特許
カシオ計算機株式会社
支持台
1日前
カシオ計算機株式会社
電子鍵盤楽器
1日前
カシオ計算機株式会社
装飾板及び時計
2日前
カシオ計算機株式会社
端末装置及びプログラム
3日前
カシオ計算機株式会社
外装部品ユニット及び時計
1日前
カシオ計算機株式会社
カッターユニット及び切断装置
1日前
カシオ計算機株式会社
演奏装置、方法およびプログラム
2日前
カシオ計算機株式会社
ロボット、及びロボットの製造方法
1日前
カシオ計算機株式会社
情報処理装置、方法およびプログラム
1日前
カシオ計算機株式会社
制御装置、制御方法、及びプログラム
2日前
カシオ計算機株式会社
外装部品、外装部品ユニット及び時計
1日前
カシオ計算機株式会社
プログラム、電子機器及び登録処理方法
1日前
カシオ計算機株式会社
電子機器、登録処理方法及びプログラム
1日前
カシオ計算機株式会社
音声提供装置、音声提供方法及びプログラム
1日前
カシオ計算機株式会社
情報処理装置、プログラム及び情報処理方法
1日前
カシオ計算機株式会社
投影装置、投影装置の調整方法及びプログラム
2日前
カシオ計算機株式会社
投影装置、投影装置の調整方法及びプログラム
2日前
カシオ計算機株式会社
電子楽器、電子楽器の制御方法及びプログラム
1日前
カシオ計算機株式会社
情報処理装置、表示制御方法、及びプログラム
1日前
カシオ計算機株式会社
印刷装置、印刷装置の制御方法及びプログラム
1日前
カシオ計算機株式会社
機器の制御装置、機器の制御方法及びプログラム
1日前
カシオ計算機株式会社
入力文作成装置、入力文作成方法及びプログラム
1日前
カシオ計算機株式会社
画像処理装置、プログラム、及び、画像処理方法
1日前
カシオ計算機株式会社
情報処理装置、電子楽器、方法およびプログラム
2日前
カシオ計算機株式会社
情報処理装置、表示制御方法、及び、プログラム
1日前
カシオ計算機株式会社
通信方法、通信システム、電子機器及びプログラム
1日前
カシオ計算機株式会社
電子機器、認証システム、制御方法及びプログラム
1日前
カシオ計算機株式会社
電子機器、心理的状態変動評価方法及びプログラム
1日前
カシオ計算機株式会社
表示制御プログラム、表示制御方法、及び、情報処理装置
1日前
カシオ計算機株式会社
端末装置、運動評価システム、運動評価方法及びプログラム
1日前
カシオ計算機株式会社
制御装置、投影システム、作業ガイド作成方法及びプログラム
1日前
カシオ計算機株式会社
情報処理装置、情報処理方法、プログラム及び学習支援システム
1日前
カシオ計算機株式会社
情報処理装置、情報処理方法、プログラム及び学習支援システム
1日前
カシオ計算機株式会社
情報処理装置、情報処理方法、プログラム及び学習支援システム
1日前
カシオ計算機株式会社
投影制御装置、投影制御システム、投影制御方法及びプログラム
2日前
カシオ計算機株式会社
ロボット制御装置、ロボット、ロボットの制御方法及びプログラム
1日前
続きを見る
他の特許を見る