TOP
|
特許
|
意匠
|
商標
特許ウォッチ
Twitter
他の特許を見る
10個以上の画像は省略されています。
公開番号
2025145076
公報種別
公開特許公報(A)
公開日
2025-10-03
出願番号
2024045068
出願日
2024-03-21
発明の名称
制御装置、投影システム、作業ガイド作成方法及びプログラム
出願人
カシオ計算機株式会社
代理人
弁理士法人光陽国際特許事務所
主分類
G06F
3/01 20060101AFI20250926BHJP(計算;計数)
要約
【課題】対象物に関する情報を容易に取得できるようにする。
【解決手段】制御装置のCPUは、取得された画像から認識された、対象物及び前記対象物に対する第1指示体の第1指示に基づいて、前記対象物の位置に応じた前記対象物に関する投影画像の投影の指示を行い、前記指示にしたがって投影された前記投影画像を承認することを示す第2指示体の第2指示に基づいて記憶部に前記投影画像に関する情報を記憶させる。
【選択図】図3
特許請求の範囲
【請求項1】
取得された画像から認識された、対象物及び前記対象物に対する第1指示体の第1指示に基づいて、前記対象物の位置に応じた前記対象物に関する投影画像の投影の指示を行い、
前記指示にしたがって投影された前記投影画像を承認することを示す第2指示体の第2指示に基づいて記憶部に前記投影画像に関する情報を記憶させる、
制御部を備える制御装置。
続きを表示(約 1,300 文字)
【請求項2】
前記第1指示体は、前記第2指示体であり、
制御部は、
前記第2指示体の前記第2指示を含む画像から前記第2指示を認識し、
前記第2指示の認識にしたがって前記投影画像に関する情報として前記対象物の位置に対する前記対象物に関する前記投影画像の位置情報を前記記憶部に記憶させる、請求項1に記載の制御装置。
【請求項3】
前記制御部は、
第1指示認識エリアにおいて、前記第1指示を認識可能であるとともに前記第2指示を認識不可能であり、
第2指示認識エリアにおいて、前記第2指示を認識可能であるとともに前記第1指示を認識不可能である、請求項1に記載の制御装置。
【請求項4】
前記制御部は、
画像から、前記第2指示が認識されない場合に、新たに取得された新規画像から認識された新たな第1指示に基づいて、新たな投影画像の投影の指示を、前記第2指示が認識されるまで繰り返す、請求項2に記載の制御装置。
【請求項5】
前記制御部は、
前記対象物に対する工程ごとに、前記第1指示に基づいた前記投影画像の投影の指示及び前記第2指示に基づいた前記投影画像に関する情報の記憶を行う、
請求項1に記載の制御装置。
【請求項6】
前記制御部は、
画像に基づいて、前記第1指示体が前記対象物と重ならない位置で所定時間以上静止していることを認識した場合に投影を指示する投影画像と、前記第1指示体が前記対象物と重なる位置で所定時間以上静止していることを認識した場合に投影を指示する投影画像と、は互いに異なる、請求項1に記載の制御装置。
【請求項7】
前記制御部は、
前記記憶部に前記投影画像に関する情報を記憶させた後に、前記対象物の位置情報に基づいて、さらに、前記対象物に関する説明文を示す投影画像の投影の指示を行う、
請求項1に記載の制御装置。
【請求項8】
請求項1~7のいずれか一項に記載の制御装置と、
投影部と、画像取得部と、
を備える投影システム。
【請求項9】
コンピュータが、
取得された画像から認識された、対象物及び前記対象物に対する指示体の第1指示に基づいて、前記対象物の位置に応じた前記対象物に関する投影画像の投影の指示を行い、
前記指示にしたがって投影された前記投影画像を承認することを示す前記指示体の第2指示に基づいて記憶部に前記投影画像に関する情報を記憶させる、
作業ガイド作成方法。
【請求項10】
コンピュータに、
取得された画像から認識された、対象物及び前記対象物に対する指示体の第1指示に基づいて、前記対象物の位置に応じた前記対象物に関する投影画像の投影を指示させ、
前記指示にしたがって投影された前記投影画像を承認することを示す前記指示体の第2指示に基づいて記憶部に前記投影画像に関する情報を記憶させる、
処理を実行させるためのプログラム。
発明の詳細な説明
【技術分野】
【0001】
本発明は、制御装置、投影システム、作業ガイド作成方法及びプログラムに関する。
続きを表示(約 1,500 文字)
【背景技術】
【0002】
従来、作業対象物に合わせた作業手順を示す投影用コンテンツをPC(Personal Computer)などで作成し、それをプロジェクタに映像入力したものを製造現場での作業ガイドとして投影している。
【0003】
一方、物理的ドキュメントの所定箇所に対するユーザ・インタラクションをカメラで検出し、所定箇所へのユーザ・インタラクションに対応する投影光を物理的ドキュメントに対して視覚的なフィードバックとして投影したり、所定箇所へのユーザ・インタラクションをデジタルドキュメントにマッピングしたりする技術がある(例えば、特許文献1参照)。
【先行技術文献】
【特許文献】
【0004】
特開2012-43400号公報
【発明の概要】
【発明が解決しようとする課題】
【0005】
製造現場で作業ガイドを投影するために、作業対象物に合わせて作業手順を示す投影用コンテンツをPCなどで作成することは手間がかかる。そのため、作業対象物に対する作業ガイド等の投影に必要な、対象物に関する情報を容易に取得できる技術が望まれる。特許文献1には、物理的ドキュメントの所定箇所へのユーザ・インタラクションをデジタルドキュメントにマッピングすることが記載されているが、対象物に関する情報を取得することはできない。
【0006】
本発明の課題は、対象物に関する情報を容易に取得できるようにすることである。
【課題を解決するための手段】
【0007】
上記課題を解決するため、本発明に係る制御装置は、取得された画像から認識された、対象物及び前記対象物に対する第1指示体の第1指示に基づいて、前記対象物の位置に応じた前記対象物に関する投影画像の投影の指示を行い、前記指示にしたがって投影された前記投影画像を承認することを示す第2指示体の第2指示に基づいて記憶部に前記投影画像に関する情報を記憶させる、制御部を備える。
【発明の効果】
【0008】
本発明によれば、対象物に関する情報を容易に取得できる。
【図面の簡単な説明】
【0009】
投影システムの全体構成例を示す模式図である。
投影システムの機能構成を示すブロック図である。
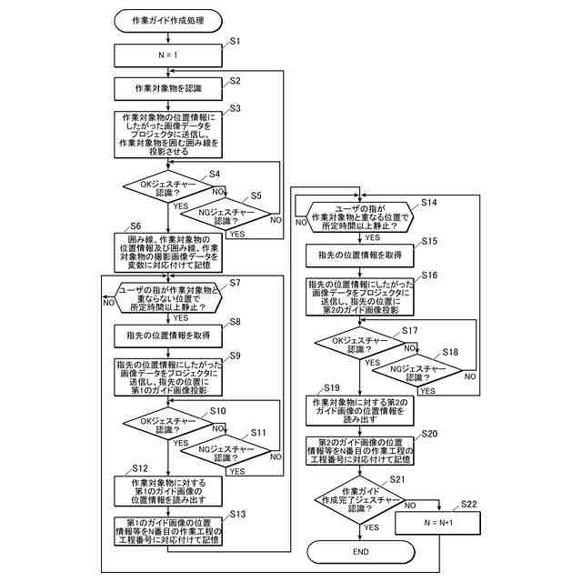
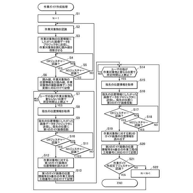
制御装置のCPUにより実行される作業ガイド作成処理の流れを示すフローチャートである。
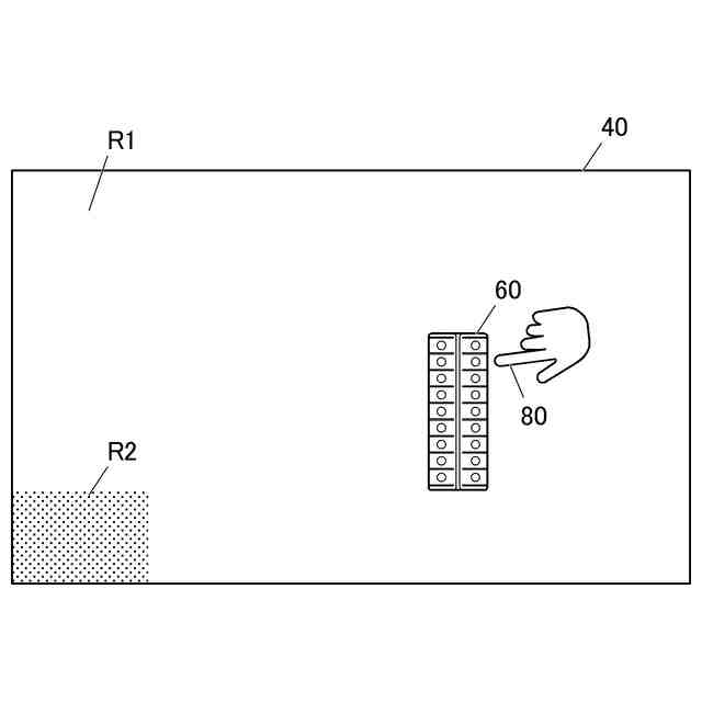
ユーザの指が作業対象物を指し示す様子を示す図である。
作業対象物を囲む囲み線が投影された様子を示す図である。
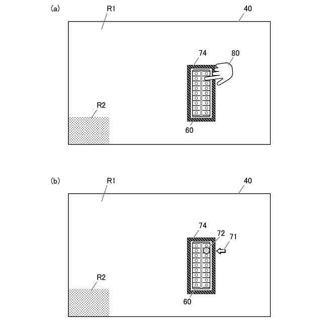
(a)は、ユーザの指が作業箇所を作業対象物に重ならない位置で指し示す様子を示す図、(b)は、ユーザの指の位置に第1のガイド画像を投影した様子を示す図である。
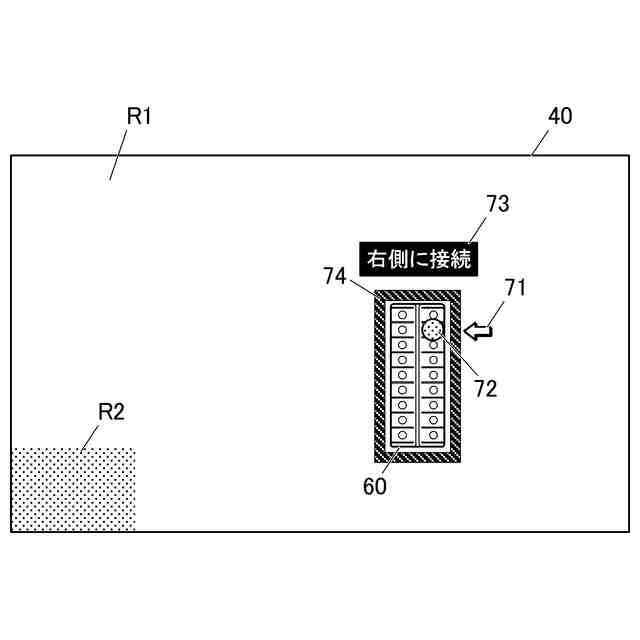
(a)は、ユーザの指が作業箇所を作業対象物に重なる位置で指し示す様子を示す図、(b)は、ユーザの指の位置に第2のガイド画像を投影した様子を示す図である。
制御装置のCPUにより実行される作業ガイド投影成処理の流れを示すフローチャートである。
作業ガイドが投影された様子を示す図である。
【発明を実施するための形態】
【0010】
以下に、本発明を実施するための形態について、図面を用いて説明する。但し、以下に述べる実施形態には、本発明を実施するために技術的に好ましい種々の限定が付されている。そのため、本発明の技術的範囲を以下の実施形態及び図示例に限定するものではない。
(【0011】以降は省略されています)
この特許をJ-PlatPat(特許庁公式サイト)で参照する
関連特許
個人
裁判のAI化
2か月前
個人
工程設計支援装置
1か月前
個人
フラワーコートA
1か月前
個人
地球保全システム
3日前
個人
情報処理システム
2か月前
個人
検査システム
2か月前
個人
介護情報提供システム
2か月前
個人
為替ポイント伊達夢貯
1か月前
個人
冷凍食品輸出支援構造
1か月前
個人
設計支援システム
2か月前
個人
表変換編集支援システム
23日前
個人
設計支援システム
2か月前
個人
携帯情報端末装置
1か月前
個人
結婚相手紹介支援システム
1か月前
株式会社サタケ
籾摺・調製設備
2か月前
個人
不動産売買システム
3か月前
キヤノン電子株式会社
携帯装置
2か月前
個人
知財出願支援AIシステム
1か月前
株式会社カクシン
支援装置
2か月前
個人
AIによる情報の売買の仲介
1か月前
個人
パスワード管理支援システム
23日前
個人
行動時間管理システム
25日前
株式会社アジラ
進入判定装置
1か月前
個人
食品レシピ生成システム
2日前
株式会社キーエンス
受発注システム
2日前
株式会社キーエンス
受発注システム
2日前
日本精機株式会社
施工管理システム
1か月前
個人
AIキャラクター制御システム
23日前
株式会社キーエンス
受発注システム
2日前
個人
アンケート支援システム
2か月前
個人
備蓄品の管理方法
2か月前
個人
海外支援型農作物活用システム
15日前
個人
パスポートレス入出国システム
1か月前
個人
システム及びプログラム
16日前
サクサ株式会社
中継装置
2か月前
個人
人格進化型対話応答制御システム
23日前
続きを見る
他の特許を見る